Потрошитель экскаватора поставки фабрики с зубом OEM

Введение потрошителя экскаватора
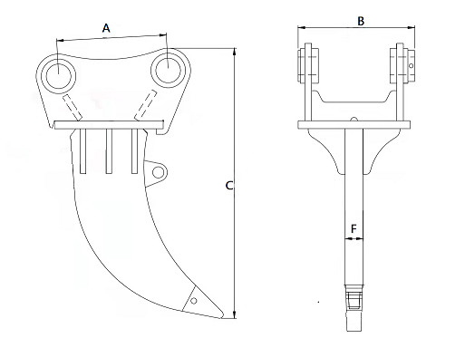
Монолитно брошенный зуб потрошителя с отверстиями уха на верхней части прикреплен на петлях к цилиндру поршня насоса и ведра соответственно. Начало подсказки зуба имеет крышку зуба торцовки твердого сплава.
Параметр потрошителя экскаватора
Техническая характеристика изделия: смогите произвести потрошитель экскаватора для несущей 0.8-60 тонн, веса потрошителя экскаватора
| Модельное описание | CTHBR06 | CTHBR08 | CTHBR10 | CTHBR17 | CTHBR20 | CTHBR |
|
Pin к расстоянию Pin (mm) |
390 | 465 | 515 | 550 | 575 |
OEM ODM |
|
Общая длина (mm) |
540 | 665 | 735 | 800 | 825 |
OEM ODM |
|
Общая ширина (mm) |
890 | 1245 | 1370 | 1530 | 1550 |
OEM ODM |
|
Диаметр Pin (mm) |
55-65 | 70-80 | 80-90 | 90-100 | 100-120 |
OEM ODM |
|
Полный вес (kg) |
120-150 | 210-250 | 350-410 | 520-600 | 650-750 |
OEM ODM |
|
Соответствующий экскаватор (тонна) |
11-15 | 16-23 | 23-30 | 31-40 | 41-50 |
OEM ODM |
* параметр выше может изменить с улучшением технологии, не заметит дополнительно, пожалуйста понимает.
Применение потрошителя утеса

Особенности потрошителя экскаватора
