Процессор IMMFP12 ABB многофункциональный
Нажмите здесь ⇒ для хорошей цены IMMFP12
| Бренд/изготовитель | ABB/SWEDEN |
| Номер детали |
IMMFP12 |
| Другой номер детали | IMMFP12 |
| Описание | Многофункциональный процессор |
| Dimennsions |
7.2x25x14.4cm |
| Вес | 1.25kg |
Свяжитесь мы
Электронная почта: miya@mvme.cn (ЩЕЛЧОК)
QQ: 2851195450
Телефон: 86-18020776792(ЩЕЛЧОК)
Skype: miyazheng520 (ЩЕЛЧОК)
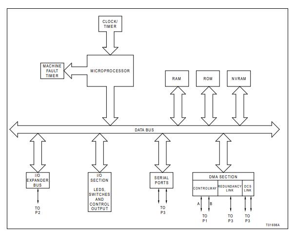
Детали продукта
●Высокоскоростная связь дублирования.
●Порт серийной связи для поддержки станции.
●2 общецелевых серийных канала.
●Сразу сети доступа к памяти.
●512 килобайта оперативной памяти.
●256 килобайтов памяти NVRAM.

Наши преимущества
1) TRICONEX (3008,3625,3805E.3721, 3700A 4351B…)
2) ИЗОГНУТО НЕВАДА (3500/42M, 3500/22M, 3500/95.3500/05…)
3) ОН A (F3330, F3236, F6217, F7126, F8621A….)
4) FOXBORO (FBM203, FBM204, FBM217, FMB231…)
5) Аллан-Брэдли (1756,1785,1771,1746,1769.)
6) ABB (DSQC .....)
7) GE (IC693, IC697, IC695, IS200, DS200)
8) BACHMANN (CM202, DI232, MPC240, NT255, AIO288…)
9) ICS (T8403, T8431…)
Больше продуктов
|