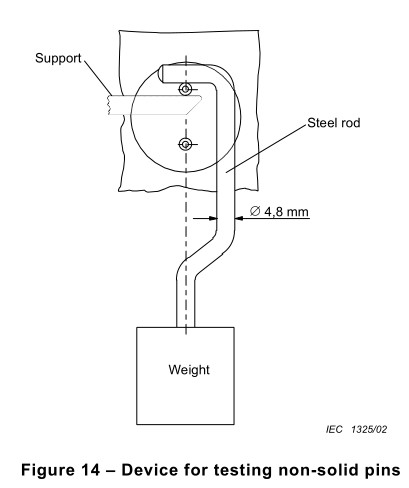
Прибор испытательного оборудования гнезда штепсельной вилки для испытывать Не-твердые штыри на IEC60884-1 диаграмма 14 с весом 100N
Стандарт:
Штепсельные вилки и гнезд-выходы IEC 60884-1 „для домочадца и подобных целей – части 1: Статья 14,2 общих требований“, диаграмма 14
Применение:
Штыри портативных аксессуаров будут иметь адекватную механическую прочность. Этот прибор польза испытать механическую прочность штырей портативных аксессуаров. Испытательное оборудование гнезда штепсельной вилки
Образец теста:
Не-твердые штыри
Особенность:
Сила 100 n приложена на штыре, который поддержан как показано в диаграмме 14, на 1 минута в перпендикуляре направления к оси штыря, посредством стальной штанги имея диаметр 4,8 mm, ось чего также перпендикулярный к оси штыря.

Параметры:
| Стальная штанга | Φ4.8mm |
| Вес | 100N |
| Деятельность | Руководство поворачивая колесо так как болтовое давление штыря |
| Время теста | 1 MIN. |
| Стандарт | IEC60884-1, испытательное оборудование гнезда штепсельной вилки |