Описание
Аэропорт GS-HP/EYD передвижной освещает основную раковину принимает материал сплава алюминия авиации, могущие понадобиться в течение длительного времени в жесткой морской окружающей среде.
Источник света LLED совмещенный с предварительным дизайном оптически объектива, и светящий угол соответствуют стандартам FAA и CAAC.
Оно может указать границы для взлетно-посадочных дорожек, taxiways, и вертодромов аэропорта, и может отправить вне всенаправленные светлые сигналы вечером или в течение дня с плохой видимостью ясно показать соответствуя положение аэропорта.
Соответствующее для аварийных аэропортов спасения, временных аэропортов боевой готовности, и светов аэропорта резервных. Резервные света можно быстро активировать через дистанционное управление после того как объекты силы аэропорта повреждены.
Функция & особенности
Спецификация
| Имя | Параметр |
| Модель | GS-HP/EYD |
| Электропитание | Внешнее перезаряжаемые |
| Напряжение тока батареи | 12.8V |
| Емкость батареи | 14AH |
| Тип батареи | тип Анти--взрыва батарея лития ранга троичная |
| Время работы от батарей | 3~5 лет |
| Потребление средней мощности | ≤1W |
| Беспроводное расстояние контроля | Самое лучшее расстояние 5~10KM, с репитером 10~20KM |
| Работая режим | Устойчив-гореть |
| Испущенный цвет | Регулируемый цвет зеленый, белый, желтый или можно подгонять |
| Горизонтальный угол пучка | 360° |
| Затемнять уровень | Исполните с военным стандартом |
| Срок службы источника света | леты ≥20 |
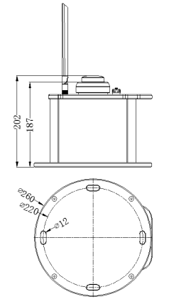
| Общий размер | ¢260mm (d) ×202m (h) |
| Размер установки | ¢220mm×M10 |
| Предохранение от IP | Светлое IP67, удаленное IP67 |
| Температура окружающей среды | -50℃~60℃ |
| Вес | 7.4KG |
| Влажность | <95% |
| Высота | <4500M |
| Стандарт | Исполните к дополнению 14 ICAO, AC 150/5345-46B FAA |
Светящая интенсивность
| Пограничные аэродромные огни вертодрома | ||
| Цвет | Интенсивность света центра максимальная (CD) | Рабочие часы в дождливых днях (h) |
| Белый | ≥50 | ≥60h |
| Зеленый цвет | ≥25 | ≥130h |
| Желтый цвет | ≥25 | ≥75h |
Чертеж размера

Применение
Класс I, II, III аэропорты, различные общие аэропорты авиации, аэропорты боевой готовности, вертодром

Извещение об использования
Не используйте любые из номинального напряжения, или разрушит оборудование.
Не раскройте его если прибор из деятельности, то быть ушибленным внутренним высоким давлением.
После того как закончил установку, персонал должен проверить ли прибор в хорошей водоустойчивой обработке и затягиваны ли шипы винта.
Непрофессиональные работники не могут сделать обслуживание прибора, для того чтобы расширить ошибку и быть ушиблены.