ISO 9360-1 наркозных и дыхательных оборудований – обменники жары и влаги (HMEs) для humidifying respired газы внутри
люди – часть 1: HMEs для пользы с минимальными приливными томами 250 ml
Измерение потери влаги HME
6,2 измерение потери влаги
6.2.1 принцип
Характеристика рабочое HME будет измерено путем записывать массу воды потеряло от прибора теста определенную в 6.2.2.
6.2.2 прибор теста
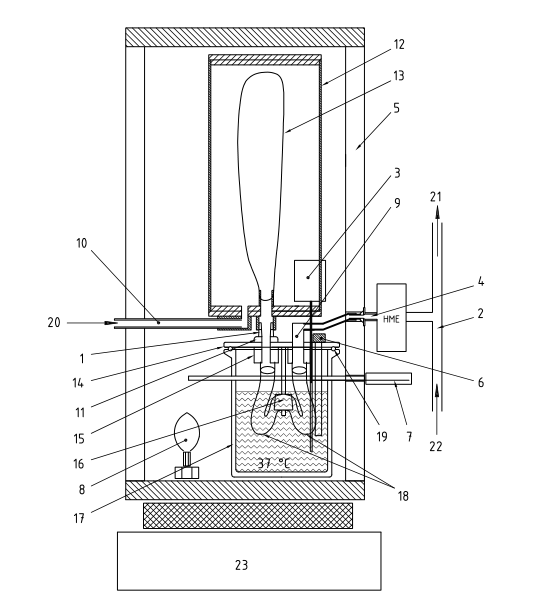
Прибор теста (диаграмма 1) будет состоять из следующих компонентов.
Генератор двухнаправленной подачи 6.2.2.1.
Это управляемый механически поршень используемый для произведения подачи имея синусоидальную форму волны.
Генератор влажности 6.2.2.2 (HG), состоя из
) нагретая вода - ванна (диаграмма 2) до которая воздух клокотать в обоих направлениях;
b) твердый цилиндрический резервуар (диаграмма 3) с максимальным объемом 7 l и диаметра приблизительно 1 50 mm, содержа 2 l сумку резервуара;
c) термально изолированная камера (диаграмма 4), которая содержит воду - ванну, резервуар и тепловой источник.
Средство доставки воздуха 6.2.2.3 (диаграмма 5), состоя из T-части с внутренним диаметром большим чем 1 5 mm, и трубки вытыхания по крайней мере 200 mm в длине.
Оборудование 6.2.2.4 веся, с точностью ±0,1 g или лучше в границах массы, который нужно измерить.
Измерительное оборудование скорости течения 6.2.2.5, с точностью по крайней мере 5% из чтения.
Тарировка HME 6.2.2.6 (диаграмма 6) состоя из снабжения жилищем содержа 81 аранжированную трубку поливинилового хлорида (PVC) в 9 * 9 массиве, каждое с внутренним диаметром 2 mm, внешним диаметром 4 mm, и длиной 50 mm.
Когда прибор будет построен и будет управля как замечено в 6.2.2, потеря влаги от генератора влажности с тарировкой HME будет как показано в таблице 3.
Ключ
Один против одного 9 видят дополнение a
Вход генератора 20 Sinewave
Выход воздуха 21
Сухая подача воздуха 22 (±1) °C 23, < 1 mg h 2 o в воздух литра
Веся оборудование 23
Диаграмма 1 — Взгляд со стороны прибора теста



6.2.3 условия испытаний
6.2.3.1 воздух поставленный к порту машины HME средством доставки воздуха будет на температуре 23±1℃ и имеет влажность не превышая 1 mg.l -1
6.2.3.2 HME будет испытано на тех условиях определенных в таблице 2 которые внутри ряд определенный для HME изготовителем, на максимальном приливном томе порекомендованном изготовителем если это значение больше чем 1 l, на частоте 1 0 breaths.min -1, и я:, тоКоэффициент e 1: 1.
6.2.4 процедура
6.2.4.1 соединяет HG с генератором двухнаправленной подачи.
6.2.4.2 регулирует генератор двухнаправленной подачи для того чтобы дать одно из условий испытаний в таблице 2, измеренный на порте машины HME, внутри рабочий диапазон HME как определено изготовителем. Отрегулируйте скорость течения воздуха поставленную средством доставки воздуха для того чтобы находиться между >1 и <1>
6.2.4.3 приводится в действие прибор теста с HME такого же типа который быть испытанным для минимум 1 h, с водой - ванной на температуре 37 ±0.5℃, и воздух внутри изолированная камера на температуре 37 ±1℃. Поддерживайте эту температуру для продолжительности методики проверки.
6.2.4.4 подтверждает что том воздуха выходя порт машины HME это необходим для условия испытаний выбранного от таблицы 2.
6.2.4.5 записывает массу HG только (т.е. не включая HME) (m 0).
6.2.4.6 заменяет HME на одно, который нужно испытать и для того чтобы привестись в действие прибор теста для (60? 5) MIN.
6.2.4.7 записывает массу HG только (т.е. не включая HME) (m 1).
6.2.4.8 продолжается привестись в действие прибор теста до максимального времени пользы порекомендованного
изготовитель.
6.2.4.9 записывает массу HG только (т.е. не включая HME) (m 2).
6.2.4.10 подтверждает что том воздуха выходя порт машины HME это необходим для условия испытаний выбранного от таблицы 2.

6.2.4.11 высчитывает потерю влаги HME на первый час, m 1, используя формулу
M 1 = (m 0 - m 1) /V 1
где
m 0 начальная масса HG;
m 1 масса HG после 1 h;
V 1 полный том воздуха выходя порт машины HME во время первого часа теста.
6.2.4.12 высчитывает потерю влаги HME для всей продолжительности, m максимального, используя формулу
M максимальный = (m 0 - m 2) /V 2
где
m 0 начальная масса HG;
m 2 масса HG после максимального времени пользы как порекомендовано изготовителем;
V 2 полный том воздуха выходя порт машины HME во время всего периода теста.
6.2.4.13 повторяет процедуры в 6.2.4.2 к 6.2.4.1 2 для всех условий испытаний уступанных таблица 2 которые внутри
рабочий диапазон HME как определено изготовителем.
Когда прибор был построен и управля как замечено в 6.2.4, потеря влаги от прикрепленного генератора влажности с тарировкой HME должна быть как показано в таблице 3. Это будет подтвержено для специфического прибора теста путем подготовлять прибор теста для по крайней мере 2 h (см. 6.2.4.3), и после этого работать прибор теста на период 2 h с тарировкой HME, и измерять массовую потерю над этим периодом (все массовые измерения будут сделаны без HME прикрепленного в прибор теста).
