Спецификации
Номер модели :
Коробка 1500мм*440мм
Место происхождения :
Город КИндао, Китай
Количество минимального заказа :
1 комплект
Термины компенсации :
Западное соединение, L/C, T/T
Способность поставкы :
50 комплектов в месяц
Срок поставки :
3-4 недели
Упаковывая детали :
Курсируйте пакет деревянной коробки для корабля или авиационного груза
имя :
Оборудование конвейерной ленты горячего соединения вулканизируя
Творение давления :
Тип сумки давления
охлаждать :
Труба меди платен топления строени-в в быстрой воде или водяном охлаждении
Метод нагрева :
Нагревающий элемент силикона гибкий электрическим
Вилка :
HARTING
Косой угол :
78 градусов
Размер Платен топления :
900×1420мм
Нагревающий элемент :
Гибкий силикон, светлая модель
власть :
8 kw
Напряжение :
525 участок вольта 3
Максимальное давление :
1,4 Мпа
Контрольный монитор :
автоматический распределительный ящик
Лечить темературе :
145 градусов
Нагревать вверх время :
минута 20
Описание

пресса системы транспортера 48 дюймов vu'l'ca'ni'zing для на месте горячего соединения к конвейерной ленте обслуживания

Вулканизатор конвейерной ленты 48 дюймов/оборудование конвейерной ленты горячего соединения вулканизируя от машинного оборудования батиста пресса самого классического тяжеловесного пояса мира секционная вулканизируя. Различенный правомочностями ядра технологии батиста, пресса конструирована и собрана со следующими компонентами:

 

(Ⅰ) Особенность машины:

 

Высокопрочные лучи алюминиевого сплава

Гибкий батист «система давления сумки давления» резины равномерная

Особенная конструированная система охлаждения строени-в platens

Электронный насос сокращает временя восхода давления

Platens могут быть прямоугольны или параллелограмм и могут быть соединены с другими platens для масштабируемости

 

(Ⅱ) Спецификация машины:

 

1. Multi напряжение тока: 220V 380V 415V 525V 660V 50HZ/60HZ

2. Быстрый прибор водяного охлаждения: Средние 15 минут (от ℃ 145 вниз к ℃ 70 или даже низкий)

3. Время разогрева: от комнатной температуры к температуре вулканизования отсутствие больше чем 25 минут

4. Разница в температуры поверхности плиты топления: ℃ ± 2,5

5. Ряд регулировки температуры: 0 | ℃ 200 (таможня)

 

(III) спецификации машины пояса бренда батиста совместной вулканизируя:

 

Вулканизатор конвейерной ленты 48 дюймов/оборудование конвейерной ленты горячего соединения вулканизируя

 

 

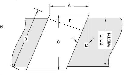
A=length platen вдоль пояса

B=width platen через пояс на смещении

Размер C= прямоугольный через пояс, плюс перекрытие края.

Угол D=Bias (..... ect 0°/18°/20°/22°)

Длина соединения E=Max

 

Спецификации машины пояса серии ZLJ совместной вулканизируя Степень D=22
Модель
Номер
Максимальная ширина пояса (mm)

Максимальная длина соединения
Ширина

E (mm)

Размеры прессы Сила
(kw)
Вес (kg)
(Mm) C (mm) B (mm) Внешний размер (LxWxH) (mm)
ZLJ-650 650 500 535 790 870 1080x730x630 6,1 280
650 670 707 790 870 1080x900x630 8,2 300
650 750 790 790 870 1080x980x630 9,1 320
650 830 872 790 870 1080x1050x630 10,1 380
650 1000 1045 790 870 1080x1220x630 12,2 410
ZLJ-1000 1000 500 535 1140 1220 1480x730x630 8,5 420
1000 670 707 1140 1220 1480x900x630 11,4 500
1000 750 790 1140 1220 1480x980x630 12,8 520
1000 830 872 1140 1220 1480x1050x630 14,2 550
1000 1000 1045 1140 1220 1480x1220x630 17,1 590
ZLJ-1200 1200 500 535 1340 1420 1680x730x630 9,9 510
1200 670 707 1340 1420 1680x900x630 13,3 550
1200 750 790 1340 1420 1680x980x630 14,9 590
1200 830 872 1340 1420 1680x1050x630 16,5 610
1200 1000 1045 1340 1420 1680x1220x630 19,1 650
ZLJ-1400 1400 500 535 1540 1620 1880x730x730 11,3 690
1400 670 707 1540 1620 1880x900x730 15,2 720
1400 750 790 1540 1620 1880x980x730 17,0 750
1400 830 872 1540 1620 1880x1050x730 18,8 780
1400 1000 1045 1540 1620 1880x1220x730 22,7 850
ZLJ-1600 1600 500 535 1740 1820 2080x730x730 12,7 830
1600 670 707 1740 1820 2080x900x730 17,1 880
1600 750 790 1740 1820 2080x980x730 19,1 920
1600 830 872 1740 1820 2080x1050x730 21,2 940
1600 1000 1045 1740 1820 2080x1220x730 25,5 1010
ZLJ-1800 1800 500 535 1940 2020 2280x730x730 14,1 880
1800 670 707 1940 2020 2280x900x730 19,0 920
1800 750 790 1940 2020 2280x980x730 21,2 950
1800 830 872 1940 2020 2280x1050x730 23,5 1050
1800 1000 1045 1940 2020 2280x1220x730 28,3 1150
ZLJ-2000 2000 500 535 2140 2220 2480x730x820 15,5 920
2000 670 707 2140 2220 2480x900x820 20,8 1060
2000 750 790 2140 2220 2480x980x820 23,3 1130
2000 830 872 2140 2220 2480x1050x820 25,8 1240
2000 1000 1045 2140 2220 2480x1220x820 31,1 1370
ZLJ-2200 2200 500 535 2340 2420 2680x730x820 16,9 1020
2200 670 707 2340 2420 2680x900x820 22,7 1190
2200 750 790 2340 2420 2680x980x820 25,4 1310
2200 830 872 2340 2420 2680x1050x820 28,1 1460
2200 1000 1045 2340 2420 2680x1220x820 33,9 1590

 

 

(iv) проверка качества:

 

1. 12 месяца гарантии для машины whoke и запасных частей.

2. Используя части вычуры качественные.

3. Демонстрация бежать вулканизатор перед доставкой, для того чтобы узнать любой потенциальный недостаток.

 

Наше обслуживание:

 

1. Быстрый ответ, для любого из вашего дознания, мы ответим вы в течение 24 часов.

2. Наш хорошо-tranied коллеж обеспечивает продажи и обслуживания после-продажи которые могут поговорить по-английски и обсудить с вами используя ваш местный язык.

3. Мы имеем богатый опыт в этом firld горячего соединения резинового пояса, и сделать НИОКР для работы для вас.

4. Нормальную модель можно произвести не позднее день 10. Наиболее быстро чем всегда.

 

 

 

(V) примечание:

Перед заказом места одного, пожалуйста подтвердите

 

Ширина конвейерной ленты;

Длина соединения;

Косой угол;

Давление вулканизования.

Напряжение тока

Отправьте сообщение этому поставщику
Отправляй сейчас

Вулканизатор конвейерной ленты 48 дюймов/оборудование конвейерной ленты горячего соединения вулканизируя

Спросите последнюю цену
Номер модели :
Коробка 1500мм*440мм
Место происхождения :
Город КИндао, Китай
Количество минимального заказа :
1 комплект
Термины компенсации :
Западное соединение, L/C, T/T
Способность поставкы :
50 комплектов в месяц
Срок поставки :
3-4 недели
Контактный поставщик
Вулканизатор конвейерной ленты 48 дюймов/оборудование конвейерной ленты горячего соединения вулканизируя
Вулканизатор конвейерной ленты 48 дюймов/оборудование конвейерной ленты горячего соединения вулканизируя

Qingdao Leno Industry Co.,Ltd

Verified Supplier
8 Годы
shandong, qingdao
С тех пор 2007
Вид деятельности :
Manufacturer, Trading Компания
Общее годовое :
5000000-10000000
Количество работников :
>100
Уровень сертификации :
Verified Supplier
Узнайте о аналогичных продуктах
Смотрите больше
Контактный поставщик
Требование о предоставлении