180 кабель AWG 26 Cat3 Cat5 32 пар сборки кабеля степени IDC
50 мужчина 64 Pin/женских к женскому/мужскому кабельному соединителю Telco RJ21, кабелю PBX Telco 32 пар 25 пар Cat3 с соединителем чемпиона AMP TYCO
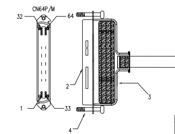
Тип 1: AWG 24 или 32 пар кабель 26 обе стороны собранной с 32 пар 64 соединителя штепсельной вилки мужчины IDC штыря
1) Соединитель штепсельной вилки мужчины IDC штыря 32 пар 64 крышка 180 градусов пластиковая
2) Собранный кабель AWG 26 32 пар
3) 2 стороны с соединителем
4) Длина кабеля: зависите по запросу

Тип 2: Кабель 26 AWG 24 25 пар обе стороны собрали с соединителями штепсельной вилки мужчины IDC 25 пар 50pin
1) Соединитель штепсельной вилки мужчины IDC штыря 25 пар 50 крышка 180 градусов пластиковая
2) Собранный кабель AWG 26 25 пар
3) сторона 2 с соединителем
4) Длина кабеля: зависите по запросу

Тип 3: сторона кабеля одного AWG 24 или 26 32 пар собрала со стороной соединителя одного штепсельной вилки мужчины IDC штыря 24 пар 50 открытой
1) Соединитель штепсельной вилки мужчины IDC штыря 32 пар 64 крышка 180 градусов пластиковая
2) Собранный AWG 24 или 32 пар кабель 26
3) одна сторона с соединителем, одной бортовой раскрывает
4) Длина кабеля: зависите по запросу
Список провода
| Pin | Цвет провода | Линия | Pin | Цвет провода | Линия | Pin | Цвет провода | Линия | Pin | Цвет провода | Линия | |||
| 1 | Белый | 1 | 11 | Черный | 11 | 17 | Белый | 17 | 27 | Черный | 27 | |||
| 33 | Синь | 43 | Синь | 49 | Синь | 59 | Синь | |||||||
| 2 | Белый | 2 | 12 | Черный | 12 | 18 | Белый | 18 | 28 | Черный | 28 | |||
| 34 | Апельсин | 44 | Апельсин | 50 | Апельсин | 60 | Апельсин | |||||||
| 3 | Белый | 3 | 13 | Черный | 13 | 19 | Белый | 19 | 29 | Черный | 29 | |||
| 35 | Зеленый цвет | 45 | Зеленый цвет | 51 | Зеленый цвет | 61 | Зеленый цвет | |||||||
| 4 | Белый | 4 | 14 | Черный | 14 | 20 | Белый | 20 | 30 | Черный | 30 | |||
| 36 | Браун | 46 | Браун | 52 | Браун | 62 | Браун | |||||||
| 5 | Белый | 5 | 15 | Черный | 15 | 21 | Белый | 21 | 31 | Черный | 31 | |||
| 37 | Серый цвет | 47 | Серый цвет | 53 | Серый цвет | 63 | Серый цвет | |||||||
| 6 | Красный | 6 | 16 | Желтый цвет | 16 | 22 | Красный | 22 | 32 | Желтый цвет | 32 | |||
| 38 | Синь | 48 | Синь | 54 | Синь | 64 | Синь | |||||||
| 7 | Красный | 7 | 23 | Красный | 23 | |||||||||
| 39 | Апельсин | 55 | Апельсин | |||||||||||
| 8 | Красный | 8 | 24 | Красный | 24 | |||||||||
| 40 | Зеленый цвет | 56 | Зеленый цвет | |||||||||||
| 9 | Красный | 9 | 25 | Красный | 25 | |||||||||
| 41 | Браун | 57 | Браун | |||||||||||
| 10 | Красный | 10 | 26 | Красный | 26 | |||||||||
| 42 | Серый цвет | 58 | Серый цвет |
|
Соединитель с собранным Cable.pdf