Санитарная нержавеющая сталь и закаленное стеклянный четырехпроводной не-удерживание угла стекла видимости нул мертвое
Быстрая деталь
Отсутствие стекла видимости удерживания четырехпроводного
Размер: DN25-DN100,1» - 4"
Набивка: EPDM, NBR, FPM
Давление деятельности: 10Bar
Спецификация
| Название продукта: | Стекло видимости Hygenic четырехпроводное | 
| Материал тела клапана: | SS304/SS316L/1.4301/1.4404 | 
| Материал уплотнения: | EPDM, NBR, FPM | 
| Стекло видимости: | закаленное стекло | 
| Max.temperature: | -10 до 150 градусов | 
| Батарея: | перезаряжаемые батарея (батарея 220V для 18650); смогите использовать освещение электропитания AC220V/110V. | 
| Доступное соединение: | Струбцина, поток, сварка, DIN, SMS, IDF | 
| Доступный стандарт: | DIN, SMS, 3A, ISO | 
| Сертификат: | 3A/54-02 (1580), PED/97/23/EC, FDA.177.2600, ISO9001/2008 | 
| Объем применения: | Молокозавод, еда, напиток, фармация, косметика, etc | 
| Структура: | Четырехпроводное санитарное стекло видимости | 
| Сила: | Сила кабеля или беспроводная сила опционные | 
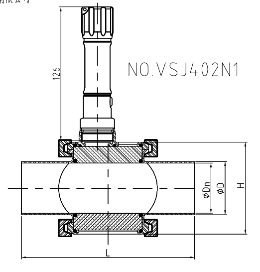
Чертеж




Применение
Не видимост-стекло удерживания четырехпроводное не состоится из железного каркаса и стекла нержавеющей стали. Через его, оператор может наблюдать пропускать жидкостного вещества ясно и точно в полях индустрий потока, косметических, фармацевтических и точных химикатов
Техническая особенность
Полностью доступный размер можно установить на оборудование через струбцины
Отсутствие удерживания, нул мертвых углов, высокого света, белого холодного источника света, водоустойчивый, взрывозащищенного. AC 110V/220V электропитания кабеля, электропитание DC24V беспроводное, одно поручая можно использовать на 2-3 месяца (в зависимости от частоты использования)
Тип перезаряжаемые батареи, тип кабеля с раковиной нержавеющей стали, DC соединения 24V
Дисплей продукта
