2" соединение ЭМТ, тип сецкрев соединения ЭМТ, заливка формы цинка
соединения сецкрев плашк-бросания цинка электрические использованы в сухих положениях для того чтобы скрепить проводники тхинвалл ЭМТ к электрическим распределительным коробкам или приложениям. В влажных положениях, соединения сецкрев превосходной защиты от коррозии с гальванизировать цинком. Соединения сецкрев ЭМТ сделаны с разнообразной головкой винта комбинации которая может безопасно прикрепить проводник к обозначенной электрической распределительной коробке или приложению используя прорезанный Филлипс, или отверткой Роберцон главной.
Особенности:
- Цинк умирает бросание
- Конкретн-плотный связыванный тесьмой
- Комбинированный главный сецкрев
- Соответствующий для применений над 600В
- Размеры 2-1/2» до 4" также перечислены для ТВЕРДОЙ и ИМК проводники

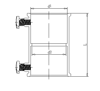
| Кат# | Размер | д1 | д2 | Л | |
| ССКП-З | -050 | 1/2» | 18,4 | 17 | 38 |
| ССКП-З | -075 | 3/4" | 24 | 22 | 43 |
| ССКП-З | -100 | 1" | 30 | 28 | 52 |
| ССКП-З | -125 | 11/4» | 38,8 | 37 | 62 |
| ССКП-З | -150 | 11/2» | 45 | 43 | 72,8 |
| ССКП-З | -200 | 21/2" | 56,3 | 54,7 | 86 |
| ССКП-З | -250 | 2" | 74 | 70 | 100 |
| ССКП-З | -300 | 3" | 90 | 86 | 114 |
| ССКП-З | -400 | 4" | 115 | 110 | 130 |
