Зонд клина конструированный согласно IEC60950 для входа бумажного шредера
1. Введение
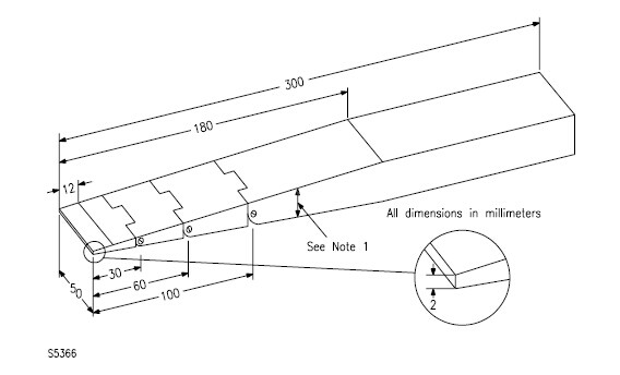
Зонд клина конструирован согласно UL60950 диаграмме NAF.2 и NAF.3, IEC60950 и IEC62368 диаграмма V.4, он для теста безопасности входа бумажного шредера.
2. Применение
Оно приложено для того чтобы испытать защиту против отверстия слота входа бумажного шредера, зонд не может получить доступ к опасным двигающим частям.
2. Спецификация
| Расстояние от подсказки зонда (mm) | Толщина зонда (mm) |
| 0 | 2 |
| 12 | 4 |
| 180 | 24 |
3. Изображение:
