Pin Conincal зонда 13 теста соответствует зонду пальца теста IEC61032 Accessability
Введение:
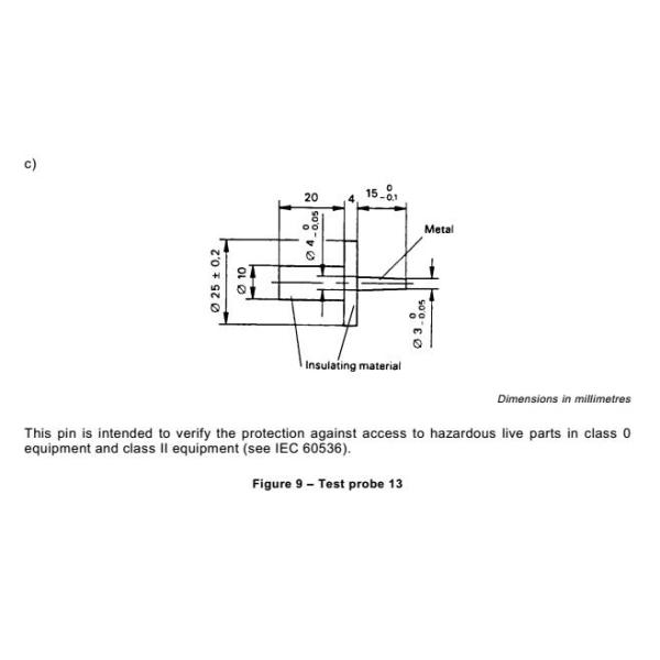
Оно конструировано согласно IEC61032 диаграмме 9. Штырь запланирован проверить защиту против доступа к опасным частям в реальном маштабе времени в оборудовании класса 0 и оборудовании класса II (см. IEC60536).
Спецификация:
| диаметр штыря теста | голова 3mm, дно 4mm |
| длина штыря теста | 15mm |
| диаметр дефлектора | 25mm |
| толщина дефлектора | 4mm |
| материал | изолируя материал, металл |
Изображение:

Список зонда:
| Зонды и применение | Код зонда | Короткое описание | Сила, который нужно приложить |
| Зонды доступа IEC60529 (код IP) | Зонд a | Сфера: Φ50 с ручкой | 50 |
| Зонд b | Соединенный палец теста | 10 | |
| Зонд c | Штанга: Φ2.5-length 100 | 3 | |
| Зонд d | Провод: Φ1.0-length 100 | 1 | |
| Зонды объекта IEC60529 (код IP) | Зонд 1 | Сфера: Φ50 | 50 |
| Зонд 2 | Сфера: Φ12.5 | 30 | |
| Другие зонды доступа Люди против доступа к опасным частям в реальном маштабе времени или опасным механическим частям | Зонд 11 | Unjointed палец теста | 50 |
| Зонд 12 | Цилиндрический штырь: Φ4-length 50 | ||
| Зонд 13 | Штырь Conincal: Φ3 до 4 длины 15 | ||
| Зонд 14 | Адвокатура: 3*1 | 20 | |
| Зонд 15 | Уничтоженный | ||
| Зонд 16 | Уничтоженный | ||
| Зонд 17 | Провод: Φ0.5 | ||
| Зонд 18 | Небольшой зонд пальца: Φ8.6-length 57,9 | 10 | |
| Зонд 19 | Небольшой зонд пальца: Φ5.6-length 44 | 10 | |
| Другие зонды доступа Люди против доступа к опасным механическим частям | Зонд 31 | Конус: Φ110/60 | 50 |
| Зонд 32 | Штанга: Φ 25 | 30 | |
| Зонд 33 | Delected | ||
| Другие зонды доступа Люди против доступа к горячим или накаляя частям | Зонд 41 | Зонд: Φ 30 | |
| Зонд 42 | Уничтоженный | ||
| Зонд 43 | Адвокатура: 50*5 |