ИЭК60061-3 идут никакой идут датчики для Ламфолдер Лампкап и основания с сертификатами КНАС
1. Введение
Датчики крышки и Ламфолдер лампы конструированы согласно ИЭК60061-3, ему также были вызваны для того чтобы пойти/никакой идут датчик.
Структура и диез (как форма волны потока) датчиков для крышки и ламфолдер лампы высчитаны и оптимизированы компьютером, и после этого обрабатывают машиной компьютера для достижения высокой точности и выглядящий славн.
Датчики крышки и ламфолдер лампы (пойдите никакой пойдите датчик) сделаны сплавом высоко-твердости, и ручкой с инфильтратом КПК составным который значительно улучшил способности предохранения ржавчины и сопротивления носки, твердость роквелл могут достигнуть ХР580 вышеуказанное, срок службы больше чем 3-5 раз более долго чем обычные датчики.
Крышка лампы и датчики Ламфолдер могут пройти тарировку института третьей стороны, и получают поверочный сертификат.
| Диаграмма | Имя датчиков |
| 7006-47К-3 | Законченные двойные Г5 «идут» датчики для совмещенной пары Ламфолдерс |
| 7006-60К-3 | Г13 удваивают законченный «идут» датчики для совмещенной пары Ламфолдерс |
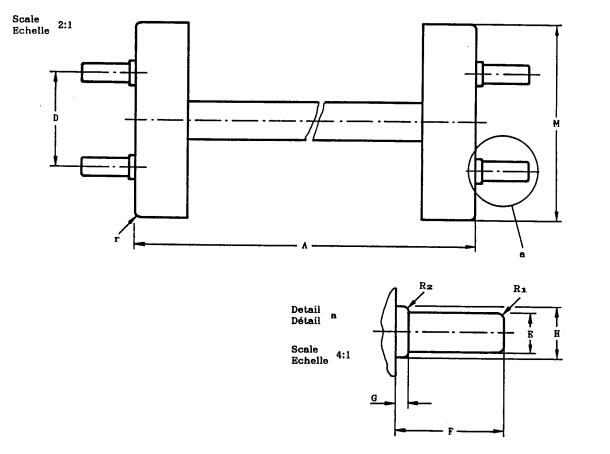
2. Конструкция законченного двойного Г5 «идет» датчики для совмещенной пары Ламфолдерс
Самолет содержа ексес штырей на одном конце смещен от истинного выравнивания с самолетом содержа оси штырей на другом конце таким углом в направлении по часовой стрелке на датчик и и в против часовой стрелки направлении на датчик ИИ, это каждый из датчиков можно как раз ввести без несвоевременной силы в 2 параллельных слота, каждых 2,87 мм в ширине.
3. Цель законченного двойного Г5 «идет» датчики для совмещенной пары Ламфолдерс
Проверить совмещенную пару гибких или непреклонных ламфолдерс Г5 относительно входа штырей лампы.
4. Испытание законченного двойного Г5 «идет» датчики для совмещенной пары Ламфолдерс
Будет возможно ввести каждый датчик в свою очередь в совмещенную пару ламфолдерс.
5. Диаграмма законченного двойного Г5 «идет» датчики для совмещенной пары Ламфолдерс

6. Конструкция законченного двойного Г13 «идет» датчики для совмещенной пары Ламфолдерс
Самолет содержа оси штырей на одном конце смещен от истинного выравнивания с самолетом содержа оси штырей на другом конце таким углом в направлении по часовой стрелке на датчик и и в а против часовой стрелки на датчик ИИ, это каждый из датчиков можно как раз ввести без несвоевременной силы в 2 параллельных слота, каждые 3.05мм в ширине.
7. Цель законченного двойного Г13 «идет» датчики для совмещенной пары Ламфолдерс
Проверить совмещенную пару гибких или непреклонных ламфолдерс Г13 относительно входа штырей лампы.
8. Испытание законченного двойного Г13 «идет» датчики для совмещенной пары Ламфолдерс
Будет возможно ввести каждый датчик в совмещенную пару ламфолдерс.
9. Диаграмма законченного двойного Г13 «идет» датчики для совмещенной пары Ламфолдерс
Почему выберите ПЭГО?
1. ПЭГО профессионально на электрическом оборудовании для испытаний лаборатории, наша цель обеспечить наших клиентов с лучшей ценой, лучшим качеством и лучшим обслуживанием.
2. Подгонянное обслуживание: Мы можем помочь нашим клиентам конструировать и развить новое оборудование согласно их требованию. Мы гибкий и способный поставщик.
качество 3.Эксселлент: 12 месяца гарантии, теста гарантии 100% перед доставкой. И все наши продукты могут пройти тарировку трех-лаборатории которая утверждена ИСО17025.
4. И техническая консультация обслуживаний после продажи: 24 часа службы технической поддержки электронной почтой. Наша профессиональная команда всегда здесь завещает быть вашим техническим консультантом.
5. Быстрая доставка: Наша компания обеспечивает как раз вовремя доставку, и наш товароотправитель перевозки может обеспечить умеренную цену обслуживаний транспорта самое большее для того чтобы разрешить ваше беспокойство.
6. Проворный ответ к клиентам: мы обещаем ответить наши клиенты в течение 24 часов