Поднимаясь крюк слинга Clevis G100 с защелкой
Детали
Крюк слинга clevis G100 с защелкой безопасности общецелевой крюк соответствующий для большинств бросая применений.
Крюк слинга Clevis с защелкой для того чтобы одеть цепь ранга 100 6,8,10 & 13mm
Ранг 100 предлагает 25% большую поднимаясь емкость для цепи & компонентов одинакового размера G80
* поставленный с нагрузкой и штырем сохранения для того чтобы прикрепиться в цепь G80
* задвижки замены, нагрузка и штыри сохранения доступные от запаса
* поставленный с уместной аттестацией
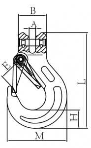
Спецификации

| Номер детали. |
Размер (mm) |
W.L.L (тонны) |
(mm) |
B (mm) |
E (mm) |
H (mm) |
M (mm) |
L (mm) |
N.W. (килограммы) |
| SL-H1059-1.4 | 6 | 1,4 | 7,5 | 32 | 18,5 | 21 | 68,5 | 109 | 0,33 |
| SL-H1059-2.5 | 8 | 2,5 | 9,5 | 37 | 25 | 27,5 | 88 | 134 | 0,7 |
| SL-H1059-4 | 10 | 4 | 12 | 58 | 28 | 33,5 | 105,5 | 161,5 | 1,3 |
| SL-H1059-6.7 | 13 | 6,7 | 15 | 59 | 38 | 42 | 135 | 203 | 2,3 |
| SL-H1059-16 | 16 | 10 | 17,5 | 70 | 44 | 50 | 160,5 | 248 | 3,6 |
| SL-H1059-20 | 20 | 16 | 25 | 85 | 52 | 56 | 190,5 | 297 | 7,3 |