Блокировка гнезда переключателя IEC62196 EV разделяет прибор теста силы
Исполненные стандарты & статьи для блокировки гнезда переключателя разделяют прибор теста силы
Статья 14.1.5 62196-1:2020 IEC, 14.1.6, fig13, fig14.
Статья 17,2 62196-1:2014 IEC.
Обзор оборудования для блокировки гнезда переключателя разделяет прибор теста силы
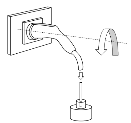
Цель теста: Структура поручая интерфейса должна позволить поручая оружию легко быть введенным и вытягиванным вне, и должна предотвратить поручая оружие от падать из гнезда во время нормальной пользы. Проверьте что максимальная сила необходима, что вытянула зарядный кабель из гнезда прибора внутри ряд определенный в стандарте.
Принцип теста: Максимальная сила вырывания гнезда: Придайте максимальную силу вырывания определенную в стандарте (полной силе главного веса, дополнительного веса, крюка (зажимного приспособления), и штепсельной вилки теста) к штепсельной вилке теста, и штепсельная вилка должна прийти из гнезда.
Структура: Этот прибор составлен зажимного приспособления установленного под верхнюю плиту a, главный вес f, дополнительный вес g и C. штепсельной вилки теста. Рамка прибора совместима с GB/T20234.1 диаграммой 5 и GB11918.4 диаграммой 102, включая тест механической нагрузки горизонтального горизонтального поручая интерфейса, тест запирающего устройства и тест силы ввода.
Примечание: Регулируемый захват принят, который можно переключить вертикально и горизонтально, и может зажать различные продукты; струбцина d заменена кольцом, которое более удобно для того чтобы работать и использовать; главный вес сразу counterweighted без кронштейна.
Технические параметры для блокировки гнезда переключателя разделяют прибор теста силы
Максимальная сила разведения
Максимальная сила разведения гнезд-выхода соотвествует таблицы 1.
Придайте максимальную силу разведения определенную в стандарте (полная сила основного веса, дополнительный вес, крюк (зажимное приспособление) к штепсельной вилке теста, когда дополнительный вес упаден от высоты 50mm, штепсельная вилка должна прийти из гнезда.
Потребитель должен выбрать соотвествующий вес для теста согласно следующей таблице:
|
Тип образца (AC A) |
Разведение N |
Основной вес N |
Дополнительный вес N |
| 6-40 | 165 | 148,5 | 16,5 |
| 41-80 | 300 | 270 | 30 |
| 81-150 | 440 | 396 | 44 |
| 151-250 | 660 | 396+148.5+49.5 | 66 |
|
Тип образца (DC A) |
|||
| Любые | 750 | 396+148.5+49.5+15 | 75 |
| Статья a 17,2 | |||
| <59> | 150 | 135 | 15 |
| 60-99 | 275 | 247,5 | 27,5 |
| 100-125 | 400 | 270+90 | 40 |
| Примечание: Основной вес уже содержит вес штепсельной вилки и крюка теста | |||
Сила разведения b минимальная
Введите датчик с минимальной силой разведения определенной в стандарте (то есть, штырь теста (одиночный штырь) которое соотвествует этого стандарта, общая масса штыря должен быть равен к значению определенному в таблице) в каждое индивидуальное гнездо в гнезд-выходе. Датчик необходимо извлечь из гнезда не позднее 30 секунд.
|
Номинальный диаметр штыря mm |
Диаметр датчика mm +0 -0,01 |
Минимальная полная сила N |
| 5 | 4,80 | 2,5 |
| 6 | 5,80 | 5 |
| 7 | 6,80 | 5 |
| 8 | 7,80 | 10 |
| 10 | 9,80 | 15 |
| 12 | 11,80 | 20 |
| Примечание: Минимальная сила разведения уже включает вес датчика | ||
Особенности структуры c
Этот прибор главным образом составлен приспособления установки, зажимного приспособления, основного веса, дополнительного веса и штепсельной вилки теста. Основанный на опыте, струбцина тяги изменена на противовес, крюк веса сразу соединен со штепсельной вилкой теста, и установлено приспособление для удержания образца. Специфическая форма показана в диаграмме 1.

Штепсельная вилка теста d
Штепсельная вилка теста, согласно уместным стандартным листам, будет иметь чисто отшлифованные контакты затвердетой стали, имеющ шероховатость поверхности не превышая µm 0,8 над их активной длиной и размеченное на номинальных расстояниях, с допуском ±0,05 mm.
Размер контактов штепсельной вилки или расстояние между контактирующими поверхностями для других типов контактов штепсельной вилки будут в соответствии с минимальными размерами уступанными уместные стандартные листы, с допуском +0,010mm
Штепсельные вилки теста не включены в этом приборе теста, пожалуйста используют те штепсельные вилки теста что клиент уже приказал отдельно как следование:
| Нет: | Стандарт | Диаграмма нет: | Имя | QTY |
| 1 | IEC © IEC62196-2/Ed.3/CDV (e) | СТАНДАРТНЫЙ лист 1 ЛИСТА 2-I | Test-plug1: 32A, ВХОД КОРАБЛЯ AC 250 V | 1 |
| 2 | IEC © IEC62196-2/Ed.3/CDV (e) | СТАНДАРТНЫЙ лист 1 ЛИСТА 2-Ilb | Test-plug1: 63 A, 480 V ТРЕХФАЗНЫЕ ИЛИ 70 A, ОДИНОЧНАЯ ФАЗА 250 V | 1 |
| 3 | IEC © IEC62196-2/Ed.3/CDV (e) | СТАНДАРТНЫЙ лист 1 ЛИСТА 2-Ild | Тест-КОРАБЛЬ INLET2: 63 A, 480 V ТРЕХФАЗНЫЕ ИЛИ 70 A, ОДИНОЧНАЯ ФАЗА 250 V | 1 |
| 4 | IEC © IEC62196-2/Ed.3/CDV (e) | СТАНДАРТНЫЙ лист 1 ЛИСТА 2-Ilf | Тест-КОРАБЛЬ INLET3: 63 A, 480 V ТРЕХФАЗНЫЕ ИЛИ 70 A, ОДИНОЧНАЯ ФАЗА 250 V | 1 |
| 5 | IEC © IEC62196-2/Ed.3/CDV (e) | СТАНДАРТНЫЙ лист 1 ЛИСТА 2-Illa | Тест-штепсельная вилка 4: 16 a, ОДНОФАЗНАЯ ШТЕПСЕЛЬНАЯ ВИЛКА 250 V С 1 ПИЛОТНЫМ КОНТАКТОМ | 1 |
| 6 | IEC © IEC62196-2/Ed.3/CDV (e) | СТАНДАРТНЫЙ лист 1 ЛИСТА 2-Illb | Тест-штепсельная вилка 6: 32 a, ОДНОФАЗНАЯ ШТЕПСЕЛЬНАЯ ВИЛКА 250 V С 2 ПИЛОТНЫМИ КОНТАКТАМИ | 1 |
| 7 | IEC © IEC62196-2/Ed.3/CDV (e) | СТАНДАРТНЫЙ лист 1 ЛИСТА 2-Illc | Тест-штепсельная вилка 8: 63 a, ТРЕХФАЗНАЯ ШТЕПСЕЛЬНАЯ ВИЛКА 480 V С 2 ПИЛОТНЫМИ КОНТАКТАМИ | 1 |
| 8 | IEC © IEC62196-3/Ed.2/CDV (e) | СТАНДАРТНЫЙ ЛИСТ 3-Ib Лист 1 |
СОЕДИНИТЕЛЬ 10 КОРАБЛЯ теста | 1 |
| 9 | IEC © IEC62196-3/Ed.2/CDV (e) | СТАНДАРТНЫЕ ЛИСТЫ BB КОНФИГУРАЦИИ МУФТА 250 КОРАБЛЯ DC 900 V СТАНДАРТНЫЙ лист 1 ЛИСТА 3-Iia |
СОЕДИНИТЕЛЬ 11 КОРАБЛЯ теста | 1 |
| 10 | IEC © IEC62196-3/Ed.2/CDV (e) | СТАНДАРТНЫЙ лист 2 ЛИСТА 3-IIIa | ВХОД 12 КОРАБЛЯ теста | 1 |
| 11 | IEC © IEC62196-3/Ed.2/CDV (e) | СТАНДАРТНЫЙ КОРАБЛЬ INLETMODES 2, 3 И 4 лист 2 ЛИСТА 3-Iva | ВХОД 13 КОРАБЛЯ теста | 1 |
| 12 | IEC © IEC62196-3/Ed.2/CDV (e) | СТАНДАРТНЫЙ ВХОД КОРАБЛЯ ЛИСТА 3-Ivb ВСЕ РЕЖИМЫ покрывает 1 | ВХОД 14 КОРАБЛЯ теста | 1 |
Штыри теста e
Штыри теста не включены в этом приборе теста, пожалуйста используют те штыри теста что клиент уже приказал отдельно как следование:
|
Номинальный диаметр штыря mm |
Диаметр датчика mm +0 -0,01 |
Минимальная полная сила N |
| 5 | 4,80 | 2,5 |
| 6 | 5,80 | 5 |
| 7 | 6,80 | 5 |
| 8 | 7,80 | 10 |
| 10 | 9,80 | 15 |
| 12 | 11,80 | 20 |
| Примечание: Минимальная сила разведения уже включает вес датчика | ||
Конфигурация и детали для блокировки гнезда переключателя разделяют прибор теста силы
Конфигурация датчика:
Сделанный S136, штырь минимальная величина нормального размера, допуск +0,01 0 mm, дистанционирование ±0.05mm, и финиш 0.8um
гнездо gauge*1 максимальной силы вырывания 16A соответствуя;
гнездо gauge*1 максимальной силы вырывания 32A соответствуя;
Силы вырывания DC гнездо gauge*1 максимальной соответствуя;
Конфигурация веса:
165: 148.5N главный вес x1 веса x1+16.5N дополнительный;
300N: 270N главный вес x1 веса x1+30N дополнительный;
440N: 396N главный вес x1 веса x1+44N дополнительный;
660N: 594N главный вес x1 веса x1+66N дополнительный;
750N: 675N главный вес x1 веса x1+75N дополнительный;
Примечание: Вес главного веса включает вес крюка, и вес веса осуществлен суперпозицией и комбинацией.
Содержание теста:
7.11.8: Поручая тест механической нагрузки интерфейса
7.15.1.1: Тест запирающего устройства
7,17: Тест силы ввода (часть силы извлечения)
Время задержки теста: 60s, поднимают домкратом управляют подносом вверх и вниз для того чтобы поднять вес для того чтобы достигнуть
Количество тестов: 4 раза, раз в каждом направление 90° вокруг горизонтальной оси, вручную
Испытательная нагрузка:
Оружие AC поручая: 100N
Оружие DC поручая: 140N
1,0 kg
Диаграмма ссылки теста:
