Спецификации
Номер модели :
SN554B-15T
Место происхождения :
Китай
Минимальное количество заказа :
1
Условия оплаты :
T/T
Способность к поставкам :
10 наборов/месяц
Время доставки :
30 дней
Подробная информация об упаковке :
Коробка из фанеры
Прикладной стандарт :
AIS 038, IEC 62133-2012 - Протоколы, предназначенные для использования в транспортных средствах
Максимальное давление :
1KN-150KN ((регулируемый)
Структура системы :
Вертикальная структура давления
Режим вождения :
Сервомотор
Экструзионный ход :
0 ~ 450 мм
Состояние скорости :
1 - 15 мм/с
Точность отображения скорости :
0.1 мм
Точность показа давления :
1N
Описание

Камера испытания на проникновение и раздавливание аккумулятора электромобиля АИС 038 и гвоздь

Соответствующие стандарты и положения дляКамера испытания на проникновение и раздавливание аккумулятора электромобиля


Соответствует тесту на раздавливание AIS 038 на стр. №.79 из 106 кл.номер.3.2, Испытание на проникновение гвоздя на стр. №.101 из 106 кл.номер.3.3.2 (а), IEC62133-2012, QC/T 743-2006, QC/T 744-2006 и т. д.

Обзор оборудования дляКамера испытания на проникновение и раздавливание аккумулятора электромобиля


Эта испытательная машина имитирует различные условия, которые могут возникнуть, когда аккумулятор подвергается экструзии при использовании различных классов литиевых аккумуляторов.

Батарея помещается между выдавливаемой пластиной, а двигатель оказывает давление на выдавленную батарею через шнек и автоматически возвращается после достижения определенного давления.

Это испытательное оборудование в основном используется для проверки безопасности автомобильных литиевых батарей, силовых батарей, аккумуляторов, аккумуляторов электромобилей и других аккумуляторов.

Это комплект системы давления, взрывозащищенной системы, системы сбора данных, компьютерной системы управления и так далее.Основная часть испытательного оборудования и система управления изолированы и работают отдельно для осуществления удаленного мониторинга и тестирования, а многоуровневое защитное устройство может соответствовать множеству стандартов испытаний.

Основные компоненты импортируются, что является необходимым испытательным оборудованием для производителей аккумуляторов и научно-исследовательских институтов.

Технические параметры дляКамера испытания на проникновение и раздавливание аккумулятора электромобиля


  1. Технический индекс экструзии
1. 1 Максимальное давление 1КН-150КН(регулируемый)
1. 2 Структура системы Вертикальная структура давления
1. 3 Режим вождения Серводвигатель
1. 4 Входное напряжение 380В частота 50Гц
1. 5 Ход экструзии 0~450 мм (экструзионные приспособления в комплект не входят)
1. 6 Точность экструзии ±1%
1. 7 Состояние скорости 1–15 мм/с (регулируется)
1. 8 Точность отображения скорости 0,1 мм
1. 9 Точность отображения давления
1. 10 Ошибка скорости ≤1%
1. 11 Принудительная ошибка ±1%
1. 12 Преобразование единиц измерения кг/Н/фунт
1. 13 Условия испытаний Сила, смещение (деформация), напряжение, одно из трех или комбинация трех
1. 14 Сожмите время паузы 0–99 часов 59 минут 59 секунд, состояние времени можно установить по желанию, чтобы отрегулировать степень деформации ткани и автоматическое завершение.
1. 15 Режим управления Верхняя компьютерная система управления ПК
1. 19 Размер коробки Ш1000*Д1000*В1000 мм
1. 16

Диапазон температур

Диапазон сбора: -20 ~ 1000 ℃;двухканальный
Точность: ±1 ℃;
1. 17 Диапазон напряжения Диапазон сбора: 0 ~ 100 В

Точность сбора данных: 100 мс;
Канал: 1 канал;
1. 18 коммуникация Использование интерфейса связи R232,45 может обеспечить стабильность и удаленный сбор данных в режиме реального времени с функцией взрывобезопасности.
1. 19 Предохранительный выключатель Имеет кнопку «аварийной остановки».
1. 20 Материал внутренней коробки Нержавеющая сталь SUS 201# (усиленная толщина 3,0 мм, общая толщина внешней коробки 80 мм)
1. 21 Материал внешней коробки Холодная смесь для выпечки на противне (толщина 1,5 мм)
1. 22 Корпус коробки Принять вертикальную структуру
1. 23 Дымоотвод 100 мм, расположен над задней частью коробки.
1. 24 Дверь Левая дверь, смотровое окошко, дверной замок с холодной ручкой
1. 25 Взрывозащищенное устройство сброса давления Благодаря взрывозащищенной функции сброса давления, то есть задняя часть защитной коробки имеет дверцу сброса давления магнитно-адсорбционного типа (спецификация: 400*400 мм), при сильном воздействии воздуха дверца сброса давления автоматически открывается, чтобы уменьшить воздействие взрыва. .
1. 26 Установка пожаротушения Экструдированный короб оснащен устройством пожаротушения.В случае взрыва батареи устройство и систему пожаротушения можно открыть с помощью дистанционного управления или вручную.
1. 27 Вытяжная система Когда тестовый образец производит дым, устройство может автоматически выпустить дым через трубу.
1. 28 Монтаж освещения Энергосберегающее освещение высокой яркости и взрывозащищенные лампы расположены в испытательном резервуаре для освещения всего испытательного пространства и облегчения наблюдения за испытаниями.
1. 29 Система камер наблюдения

Испытательная зона оснащена взрывозащищенной системой мониторинга камер высокого разрешения (с защитной крышкой) и может управляться дистанционно, чтобы гарантировать, что данные содержат не менее 3 миллионов пикселей.

AIS 038 Камера испытаний на раздавление и проникновение гвоздей в батареи электромобилей

1.30 Нижняя часть оборудования Установите 4 универсальных колеса, оба легко перемещаются, но также устойчивы при парковке.
1. 31 Размер окна 300*300*10 мм (толстое двойное закаленное взрывобезопасное стекло)
1. 32 Внешний размер 1200 Ш X 120 Г X 2 200 мм (Фактическая конструкция имеет преимущественную силу)
1. 33 Источник питания 380 В переменного тока, 50 Гц
1. 34 власть 7,5 кВт
1. 34 Вес машины около 1350 кг
2. Применимые инструкции
2. 1 Метод экструзии

Тест на экструзию одной батареи:

(1) Испытание в соответствии со следующими условиями;

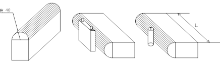
-- Направление экструзии: давление перпендикулярно пластине аккумулятора (см. рисунок 1);

--Форма экструзионной пластины: полуцилиндр с радиусом 75 мм, длина полуцилиндра (L) больше размера экструдируемой батареи;

-- Степень экструзии: остановите экструзию, когда напряжение достигнет 0 В или корпус сломается;

(2) Наблюдать в течение 1 часа;

(3) Стандарты проверки: отсутствие взрыва, отсутствие пожара.

Тест на экструзию аккумуляторной батареи

(1) Форма экструзионной пластины:

Полуцилиндр радиусом 75мм, длина полуцилиндра больше размера выдавливаемой батареи, но не более 1м.

(2) Направление экструзии:

Направление, в котором аккумуляторный модуль наиболее уязвим к выдавливанию в компоновке автомобиля, то же самое.Если направление, наиболее подверженное выдавливанию, недоступно, давление прикладывают перпендикулярно направлению расположения одной батареи.

AIS 038 Камера испытаний на раздавление и проникновение гвоздей в батареи электромобилей

(3) Степень экструзии

Деформация аккумуляторного модуля достигает 30% или давление экструзии в 1000 раз превышает вес аккумуляторного модуля и более высокие значения, указанные в Таблице 2 ниже.

Таблица 2 Таблица выбора давления экструзии

Количество контактирующих мономеров n на экструзионной поверхности Сила экструзии (кН)
1 200
2~5 100*н
>5 500

-- Держите 10 минут.

3. Система испытания под давлением
3. 1

Система измерения силы: высокоточный датчик силы Кориолиса 20000 кг для различных испытаний.

В то же время точность испытания на силу находится в пределах ± 0,5% полной шкалы;

3. 2

Система питания:

Серводвигатель переменного тока;

водитель переменного тока;

Червячный редуктор

Тайвань импортировал высокоточные шариковые винты.

3. 3

Система контроля:

Режим управления «Импульсная команда» делает управление более точным;

Диапазон регулирования скорости: 1~20 мм/с;

Регулировка центральной панели имеет функции быстрой грубой регулировки и медленной точной настройки.

Автоматический возврат в исходное состояние и автоматическое сохранение после тестирования;

3. 4 Режим передачи данных: передача RS232
3. 5 Режим отображения: отображение экрана компьютера.
3. 6

Программное обеспечение расширенного тестового интерфейса может обеспечивать фиксированную скорость, сдвиг позиционирования, фиксированную нагрузку (можно установить время удержания),

Режим управления постоянной скоростью увеличения нагрузки, постоянной скоростью увеличения напряжения, постоянной скоростью увеличения деформации и т. д. можно комбинировать с режимом многоступенчатого управления.

Соответствуют различным требованиям к испытаниям.

3. 7

Полное водоизмещение:

Энкодер 1000 P/R, двойной точности;

Кодер LINE DRIVE обладает сильной защитой от помех;

Анализ смещения 0,5 мм;

3. 8

Устройство безопасности:

Устройство аварийного отключения при перегрузке;

Устройство ограничения хода вверх и вниз;

Функция автоматической остановки точки останова.

3. 9

Другие:

Функция отключения по напряжению: при проверке внешнего напряжения аккумулятора напряжение отключения можно установить на обоих концах аккумулятора.

Когда напряжение падает до заданного значения, выходной сигнал останавливает систему.

4. Особенности
4. 01 Испытательная коробка представляет собой независимую герметичную зону, изолированную от зоны питания внизу и зоны вытяжного освещения вверху, что может предотвратить распространение пламени, высокотемпературного газа, газа утечки и т. д. на другие зоны;
4. 02 Испытательный бокс снабжен вытяжной системой.Внутреннее вытяжное отверстие короба расположено сверху короба и оборудовано воздухосборником;В нижней левой части внутренней части бокса имеется дополнительный воздуховыпускной патрубок;Вытяжной вентилятор состоит из длинноосного двигателя и стального ветроколеса с большим объемом воздуха, огнестойкостью и устойчивостью к высоким температурам.
4. 03 Испытательная камера состоит из жаропрочных и огнестойких деталей (без пластиковых трубопроводов, проводов, резиновых прокладок, уплотнительных колец, смазочного масла, масла и т. д.), а дверца коробки герметично закрыта термостойкими уплотнениями;
4. 04 Передняя дверь испытательного бокса имеет усиленную конструкцию, которая может эффективно изолировать повреждения, вызванные пожаром и взрывом во время испытания.Дверная панель имеет двухслойную конструкцию с прослойками, а петля и дверной замок оснащены специальными стандартными деталями усиленного оборудования.Дверное окно изготовлено из двухслойного взрывозащищенного закаленного стекла;
4. 05 На открытой стороне объединительной панели испытательной камеры используется шарнир, а на другой стороне — подвижная дверь с магнитной адсорбцией, которая играет эффективную роль при взрывных работах.Когда объединительная плата закрыта, она должна быть герметизирована вокруг нее, чтобы предотвратить утечку газа в испытательном боксе;Когда внутри коробки происходит взрыв, образующийся газ под высоким давлением может открыть дверцу сброса давления, чтобы защитить другие части оборудования от повреждений и обеспечить безопасность испытателя;
4. 06 Нижняя пластина испытательной коробки имеет интегрированную конструкцию без отверстий и зазоров, которую легко чистить.
4. 07 Верхняя часть испытательной коробки оснащена лампой, а защитная крышка из закаленного стекла используется для защиты внешней части лампы и предотвращения повреждения лампы пламенем и выбросом.Для соединения испытательной коробки используются стандартные съемные крепления для удобства разборки и замены;
4. 08 Экструзионно-испытательная машина имеет электрическую безопасность в соответствии с национальными стандартами, что позволяет эффективно предотвращать и устранять опасность поражения электрическим током, которая может возникнуть у эксплуатирующего и обслуживающего персонала.Во время нормальной работы, за исключением схемной части оборудования, корпус оборудования и металлические части испытательного бокса не заряжаются.В случае аварии, например пожара, утечки, короткого замыкания и т. д., оборудование может автоматически отключить внешнее входное питание, чтобы какая-либо часть оборудования не заряжалась;
4. 09 Машина для экструзионных испытаний должна иметь кнопку «аварийной остановки» для облегчения оказания неотложной помощи в критических ситуациях.Кнопка «аварийной остановки» используется для остановки всех действий экструзионно-испытательной машины в критических случаях во избежание возникновения опасностей;После сброса кнопки «аварийной остановки» экструзионно-испытательная машина находится в нормальном рабочем состоянии;
4. 10 Экструзионное приспособление экструзионно-испытательной машины можно легко разобрать и заменить.Доступное приспособление для экструзии: плоский экструзионный диск.
4.11 Экструзионно-испытательная машина должна быть оборудована универсальным роликом для легкого перемещения и регулируемой опорной ногой для фиксированного положения;
4.12 Экструзионно-испытательная машина имеет функцию настройки давления самозащиты, которая может предотвратить чрезмерное давление экструзии во время экструзионного теста и повреждение оборудования.Когда давление экструзии достигает установленного значения защитного давления, машина для экструзионных испытаний автоматически останавливается.В это время можно поднять только приспособление для экструзии, и испытание на экструзию невозможно продолжить.
5. Внедрение программного обеспечения экструдера.
5. 01

Главный интерфейс программного обеспечения управления

AIS 038 Камера испытаний на раздавление и проникновение гвоздей в батареи электромобилей

5. 02

Интерфейс настройки

AIS 038 Камера испытаний на раздавление и проникновение гвоздей в батареи электромобилей

5. 03

График

AIS 038 Камера испытаний на раздавление и проникновение гвоздей в батареи электромобилей

5. 04 Введение в программное обеспечение экструдера
Эта система пресс-тестирования подходит для машины для испытания под давлением от 1 до 20000 кН.
Реализовано экранное отображение в реальном времени кривых силы-деформации, силы-перемещения и других тестовых кривых, которые можно переключать и наблюдать в любое время, а кривую очень удобно увеличивать и уменьшать;
Кривая данных всего процесса тестирования может быть автоматически записана и сохранена;
Реализовано цифровое обнуление испытательной силы и деформации, что удобно в эксплуатации и повышает надежность машины.
Тестовые данные управляются базой данных, и все тестовые данные сохраняются автоматически.
Автоматически завершайте процесс тестирования, оценивайте тип неисправности, автоматически записывайте и сохраняйте данные испытаний;
С функцией автоматической остановки защиты от перегрузки и автоматической оценкой разрушения образца, автоматической остановкой
Разнообразие методов вывода отчетов, мощная функция редактирования отчетов, пользователи могут в соответствии со своими требованиями за очень короткое время подготовить любой формат отчета об испытаниях.
Данные переходят в режим управления базой данных, автоматически сохраняют тестовые данные и кривые в базе данных, обеспечивают целостность и единство данных, а пользователям легко запрашивать и управлять ими;
Кривая данных всего процесса тестирования может быть автоматически записана и сохранена;
Человеко-машинный интерфейс выполнен в стандартном стиле Windows, прост в эксплуатации и обучении и может соответствовать стандартному управлению, сбору и расчету;
6. Стандартная конфигурация оборудования
6. 01 Вертикальная основная машина 1 комплект 1 КОМПЛЕКТ
6. 02 Закрытый защитный короб (с функцией сброса давления и вытяжки) 1 КОМПЛЕКТ
6. 03 Марка компьютера (не ниже следующей конфигурации: 20-дюймовый ЖК-дисплей, 1000 ГБ) 1 КОМПЛЕКТ
6. 05 Система датчиков давления 1 КОМПЛЕКТ
6. 06 Комплексная система сбора данных о напряжении и температуре по 1 комплекту каждого
6. 07 Спецификации продукта Кусок
Отправьте сообщение этому поставщику
Отправляй сейчас

AIS 038 Камера испытаний на раздавление и проникновение гвоздей в батареи электромобилей

Спросите последнюю цену
Смотрите видео
Номер модели :
SN554B-15T
Место происхождения :
Китай
Минимальное количество заказа :
1
Условия оплаты :
T/T
Способность к поставкам :
10 наборов/месяц
Время доставки :
30 дней
Контактный поставщик
видео
AIS 038 Камера испытаний на раздавление и проникновение гвоздей в батареи электромобилей
AIS 038 Камера испытаний на раздавление и проникновение гвоздей в батареи электромобилей
AIS 038 Камера испытаний на раздавление и проникновение гвоздей в батареи электромобилей
AIS 038 Камера испытаний на раздавление и проникновение гвоздей в батареи электромобилей

Sinuo Testing Equipment Co. , Limited

Verified Supplier
5 Годы
guangdong, guangzhou
С тех пор 2019
Вид деятельности :
Изготовление
Количество работников :
<100
Уровень сертификации :
Verified Supplier
Узнайте о аналогичных продуктах
Смотрите больше
Контактный поставщик
Требование о предоставлении