| Имя частей | Коробка передач перемещения КС210 |
| Применение | СЛУЧАЙ |
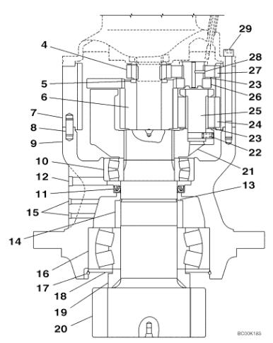
| Категория | Конечная передача |

|
|
[! ]
|
КРК0158
|
РЕДУКТОР
|
Включая 4 - 28
|
1
|
|
|
|
|
ЛН00111Р
|
БЛОК РЭМАН-РЭДУКТИОН
|
КС210, КС210ЛР, КС210Н ~ДАК0721850 & АСН ДАК211851 Реман для нового П/Н КРК0158
|
1
|
|
|
|
|
ЛН00111К
|
БЛОК КОРЭ-РЭДУКТИОН
|
Возвращенный номер
|
1
|
|
|
4
|
[! ]
|
КРК0147
|
ШЕСТЕРНЯ
|
|
1
|
|
|
5
|
|
КРК0154
|
ПЛИТА
|
|
1
|
|
|
6
|
[! ]
|
КРК0148
|
ШЕСТЕРНЯ
|
|
1
|
|
|
7
|
|
КРК0151
|
ШЕСТЕРНЯ
|
|
1
|
|
|
8
|
|
КРК0155
|
ПИН
|
|
4
|
|
|
9
|
|
КРК0144
|
РАСКВАРТИРОВЫВАТЬ
|
|
1
|
|
|
10
|
|
КРК0136
|
ПОДШИПНИК РОЛИКА, ИД кс 160мм ОД кс 40мм в 90мм
|
Сферически
|
1
|
|
|
11
|
|
КРК0138
|
УПЛОТНЕНИЕ
|
|
1
|
|
|
12
|
|
150824А1
|
ШТЕПСЕЛЬНАЯ ВИЛКА
|
|
1
|
|
|
13
|
|
КРК0141
|
СОХРАНЯТЬ ПРОВОД
|
|
1
|
|
|
14
|
|
КРК0143
|
ПРОКЛАДКА
|
|
1
|
|
|
15
|
|
158352А1
|
ШТЕПСЕЛЬНАЯ ВИЛКА
|
|
2
|
|
|
16
|
|
КРК0137
|
НОСЯЩ, ИД кс 215мм ОД кс 73мм в 100мм
|
|
1
|
|
|
17
|
|
КРК0140
|
ПРУЖИННОЕ КОЛЬЦО
|
|
1
|
|
|
18
|
|
КРК0139
|
КРЫШКА
|
|
1
|
|
|
19
|
|
КРК0142
|
ПРОКЛАДКА
|
|
1
|
|
|
20
|
|
КРК0135
|
ВАЛ
|
|
1
|
|
|
21
|
[! ]
|
КРК0145
|
НЕСУЩАЯ ШЕСТЕРНИ
|
НЕСУЩАЯ ШЕСТЕРНИ
|
1
|
|
|
22
|
|
338В100З020Б
|
ПИН КОТТЭР
|
|
3
|
|
|
23
|
|
КРК0156
|
ПЛИТА
|
|
6
|
|
|
24
|
[! ]
|
КРК0150
|
ШЕСТЕРНЯ
|
|
3
|
|
|
25
|
[! ]
|
КРК0153
|
ПИН
|
|
3
|
|
|
26
|
|
КРК0146
|
НЕСУЩАЯ ШЕСТЕРНИ
|
НЕСУЩАЯ ШЕСТЕРНИ
|
1
|
|
|
27
|
|
КРК0149
|
ШЕСТЕРНЯ
|
|
3
|
|
|
28
|
[! ]
|
КРК0152
|
ПИН
|
|
3
|
|
|
29
|
|
КРК0163
|
БОЛТ
|
|
16
|
|
51
|
|
ЛН00111
|
РЕДУКТОР
|
Включая 52 - 79
|
1
|
|
|
|
|
ЛН00111Р
|
БЛОК РЭМАН-РЭДУКТИОН
|
КС210, КС210ЛР, КС210Н
|
1
|
|
|
|
|
ЛН00111К
|
БЛОК КОРЭ-РЭДУКТИОН
|
Возвращенный номер
|
1
|
|
|
52
|
|
165956А1
|
ВАЛ ШЕСТЕРНИ
|
|
1
|
|
|
53
|
[! ]
|
160548А1
|
ВОРОТНИК
|
|
1
|
|
|
54
|
|
156356А1
|
ПЛИТА
|
|
1
|
|
|
55
|
|
155685А1
|
КОЛЬЦО, КНОПКА
|
КНОПКА КОЛЬЦА
|
1
|
|
|
56
|
|
156157А1
|
ПОДШИПНИК, РОЛИК, ИД кс 215мм ОД кс 73мм в 110мм
|
|
1
|
|
|
57
|
|
ЛВ00402
|
РАСКВАРТИРОВЫВАТЬ
|
|
1
|
|
|
58
|
|
ЛХ00337
|
ВОРОТНИК
|
|
1
|
|
|
59
|
|
155686А1
|
КОЛЬЦО, КНОПКА
|
КНОПКА КОЛЬЦА
|
1
|
|
|
60
|
|
155107А1
|
УПЛОТНЕНИЕ МАСЛА
|
|
1
|
|
|
61
|
|
160611А1
|
ПОДШИПНИК, РОЛИК, ИД кс 160мм ОД кс 40мм в 90мм
|
|
1
|
|
|
62
|
|
155621А1
|
ПИН КОТТЭР
|
|
1
|
|
|
63
|
|
ЛК00221
|
ШЕСТЕРНЯ КОЛЬЦА
|
|
1
|
|
|
64
|
|
160520А1
|
ШЕСТЕРНЯ
|
|
1
|
|
|
65
|
[! ]
|
ЛКМ0108
|
ПЛИТА
|
|
1
|
|
|
66
|
|
ЛК00222
|
ШЕСТЕРНЯ СОЛНЦА
|
|
1
|
|
|
67
|
|
ЛС00222
|
ДЕРЖАТЕЛЬ
|
|
1
|
|
|
68
|
[! ]
|
ЛА00069
|
БОЛТ
|
|
16
|
|
|
69
|
|
892-10012
|
ПРУЖИННАЯ ШАЙБА, М12
|
|
16
|
|
|
70
|
|
168437А1
|
ДЕРЖАТЕЛЬ
|
Включая 71 - 75
|
1
|
|
|
71
|
|
ЛБ00758
|
ВАЛ
|
|
3
|
|
|
72
|
|
ЛК00149
|
ПЛАНЕТАРНАЯ ШЕСТЕРНЯ
|
|
3
|
|
|
73
|
|
155383А1
|
ШАЙБА, ТЯГА
|
|
3
|
|
|
74
|
|
ЛА00068
|
ШПОНКА
|
|
3
|
|
|
75
|
|
ЛС00190
|
ДЕРЖАТЕЛЬ
|
|
1
|
|
|
76
|
|
151030А1
|
ШТЕПСЕЛЬНАЯ ВИЛКА
|
|
1
|
|
|
77
|
|
ЛК00053
|
ШТЕПСЕЛЬНАЯ ВИЛКА
|
|
2
|
|
|
78
|
|
КРК0149
|
ШЕСТЕРНЯ
|
|
3
|
|
|
79
|
|
КРК0146
|
НЕСУЩАЯ ШЕСТЕРНИ
|
|
3
|