Коробка передач редуктора привода качания поворачивает верхнюю часть экскаватора на шасси вместе с подшипником шестерни slewing.
Атрибуты: Сверхмощные приводы качания конструированы быть отстраиванным заново и повторно использованным. Под следующими компонентами шестерни включите в приводе качания: шестерня солнца, планетарная шестерня, подшипник иглы, подшипник ролика, несущая, вал шестерни, шестерня шестерни, уплотнение масла, шестерня кольца, качание расквартировывая случай.
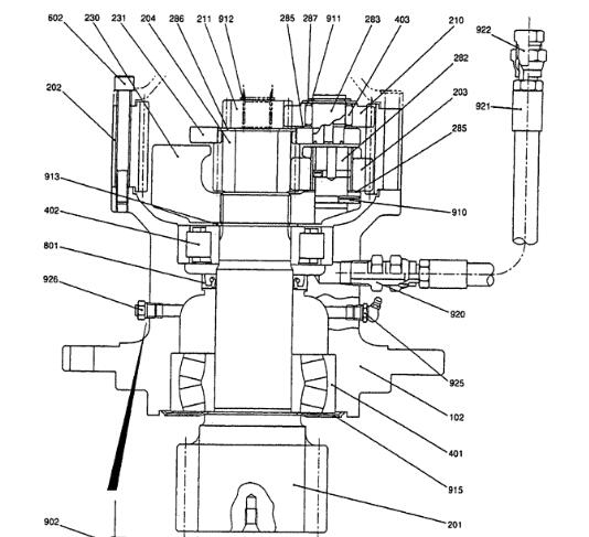
Блок уменьшения качания в экскаваторе Kobelco SK135 необходимый компонент который позволяет верхней структуре (дому) экскаватора вращать на более низком undercarriage. Он также обыкновенно назван привод качания, коробка передач качания, или мотор качания.
Блок уменьшения качания состоит из гидравлического мотора и коробки передач уменьшения. Когда рабочая жидкость поставлена к гидравлическому мотору, она управляет коробкой передач уменьшения, которая после этого поворачивает верхнюю структуру экскаватора, позволяющ она отбросить 360 градусов. Это движение критическое для способности экскаватора выполнить задачи как выкапывать, загрузка, и располагать с точностью.
Kobelco конструирует свои блоки уменьшения качания для того чтобы выдержать сверхмощную пользу и предусмотреть ровное и эффективное вращение верхней структуры. Однако, как любой механический компонент, уменьшение качания может требовать регулярного технического обслуживания и случайных ремонтов или замены, особенно если знаки носки, утечек, или уменьшенного представления.
Если вы испытываете вопросы с блоком уменьшения качания в вашем экскаваторе Kobelco SK135, то необходимо для того чтобы иметь его быть проверенным и обслуженным квалифицированным техником или дилерскими полномочиями Kobelco. Они имеют экспертизу и доступ к неподдельным частям Kobelco для того чтобы диагностировать и разрешить все проблемы, обеспечивая ваш экскаватор продолжается работать эффектно и безопасно.
| Имя запасных частей экскаватора | Редуктор качания |
| Образец техники | SK135SR-1 SK115 ED150 |
| Категория частей | шестерня качания экскаватора |
| Запасные части подготовляют | Совершенно новый |
| MOQ заказа (PCS, НАБОР) | 1 |
| Наличие частей | В запасе |
| Время выполнения доставки | 1-3 дней |
ТЯЖЕЛОЕ ОБОРУДОВАНИЕ ED150. ED150-1E. SK115SRDZ. SK115SRDZ-1E. SK135SR. SK135SR-1E. SK135SRL-1E. SK135SRLC. SK135SRLC-1E.
СВЕТЛОЕ ОБОРУДОВАНИЕ SK115SRDZ-1E. SK135SRLC-1E. Kobelco

1. Период гарантии: Гарантия 3 месяцев от даты прибытия. Более длинный период гарантии 6 месяцев смог быть предложен с уровнем более высокой цены.
2. Тип гарантии: замена частей которые имеют качественную проблему.
3. Гарантия инвалидна во внизу случаи
* Cutomer дает неправильно информацию о заказе
* сила Majeure
* неправильные установка и деятельность
* ржавчина
* сильная коробка или деревянная коробка для компонентов шестерни. Деревянная коробка для собрания коробки передач
* методы доставки: Морским путем, самолетом к местному международному аэропорту, мимо выразите как DHL TNT FEDERAL EXPRESS