- Блок уменьшения шестерни качания экскаватора YN32W00019F1 используемый для Kobelco SK200-8
Коробка передач редуктора привода качания поворачивает верхнюю часть экскаватора на шасси вместе с подшипником шестерни slewing.
Атрибуты: Сверхмощные приводы качания конструированы быть отстраиванным заново и повторно использованным. Под следующими компонентами шестерни включите в приводе качания: шестерня солнца, планетарная шестерня, подшипник иглы, подшипник ролика, несущая, вал шестерни, шестерня шестерни, уплотнение масла, шестерня кольца, качание расквартировывая случай.
| Имя запасных частей экскаватора | Редуктор качания |
| Образец техники | SK200-8 SK210-8 |
| Категория частей | шестерня качания экскаватора |
| Запасные части подготовляют | Совершенно новый |
| MOQ заказа (PCS, НАБОР) | 1 |
| Наличие частей | В запасе |
| Время выполнения доставки | 1-3 дней |

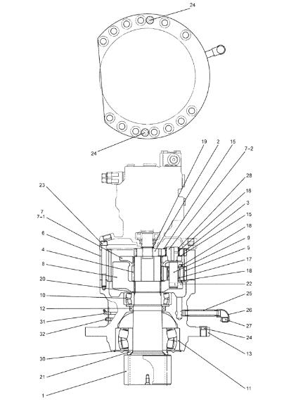
. .YN32W00019F1
ASSY УМЕНЬШЕНИЯ SM БЛОКА УМЕНЬШЕНИЯ ШЕСТЕРНИ (КАЧАНИЕ) Superseded номером детали: YN32W00022F2.
1.YN32W01051P1
ВАЛ SM.
2.YN32W01052P1
ШЕСТЕРНЯ SM СОЛНЦЕ
3.YN32W01053P1
ШЕСТЕРНЯ SM ШЕСТЕРНИ.
4.YN32W01054P1
ШЕСТЕРНЯ SM СОЛНЦЕ
5.YN32W01055P1
ШЕСТЕРНЯ SM ШЕСТЕРНИ
6.YN32W01056P1
ШЕСТЕРНЯ SM ШЕСТЕРНИ КОЛЬЦА
7.YN32W01057F1
ASSY ПАУКА SM НЕСУЩЕЙ
7-1.YN32W01009P1
ПАУК.
7-2.YN32W01066P1
ВАЛ ВАЛА KOB.
8.YN32W01058P1
НЕСУЩАЯ, снабжение жилищем, ПАУК SM паука
9.YN32W01067P1
ВАЛ SM.
10.YN32W01030P1
СФЕРИЧЕСКИ ПОДШИПНИК KOB Superseded номером детали: 25Z804D18.
11.YN32W01029P1
СФЕРИЧЕСКИ ПОДШИПНИК KOB Superseded номером детали: R25P0047D9.
12.YN32W01060P1
УПЛОТНЕНИЕ МАСЛА SM УПЛОТНЕНИЯ МАСЛА
13.YN32W01104P1
СНАБЖЕНИЕ ЖИЛИЩЕМ SM КОРОБКИ Superseded номером детали: YN32W00022F2.
15.YN32W01071P1
ШАЙБА SM ШАЙБЫ, ТЯГА
16.YN32W01073P1
ПОДШИПНИК ИГЛЫ SM НОСЯ, ИГЛА.
17.YN32W01072P1
ПОДШИПНИК ИГЛЫ SM НОСЯ, ИГЛА
18.YN32W01063P1
ШАЙБА SM ШАЙБЫ, ТЯГА
19.ZR16X03500
КОЛЬЦО KOB сохраняя -- Th x 1.6mm ID 32,20 x OD 35
20.ZR16X09000
КОЛЬЦО KOB сохраняя -- ID 84,50 x OD 108 x 3.0mm.
21.YN32W01082P1
РУКАВ SM
22.ZP26D08025
Крен PIN KOB -- OD 08 x 25mm длиной
23.HS23C14135G1
ВИНТ, M14 x 135mm SM M14x2.0x135mm
24.PV02B01073DB
Пластмасса КРЫШКИ KOB 18.4mm.
25.YN32W01080D1
ТВЕРДАЯ ТРУБКА SM 1/2» PT x 112mm длиной
26.ZG31U08000
Локоть SM СОЕДИНИТЕЛЯ HYD, 90° -- 1/2» PT
27.ZE82T08000
ШТЕПСЕЛЬНАЯ ВИЛКА KOB 1/2» PT
28.ZR16X04000
КОЛЬЦО KOB сохраняя -- Th x 1.8mm ID 37 x OD 40.
30.YN32W01081P1
УПЛОТНЕНИЕ МАСЛА SM УПЛОТНЕНИЯ МАСЛА
31.ZG91V02000
НИППЕЛЬ LUBE, 67 градусов x 1/8" PT KOB 67° x 1/8" PT Superseded номером детали: 72283072
32.2444Z3305
СУФЛЕР KOB 1/8" PT
1. Части шестерни построены для приспособления к неподдельной системе коробки передач привода.
2. Части шестерни поставлены строго согласно неподдельному каталогу деталей.
3. Все компоненты шестерни изготовлены от осторожно отдельных видов материалов со стандартным - качество используя стандартные процессы термической обработки производственного процесса — включая обуглероживать случая, нитрирование, и твердеть индукции.
4. Неликвидный запас и различные varioties частей шестерни которые покрывают привод выпускных экзаменов и swign для до 70 тонн экскаватора. JCB ХИТАЧИ KOMATSU HYUNDAI VOLVO DOOSAN KOBELCO SUMITOMO KATO
1. Период гарантии: Гарантия 3 месяцев от даты прибытия. Более длинный период гарантии 6 месяцев смог быть предложен с уровнем более высокой цены.
2. Тип гарантии: замена частей которые имеют качественную проблему.
3. Гарантия инвалидна во внизу случаи
* Cutomer дает неправильно информацию о заказе
* сила Majeure
* неправильные установка и деятельность
* ржавчина
* сильная коробка или деревянная коробка для компонентов шестерни. Деревянная коробка для собрания коробки передач
* методы доставки: Морским путем, самолетом к местному международному аэропорту, мимо выразите как DHL TNT FEDERAL EXPRESS