| Имя запасных частей экскаватора | шестерня уменьшения двигателя следа |
| Образец техники | СЛУЧАЙ CX210 CX240 |
| Категория частей | конечная передача экскаватора |
| Запасные части подготовляют | Совершенно новый |
| MOQ заказа (PCS, НАБОР) | 1 |
| Наличие частей | В запасе |
| Время выполнения доставки | 1-3 дней |
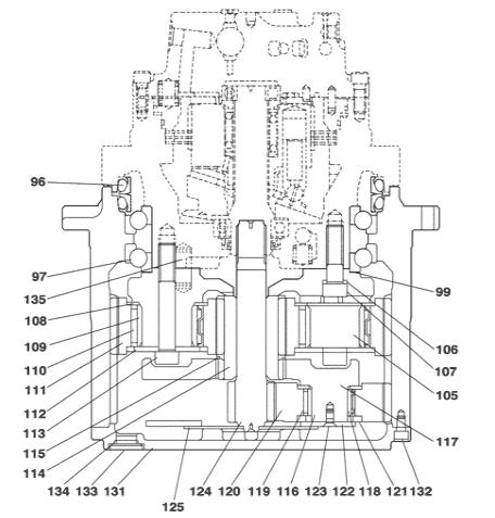
ТЯЖЕЛЫЙ случай ОБОРУДОВАНИЯ CX210 CX210LR CX210N CX240 CX240LR

| Pos. | Номер детали | Qty | Имя частей | Комментарии |
| . . | KRA1426 | [1] | ШЕСТЕРНЯ MOTO-REDUCTION | Перемещение СУММЫ; Включая 96 - 135; Также включая части на диаграммах 06-03, 06-04 Superseded номером детали: KRA10120 |
| . . | KRA1860 | [1] | ШЕСТЕРНЯ MOTO-REDUCTION | Перемещение СУММЫ; Включая 96 - 135; Также включая части на диаграммах 06-03, 06-04 Superseded номером детали: KRA10120 |
| 96 | NSS | [2] | ПРОДАННОЕ SEPARAT | Уплотнение ЖУЛИКА, плавая (включенное в наборе LZ00652 уплотнения) |
| 97 | LB00548 | [2] | ПОДШИПНИК | СУММА |
| 99 | LH00254 | [1] | НАБОР ШИММЫ | СУММА |
| 105 | LS00129 | [1] | ДЕРЖАТЕЛЬ | СУММА |
| 106 | LA00702 | [8] | ШАЙБА | СУММА |
| 107 | LA00703 | [8] | БОЛТ | СУММА |
| 108 | LR00583 | [4] | ПЛИТА | СУММА |
| 109 | LB00549 | [4] | ГОНКА КОЛЬЦА | СУММА |
| 110 | LB00550 | [4] | ПОДШИПНИК | СУММА |
| 111 | LC00163 | [4] | ШЕСТЕРНЯ СОЛНЦА | СУММА |
| 112 | LR00584 | [4] | ПЛИТА | СУММА |
| 113 | LA00704 | [4] | БОЛТ | СУММА |
| 114 | LC00164 | [1] | ШЕСТЕРНЯ СОЛНЦА | СУММА |
| 115 | LA00705 | [1] | КОЛЬЦО, КНОПКА | КНОПКА КОЛЬЦА СУММЫ |
| 116 | LS00130 | [1] | ДЕРЖАТЕЛЬ | СУММА |
| 117 | LR00585 | [3] | ПЛИТА | СУММА |
| 118 | LB00551 | [3] | ГОНКА КОЛЬЦА | СУММА |
| 119 | LB00552 | [3] | ПОДШИПНИК | СУММА |
| 120 | LC00165 | [3] | ШЕСТЕРНЯ СОЛНЦА | СУММА |
| 121 | LR00586 | [3] | ПЛИТА | СУММА |
| 122 | LR00587 | [1] | ПЛИТА | СУММА |
| 123 | LV00029 | [3] | ВИНТ | СУММА |
| 124 | LC00166 | [1] | ШЕСТЕРНЯ СОЛНЦА | СУММА |
| 125 | LR00588 | [1] | ДИСК | СУММА |
| 131 | LW005570 | [1] | КРЫШКА | СУММА заменяет LW00316 Superseded номером детали: LW006290 |
| 132 | 108R010Z016N | [16] | БОЛТ | СУММА |
| 133 | 165681A1 | [3] | ШТЕПСЕЛЬНАЯ ВИЛКА | СУММА |
| 134 | 154503A1 | [3] | КОЛЦЕОБРАЗНОЕ УПЛОТНЕНИЕ | СУММА |
| 135 | 160104A1 | [4] | PIN | СУММА |
| . . | LZ00652 | [1] | НАБОР УПЛОТНЕНИЯ | СУММИРУЙТЕ плавать; Включая Ref 96, 134 Superseded номером детали: LZ010600 |
Коробка передач редуктора конечной передачи последний компонент в тяговой цепи с управляющим устройством undercarriage, производящ уменьшение высшей скорости и рост вращающего момента.
Атрибуты: Сверхмощные конечные передачи конструированы быть отстраиванным заново и повторно использованным. Belowing следующие компоненты шестерни включены в конечной передаче: шестерня солнца, планетарная шестерня, несущая, шестерня кольца, эпицентр деятельности, снабжение жилищем мотора, подшипник иглы, подшипник ролика, уплотнение.
1. Период гарантии: Гарантия 3 месяцев от даты прибытия. Более длинный период гарантии 6 месяцев смог быть предложен с уровнем более высокой цены.
2. Тип гарантии: замена частей которые имеют качественную проблему.
3. Гарантия инвалидна во внизу случаи
* Cutomer дает неправильно информацию о заказе
* сила Majeure
* неправильные установка и деятельность
* ржавчина из-за неправильного запаса & обслуживания
* сильная коробка или деревянная коробка для компонентов шестерни. Деревянная коробка для собрания коробки передач
* методы доставки: Морским путем, самолетом к местному международному аэропорту, мимо выразите как DHL TNT FEDERAL EXPRESS