| Имя запасных частей экскаватора | перегрейте переключатель предупреждения |
| Образец техники | EX100 EX120 EX200 ZX120 ZX200 |
| Категория частей | Машинные части экскаватора |
| Запасные части подготовляют | Совершенно новый |
| MOQ заказа (PCS, НАБОР) | 1 |
| Наличие частей | В запасе |
| Время выполнения доставки | 1-3 дней |
Isuzu 6BG1 известный двигатель дизеля используемый в различных применениях, включая строительное оборудование, промышленное машинное оборудование, и морские сосуды. Датчик температуры воды (также известный как датчик температуры хладоагента) необходимый компонент системы охлаждения двигателя. Он ответственен за контролировать температуру хладоагента двигателя и снабжать эту информацию группа блока (ECU) или датчика контроля двигателя.
Ключевые функции и особенности датчика температуры воды Isuzu 6BG1 включают:
Воспринимать температуры: Датчик в непосредственном контакте с хладоагентом двигателя, позволяющ ему измерить температуру хладоагента по мере того как он обеспечивает циркуляцию через двигатель.
Выход электрического сигнала: Основанный на температуре хладоагента, датчик отправляет электрический сигнал в группу блока (ECU) или датчика контроля двигателя, обеспечивая критические данные по температуры.
Производительность двигателя: Данные по температуры хладоагента использованы компьютером двигателя для того чтобы отрегулировать время системы подачи топлива, смесь воздушно-топлива, и другие параметры двигателя для оптимальной производительности и топливной экономичности.
Перегревая защита: Датчик температуры воды играет критическую роль в предотвращении перегревать двигателя. Если повышения температуры хладоагента выше безопасный порог, ECU могут вызвать предупредительные световые сигналы или уменьшить силу двигателя защитить двигатель от повреждения.
Чтение датчика температуры: Данные по датчика также использованы для показа температуры хладоагента двигателя на группе датчика приборной панели, позволяющ оператору контролировать рабочую температуру двигателя.
Как с любым датчиком, датчик температуры воды Isuzu 6BG1 должен периодически быть проверен и заменен если он работает неправильно или показывает знаки отказа. Точные чтения температуры жизненно важны к здоровью и представлению двигателя.

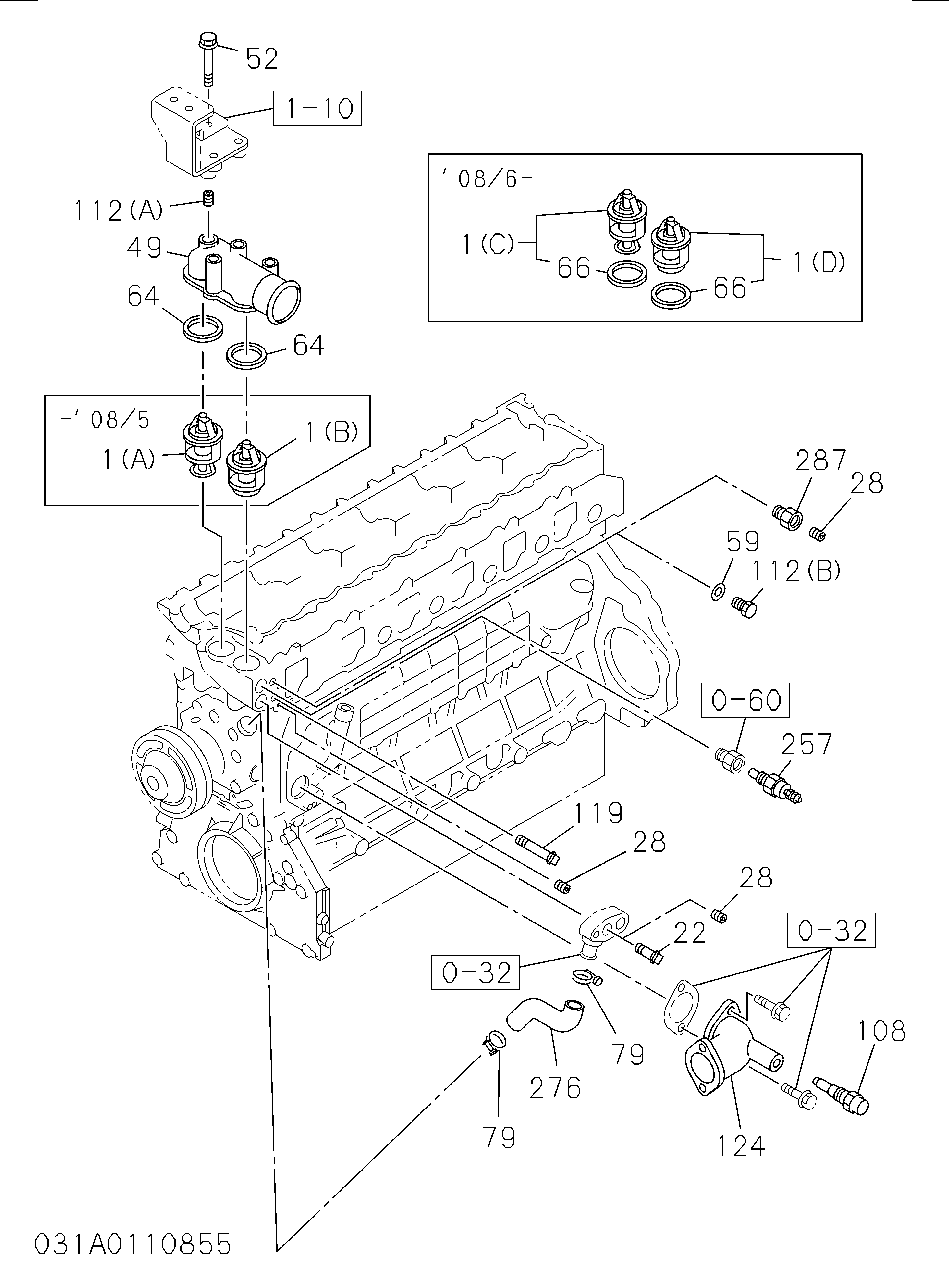
| Pos. | Номер детали | Qty | Имя частей | Комментарии |
| 001 (a). | 8943973100 | [1] | ТЕРМОСТАТ | ℃ 82 |
| 001 (b). | 8943928170 | [1] | ТЕРМОСТАТ | ℃ 82 |
| 001 (c). | 8976020482 | [1] | ТЕРМОСТАТ | ℃ 82 |
| 001 (d). | 8976023931 | [1] | ТЕРМОСТАТ | ℃ 82 |
| 22 | 9099036310 | [1] | ТРУБА; ВЫСОКОТЕМПЕРАТУРНЫЙ РЕАКТОР, ВОЗВРАЩЕНИЕ | PT3/8 & OD=18.3 L=47 |
| 49 | 8943905201 | [1] | ТРУБА; ВЫХОД ВОДЫ | |
| 52 | 280808800 | [1] | БОЛТ; СОЕДИНЕНИЕ, ТЕРМОСТАТ | ФЛАНЕЦ M8X80 |
| 52 | 280908000 | [3] | БОЛТ; СОЕДИНЕНИЕ, ТЕРМОСТАТ | ФЛАНЕЦ M8X100 |
| 52 | 280508800 | [1] | БОЛТ; СОЕДИНЕНИЕ, ТЕРМОСТАТ | ФЛАНЕЦ M8X80 |
| 52 | 280608000 | [3] | БОЛТ; СОЕДИНЕНИЕ, ТЕРМОСТАТ | ФЛАНЕЦ M8X100 |
| 59 | 1096300860 | [1] | НАБИВКА; ШТЕПСЕЛЬНАЯ ВИЛКА | C ID=16.2 OD=22<BR>ALSO ВКЛЮЧИЛ В НАБОРЕ НАБИВКОЙ (ДВИГАТЕЛЬ) |
| 59 | 1096301110 | [1] | НАБИВКА; ШТЕПСЕЛЬНАЯ ВИЛКА | OD=26<BR>ALSO ВКЛЮЧИЛО В НАБОРЕ НАБИВКОЙ (ДВИГАТЕЛЬ) |
| 59 | 1096301110 | [1] | НАБИВКА; ШТЕПСЕЛЬНАЯ ВИЛКА | OD=26<BR>ALSO ВКЛЮЧИЛО В НАБОРЕ НАБИВКОЙ (ДВИГАТЕЛЬ) |
| 64 | 8943704800 | [2] | НАБИВКА; ТРУБА ВЫХОДА К HSG | ТАКЖЕ ВКЛЮЧЕННЫЙ В НАБОРЕ НАБИВКОЙ (ENG & ГОЛОВА) |
| 66 | 8973007930 | [2] | НАБИВКА; ТЕРМОСТАТ HSG | ТАКЖЕ ВКЛЮЧЕННЫЙ В НАБОРЕ НАБИВКОЙ (ENG & ГОЛОВА) |
| 79 | 1097040770 | [2] | ЗАЖИМ; РЕЗИНОВЫЙ ШЛАНГ | ID=44 |
| 108 | 1812297530 | [1] | КРЫШКА; РЕЗИНОВЫЙ, СОЕДИНИТЕЛЬ | |
| 112 (a). | 8943905270 | [1] | ШТЕПСЕЛЬНАЯ ВИЛКА | 1/2-14NPTF |
| 112 (b). | 9992023160 | [1] | ШТЕПСЕЛЬНАЯ ВИЛКА | M16X12 |
| 112 (b). | 9096610050 | [1] | ШТЕПСЕЛЬНАЯ ВИЛКА | M16X8 |
| 119 | 1096605041 | [1] | ТРУБА; ВЫСОКОТЕМПЕРАТУРНЫЙ РЕАКТОР | |
| 124 | 1137118062 | [1] | ТРУБОПРОВОД; ВОДА | |
| 257 | 8971256011 | [1] | ПЕРЕКЛЮЧАТЕЛЬ; ПРЕДУПРЕЖДАЮЩ, ИЗЛИШЕК ЖАРА | |
| 257 | 8971256011 | [1] | ПЕРЕКЛЮЧАТЕЛЬ; ПРЕДУПРЕЖДАЮЩ, ИЗЛИШЕК ЖАРА | |
| 276 | 1093610351 | [1] | ШЛАНГ; ОБХОД |
Машинные части конструированы точно для работы в системе двигателя соотвествовать основного продукта для представления, надежности, стойкости, производственных затрат и урожайности машины.
1. период гарантии: Гарантия 3 месяцев от даты прибытия. Более длинный период гарантии 6 месяцев смог быть предложен с уровнем более высокой цены.
2. тип гарантии: замена частей которые имеют качественную проблему.
3. гарантия инвалидна во внизу случаи
* Cutomer дает неправильно информацию о заказе
* сила Majeure
* неправильные установка и деятельность
* ржавчина из-за неправильного запаса & обслуживания
* сильная коробка или деревянная коробка для компонентов шестерни. Деревянная коробка для собрания коробки передач
* методы доставки: Морским путем, самолетом к местному международному аэропорту, мимо выразите как DHL TNT FEDERAL EXPRESS