| Имя запасных частей экскаватора | Термостат температуры регулятора |
| Образец техники | 311B 312B 320B |
| Категория частей | Части двигателя экскаватора запасные |
| Запасные части подготовляют | Совершенно новый |
| MOQ заказа (PCS, НАБОР) | 1 |
| Наличие частей | В запасе |
| Время выполнения доставки | 1-3 дней |
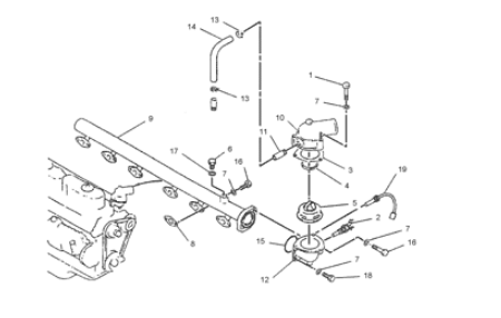
ЭКСКАВАТОР 311 311B 311C 312 312B 312C 312C l 312D 313D 314C 315D l 318C 318D l 319C 319D 319D LN 320 l 320B 320B l 320C 320C FM 320C l 320D 320D LRR 320N 321B 321C 323D L гусеница 323D LN

| Pos. | Номер детали | Qty | Имя частей | Комментарии |
| 1 | 8T-6912 m | [3] | БОЛТ (M8X1.25X50-MM) | |
| 2 | 5I-7578 | [1] | SENDER-TEMPERATURE (ВОДА) | |
| 3 | 5I-7572 | [1] | НАБИВКА | |
| 4 | 5I-7735 | [1] | НАБИВКА | |
| 5 | 5I-8010 | [1] | REGULATOR-TEMPERATURE (ХЛАДОАГЕНТ) | |
| 6 | 5I-8056 | [2] | ШТЕПСЕЛЬНАЯ ВИЛКА | |
| 7 | 3B-4505 | [17] | ПРУЖИННАЯ ШАЙБА | |
| 8 | 2M-5446 | [6] | НАБИВКА | |
| 9 | 5I-7977 | [1] | ТРУБА | |
| 10 | 125-2981 | [1] | КРЫШКА КАК | |
| 11 | 5I-7655 | [1] | ТРУБА | |
| 12 | 5I-7646 | [1] | ЛОКОТЬ | |
| 13 | 2S-3440 | [2] | CLAMP-HOSE | |
| 14 | 5I-7699 | [1] | ШЛАНГ | |
| 15 | 095-1663 | [1] | SEAL-O-RING | |
| 16 | 8T-4908 m | [13] | БОЛТ (M8X1.25X25-MM) | |
| 17 | 096-9532 | [2] | ШАЙБА (15.8X22.5X2-MM THK) | |
| 18 | 8T-4177 m | [1] | БОЛТ (M8X1.25X90-MM) | |
| 19 | 135-2336 | [1] | SENSOR-TEMPERATURE (ТЕМПЕРАТУРА ВОДЫ) | |
| M | МЕТРИЧЕСКАЯ ЧАСТЬ |
части конструированы точно для работы в системе соотвествовать основного продукта для представления, надежности, стойкости, производственных затрат и урожайности машины.
1. Период гарантии: Гарантия 3 месяцев от даты прибытия. Более длинный период гарантии 6 месяцев смог быть предложен с уровнем более высокой цены.
2. Тип гарантии: замена частей которые имеют качественную проблему.
3. Гарантия инвалидна во внизу случаи
* Cutomer дает неправильно информацию о заказе
* сила Majeure
* неправильные установка и деятельность
* ржавчина из-за неправильного запаса & обслуживания
* сильная коробка или деревянная коробка для компонентов шестерни. Деревянная коробка для собрания коробки передач
* методы доставки: Морским путем, самолетом к местному международному аэропорту, мимо выразите как DHL TNT FEDERAL EXPRESS