13-3/8» ПОКРЫВАЯ ADVANCER
13-3/8» ПОКРЫВАЯ ADVANCER
Покрывая Advancer
Advancer кожуха Roschen был конструирован для того чтобы позволить просверлить и кожух, который нужно унести в то же самое время как одна объединенная деятельность.
Эта особенность исключает потребность просверлить отверстие большого диаметра с битом утеса, вытянуть строку шпинделя сверлильного станка и бит утеса от отверстия и после этого ream покрывая заднюю часть в отверстие.
Объединенная деятельность делает Advancer кожуха Roschen eminently соответствующий для сверлить до конца перегружает или пески и гравии.
Также особенно соответствующее для применений места захоронения отходов сверля.
Главные черты:
1. Скважина случаев как выдвижения скважины
2. помощь уменьшает просверлить цену путем сохранение штанги и покрывать регуляцию.
3. Смогите быть использовано со средством утеса или TC. Бит сопротивления.
4. длинная жизнь покрывая ботинка по мере того как оно всегда reaming и никогда не сверлит самостоятельно.
5. особенные топя порты в теле обеспечивают что покрывая бит адекватно потоплен.
6. шпиндели сверлильного станка и кожух польз обычные правые продетые нитку.
7. соответствующий для притока воздуха, воды или грязи.
8. изготовленный от высококачественных материалов.
Покрывая Advancer
1. Этот сверля метод типично использован когда гравий, мостит булыжником, и валуны причиняют преждевременный отказ сверла.
2. сверлить m & w имеет возможность для того чтобы выдвинуть кожух через рушась образования для поддержания целостности скважины.
3. Оба 2 внутри. и 4 внутри. Wells можно установить через покрывая инструменты Advancer.
4. диаметр инструментов сверла – 4 внутри. до 6 внутри.

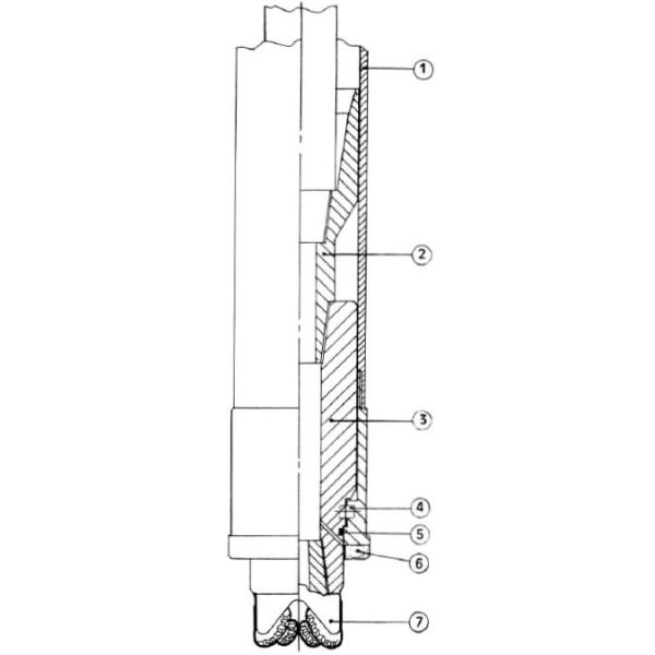
Ключ
1. Стандартный кожух
2. Подводная лодка проводника входа штанги
3. Тело
4. Hi-растяжимый поводковый палец
5. Уплотнение
6. Ботинок кожуха Advancer
7. Сдержал
| Покрывая Advancer - технические данные | |||
| Обычный кожух к снадарту Международной организации стандартизации 3551 | |||
| Обозначение | Кожух O.D. | Удостоверение личности кожуха. | Бит O.D. Advancer. |
| SW. | 6,625" | 6,000" | 7,800" |
| UW. | 7,625" | 7,000" | 8,800" |
| ZW. | 8,625" | 8,000" | 9,800" |
| Кожух Waterwell к BS 879 (полные простые прифуговки) | |||
| Обозначение | Кожух O.D. | Удостоверение личности кожуха. | Бит O.D. Advancer. |
| 6" N.B. | 6,625" | 6,000" | 7,800" |
| 8" N.B. | 8,625" | 8,000" | 8,800" |
| 10" N.B. | 10,750" | 10,000" | 11,93" |
Покрывая бит Advancer и ________________2 потоков шпинделя сверлильного станка. 3/8 API. REG.
Другие потоки штанги возможно включаемые по просьба клиентов особенная.
Покрывая Advancer для того чтобы одеть метрический кожух (более большие размеры) также доступен запросом.
если вы требуете для того чтобы приказать любые детали выше или, то bespoke дизайн после этого пожалуйста отправляет по электронной почте или свяжется нас.
Пожалуйста посоветуйте если ваша система также позволит нашему клиенту просверлить с кожухом в горные породы. Они не будут сверлить до конца перегружают. Они планируют использовать систему для того чтобы выдвинуть кожух глубокий в горные породы (песчаник – известняк).
Ключевые слова:
покрывая система advancer
покрывая advancers в сверлить
13 3 8 покрывая спецификации
13 3 8 покрывая веса
покрывая система advancer
покрывая advancers в сверлить
система symmetrix сверля
метод свода сверля
roschen буровые наконечники
покрывая сверля система
кожух hwt
symmetrix copco атласа
Advancer кожуха HW/HWT
Advancer кожуха NW/HWL
Покрывая системы выдвижения (Symmetrix/Elemex)
Сверло-коронки, Advancer кожуха, резец кожуха, вниз с отверстия
advancer кожуха кабеля для продажи, кожух кабеля
Покрывая система выдвижения
Покрывая Advancer
Покрывая система Advancer
Покрывая диаграмма Advancer
Покрывая выдвижение
Покрывая метод Advancer
Покрывая система выдвижения
Покрывая регулировка Advancer
Покрывая системы выдвижения
покрывая advancers в сверлить
покрывая система advancer
метод свода сверля
шпиндель сверлильного станка awj
покрывая сверля система
система symmetrix сверля
кожух hwt
шпиндель сверлильного станка ew
Advancer кожуха HW/HWT
Покрывать - Advancer
Покрывая система выдвижения
Покрывая системы выдвижения (Symmetrix/Elemex)
покрывая advancers в сверлить
advancer PowerPoint
беспроводной advancer скольжения
advancer скольжения logitech
полки advancer
Кожух Advacner
Advancer кожуха кабеля
Advancer кожуха BQ
Advancer кожуха HQ
Advancer кожуха NQ
Advancer кожуха PQ
Advancer кожуха кабеля BQ
Advancer кожуха кабеля HQ
Advancer кожуха кабеля NQ
Advancer кожуха кабеля PQ
Собрание BW внутреннее
Advancer кожуха кабеля BW
Собрание NW внутреннее
Advancer кожуха кабеля NW
Собрание HW/HWT внутреннее
Advancer кожуха кабеля HWHWT
Собрание PWT внутреннее
Advancer кожуха кабеля PWT
Собрание SW внутреннее
Advancer кожуха кабеля SW
Собрание UW внутреннее
Advancer кожуха кабеля UW
Собрание ZW внутреннее
Advancer кожуха кабеля ZW
Для больше информации, пожалуйста контактируйте:
ROSCHEN INC.
ГРУППА ROSCHEN ОГРАНИЧИВАЛАСЬ
УДЕРЖИВАНИЯ ROSCHEN ОГРАНИЧИВАЛИСЬ
Skype: ROSCHEN.TOOL, ROSCHEN_GROUP
WeChat: +86-137 6419 5009; +86-135 8585 5390
WhatsApp: +86-137 6419 5009; +86-135 8585 5390
Электронная почта: roschen@roschen.com; roschen@roschen.net
Вебсайт: http://www.roschen.com; http://www.roschen.net
http://www.roschen.cn; http://www.roschendrill.com
http://www.roschenmining.com; http://www.roschendrilling.com