Описание:Промышленная распылительная сушилка для экстракта дрожжей с камедью растворимого кофе
1) Контроль размера частиц: размер сухих частиц можно легко контролировать путем распыления жидкого сырья и конструкции входа горячего газа.Эта распылительная сушилка обычно может производить частицы со средним размером частиц от 30 до 500 микрон с распределением в форме колокола.
2) Испарительное охлаждение продукта: Тепломассоперенос при сушке происходит в воздушной и паровой пленках, окружающих каплю.Эта защитная оболочка из пара удерживает частицу при температуре насыщения.Пока частица не станет «сухой до костей», испарение все еще происходит, и температура твердых частиц не приблизится к температуре на выходе из сушилки.
3) Короткое время пребывания: площадь поверхности, образующаяся при распылении жидкого сырья, обеспечивает короткое время пребывания газа, в пределах от 3 до 10 секунд в зависимости от применения, что позволяет проводить распылительную сушку без термической деструкции.
4) Характеристики текучести сухого продукта. Форма большинства частиц, высушенных распылением, сферическая, что обеспечивает свойства текучести, подобные текучим.Это упрощает и удешевляет многие последующие операции, такие как упаковка, прессование, фильтрация и обработка.
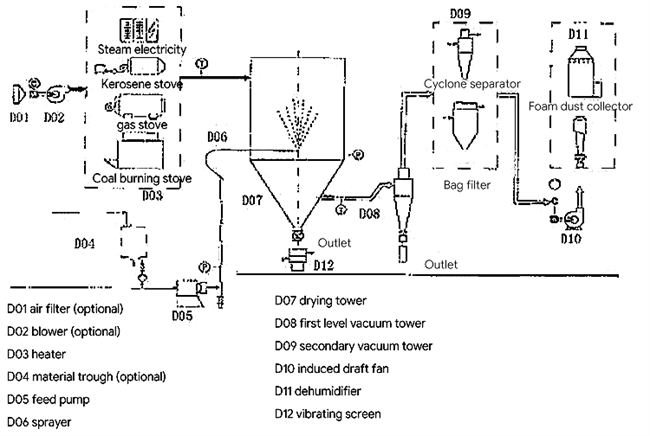
5) Размер сушильной камеры: Размер сушильной камеры специально разработан для предотвращения прилипания капель к внутренней стенке, накопления сухого порошка на конусной части и обеспечения достаточного времени пребывания.
Техническая спецификация:
Модель |
5 | 25 | 50 | 100 | 150 | 200-10000 |
| ºC Температура на входе |
140-350 140-350 автоматическое управление |
|||||
| ºC температура на выходе |
~80-90 | |||||
| кг/ч Максимальное испарение влаги |
5 | 25 | 50 | 100 | 150 | 200-10000 |
| Привод центробежной распылительной головки | Пневматический привод | механический привод |
||||
| (об/мин) скорость |
25000 | 18000 | 18000 | 18000 | 15000 | 8000-15000 |
| (мм) Диаметр распылительного диска |
50 | 100 | 120 | 140 | 150 | 180-340 |
источник тепла |
электрический |
+ электричество + пар | +, Электричество + пар, топливо, газ |
Решено пользователем |
||




Компания Биреф Введение:
Основные продукты и услуги нашей компании включают в себя: сушильное оборудование, машины для грануляции, оборудование для измельчения, полное технологическое оборудование производственной линии, такое как оборудование для производственных линий и оборудование для производства небольших пищевых продуктов;планирование цеха, проектирование производственной линии, установка и ввод в эксплуатацию оборудования, а также строительство на месте.