Модуль 1.25G 20KM 1490/1310nm PX20+++ 6~7dbm OSFP EPON OLT PON
Приемопередатчик GEPON PX20+++ SFP OLT
SFP с приемопередатчиком штепсельной розетки SC/UPC
1490 nm DFB Tx
1310 nm APD Rx
Диагностики SFF-8472 цифров уступчивые
Передача 1250 режима Mbps непрерывная
Тариф 1250 данным по приемника режима взрыва Mbps
Обеспечьте быструю функцию RSSI
Температура случая деятельности: 0~70°C
Исполняет с директивой RoHS (2002/95/EC)
| Параметр | Символ | MIN. | Максимальный. | Блок |
| Temp случая хранения. | TSTG | -40 | 85 | °C |
| Работая Temp случая. | TC | 0 | 70 | °C |
| Напряжение тока электропитания | VCC | 3,1 | 3,6 | V |
| Полное течение электропитания | ICC | - | 350 | Мамы |
| Параметр | Символ | MIN. | Тип. | Максимальный. | Блоки | Примечания |
| Сила оптически передатчика | PO | 4,5 | 6 | 9 | dBm | 1 |
| Выключение оптически передатчика | POFF | - | - | -39 | dBm | |
| Длина волны центра выхода | λ | 1480 | - | 1500 | nm | |
| Ширина спектра выхода | △λ | - | - | 1,0 | nm | |
| Бортовой коэффициент подавления режима | SMSR | 30 | - | - | db | |
| Вымирание Rato | ER | 9 | - | - | db | |
| Оптически время восхода | - | - | - | 260 | ps | |
| Оптически время падения | - | - | - | 260 | ps | |
| Оптически диаграмма глаза | Уступчивый с IEEE Std 802 3ahTM-2004 | |||||
| Допуск к отражению Tx заднему | - | -15 | - | - | db | |
| Тариф данных | - | - | 1,25 | - | Gb/s | |
| Одиночное законченное качание напряжения тока ввода данных | VPP | 200 | - | 1200 | Mv | |
| Дифференциальное входное комплексное сопротивление | ZIN | 80 | 100 | 120 | ом | |
| Максимум напряжения тока выхода недостатка IX | VOH | 2,4 | - | - | V | |
| IX недостаток Oulput Vollage-низкое | VOL. | - | - | 0,4 | V | |
| IX ввод напряжения Dis. Высокий | 20 | 2 | - | V | ||
| Входной сигнал IX_Dis Напряжени тока-низкий | 08 | - | - | 0,8 | V | |
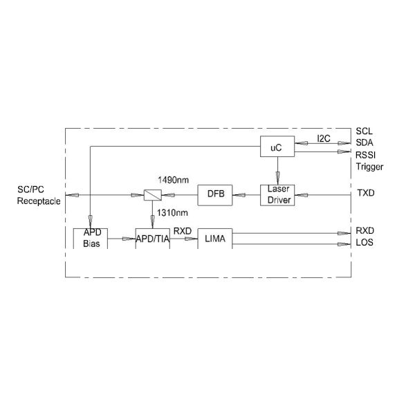
Диаграмма функции

Чертеж плана

Упаковка:
Паковать Neatural:
10PCS/Plastic сумка, 0.3KG/Plastic сумка, 19*16*2CM

Родственные продукты:

Путь оплаты:

Аттестация

Информация о компании


Продукты испытывают машину

Изображение выставки

Оптически модуль приемопередатчика PON порта EPON OLT PX20++ SFP SC приемопередатчика EPON OLT SFP 1.25G 1310/1490nm 20km
Свяжитесь мы
Мой контакт как внизу
Skype: optfocus@outlook.com
Электронная почта: ftth@optfocus.com
Телефон/WhatsApp: +8618126494186
С уважением,
Госпожа Queenty