Строительство внешних окон и дверей Проницаемость воздуха, водонепроницаемость, сопротивление ветровой нагрузке

Предметы испытания:
Диапазон испытаний смещения: - 0,0-50,0 мм
Диапазон испытания давления небольшой диапазон: - 600 Pa~+600 Pa
Область испытаний на напряжение включает широкий диапазон: - 7000 Pa ~ + 7000 Pa
Диапазон испытаний потока воды: - 100~1000 л/ч
Диапазон испытания воздушного потока: - 0,0 ~ 670 м ^ 3 / ч
- (длина х ширина х высота): 950 мм х 600 мм х 870 мм
Коробка статического давления (3030): - (длина, ширина, высота): 2800 мм х 1800 мм х 3800 мм
Максимальная обнаруживаемая площадь для испытаний: - 3 м х 3 м
Максимальная мощность всей системы: - 13 кВт Тримерные размеры 3mx3m
Двери и окна Размер отпечатков оборудования (мм): - длина 4100x ширина 5500x высота 3500
Чистый размер оборудования (мм): - длина 4100x ширина 3500 × высота 3300
Требования к конфигурации:
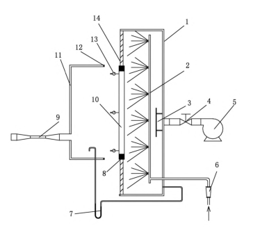
1. Коробка давления (соответствует GB/T7106-2019)
2. Система установки пробной части (соответствует GB/T7106-2019)
3. Система подачи давления (соответствует GB/T7106-2019)
4. Система распыления воды (соответствует GB/T7106-2019)
5. Система измерений (соответствует GB/T7106-2019)

