Оборудование для испытаний выносливости самоката ЭН14619-2015
Введение:
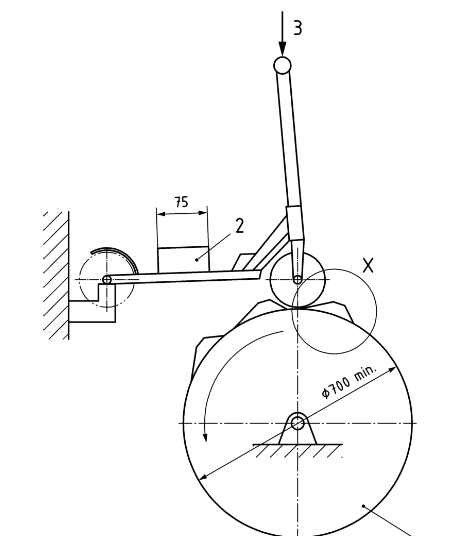
Стандартная машина ЭН14619-2015 сымитировать самокат под некоторой нагрузкой согласно некоторой скорости к некоторому пробегу, для проверки нижнего колеса тела самоката и автомобиля и других компонентов представления удара. Каждый параметр можно иньпут и установить, легкий для того чтобы работать, удобный для использования, сейф, конюшня и дурабле.
Технические параметры:
| Диаметр ролика | Φ 700, 0,5 м длинное |
| Количество блоков удара | 3 |
| Управлять скоростью | 0-1 м/с, регулируемых |
| Нагрузка | педаль 180кг добавлена по весу |
1. Пробег: 1-999км, которое можно установить, и автоматически остановить при достижении установленного значения;
2. спецификации блока удара: согласно стандартным требованиям, используя стальную пластину;
3. Метод отладки весов: покрытый утюг с обеих сторон педали самоката. Весы помещены на педали свободно.
4. Режим отладки самоката: переднее колесо самоката помещено на ролике, и вертикальная штанга зафиксирована приспособлением на шкафе. Заднее колесо зажато передвижной квадратной трубкой с обеих сторон автошины для того чтобы исправить заднее колесо.
5. Самокаты различных размеров и спецификаций;
6. Электрическое управление программы экрана касания ПЛК;
7. Основной корпус машины сварен с стальной структурой, с высокопрочной и хорошей стабильностью;
8. Образец зафиксирован с регулируемой алюминиевой структурой поддержки профиля;
9. Работая электропитание: 380в, 50Хз
10. Сварите стальную пластину на стороне большой ЭВМ, которая использована для того чтобы исправить самокат вверх ногами, и испытать поднимаясь прочность кнюппеля.
Стандарт:
ЭН14619-2015
