пусковая площадка установки ISO шарикового клапана полной скважины углерода отливки вклада тела 2-Split стальная плавая
Спецификации
Шариковый клапан углерода отливки вклада стальной плавая
Соответствующий для:
- Масло
- Вода
- Индустрии канализации
- Химикаты
Применимые стандарты:
- Дизайн: GB/T12237-2008
- Фланец конца: HG/T20592-2009
- Лицом к лицу: GB/T12221-2005
- Испытывать осмотра: GB/T13927
Ряд размера:
- DN15~DN200
Оценка давления:
- GB PN16 PN25 PN40
Диапазон температур:
- -20°C~185°C
Шариковый клапан, разделени-тело, полно-скважина, плавая шариковый клапан представляет самые высокие стандарты в технологии клапана. Шариковый клапан мульти-пути не только может гибко контролировать стечение, разделять, и переключение направления подачи средства, но также может закрыть любой канал и соединить другие 2 канала.


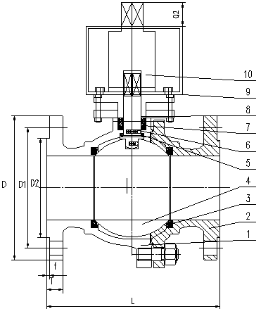
| PN (Mpa) | DN | L | D | D1 | D2 | T | f | N-φh | Q | Q1 | Q3 | Q2 | |
| 1,6 | 50 | 203 | 165 | 125 | 102 | 18 | 2,5 | 4-18 | 70 | 102 | 12 | 17 | |
| 65 | Свяжитесь мы свободно | ||||||||||||
| 80 | |||||||||||||
| 100 | |||||||||||||
| 125 | |||||||||||||
| 150 | |||||||||||||
| 200 | |||||||||||||
Применение
Шариковые клапаны CXDLV, служа многонациональные пользователи в широком диапазоне применений в много индустрий, включая рафинировку нефти, международные трубопроводы, охрану природы химических, бумажных, фармацевтических, воды, электричество, муниципальное, сталь и другие индустрии.
Преимущество
1. небольшое жидкое сопротивление: пневматический шариковый клапан самые небольшие жидкого сопротивления всей классификации клапана, даже уменьшенного шарикового клапана диаметра пневматического, свое жидкое сопротивление довольно небольшой.
2. Уплотнение стержня надежно: В виду того что стержень клапана только вращает и не двигает вверх и вниз, пакуя уплотнение стержня клапана не легко для того чтобы сломать, и герметизируя увеличения мощности с увеличением среднего давления.
3. Герметизируя представление места клапана хорошо: герметизируя кольцо сделанное из эластичного материала как PTFE легко для того чтобы загерметизировать, и способность клапана герметизируя повышений пневматического шарикового клапана с увеличением среднего давления.
Модельный выбор
пусковая площадка установки ISO шарикового клапана полной скважины углерода отливки вклада тела 2-Split стальная плавая
| Стандарт | GB | |||
| Установка | Пусковая площадка установки ISO5211 | |||
| Тип | Плавать | |||
| Модель | Q41F | |||
