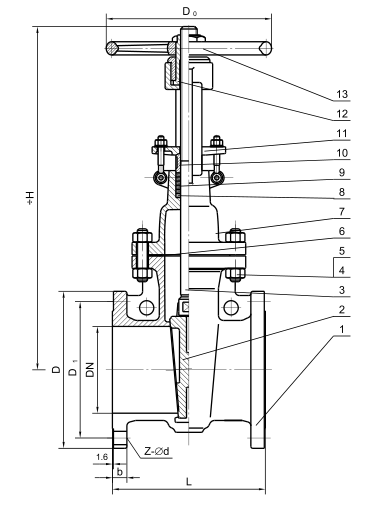
Нержавеющая сталь Bonnet запорной заслонки служила фланцем скрепленным болтами с управляемой ручкой
Спецификации
Применимые стандарты:
- Дизайн и изготовление согласно ASME B16.34, API608
- Лицом к лицу согласно ASME B16.10
- Фланцы конца согласно ASME B16.5
- Осмотр и тест согласно API 598
Ряд размера:
- 1/2 " ~10"
Оценка давления:
- PN16/PN25/PN40, ANSI150/300, JIS10K
Диапазон температур:
- -20°C~185°C
Клин:
- Гибкий,
Конструкция:
- OS&Y (поднимая стержень)
Применение
Запорные заслонки нержавеющей стали Z41W имеют компактную текстуру, разумный дизайн, хорошую ригидность клапана, ровный канал, небольшой коэффициент акустического омического сопротивления, поверхность для заклеивания сделаны из нержавеющей стали и твердого сплава, длинного срока службы, гибкой упаковки графита, надежной деятельности уплотнения, светлых и гибких. Соответствующее для пускать по трубам различных систем станций нефти, химических, гидравлических и тепловой мощности с давлением деятельности 1.6mpa | 20.0mpa и работая температура -29℃~185℃.

| РАЗМЕР | L (RF) | d | H | H1 | W | W1 |
| 1" | 127 | 25 | 240 | / | 140 | / |
| 1 1/4" | 140 | 32 | 300 | / | 180 | / |
| 1 1/2» | 165 | 38 | 395 | / | 200 | / |
Особенность
1)Характеристики продукта: соотвествуйте предварительных стандартов в стране и за рубежом, надежное уплотнение, превосходное представление, красивая форма.
2)Герметизируя пара предварительна и разумен, поверхности для заклеивания ворот и места клапана отделывать поверхность сваренный с твердым сплавом различной твердости, запечатывание надежная, высокая твердость, носк-сопротивляться, высокотемпературное сопротивление, коррозионная устойчивость, хорошее сопротивление ссадины и длинная жизнь.
3) стержень клапана путем подготовлять и поверхностная обработка нитрирования, имеет хорошую коррозионную устойчивость, сопротивление ссадины и носит сопротивление. Он может использовать разнообразие пронзительные стандарты фланца и форму поверхности для заклеивания фланца, для того чтобы отвечать потребностямы различных проектов и требований к потребителя.
4)Объем пользы: этот продукт можно использовать в нефти, химикате и других индустриях.
Модельный выбор
Запорная заслонка
| Стандарт | ANSI | GB | JIS | DIN |
| Давление | 150LB/300LB | PN16/PN25/PN40 | 10K/20K | PN16/PN40 |
| Материал клапана | 1) CF8/SCS13/SS304 2) CF8M/SCS14/SS316 3) CF3/SS304L 4) CF3M/SS316L 5) WCB | |||
| Эксплуатируемый тип | Маховичок, шестерня, электрический, пневматический, обнаженный вал и etc. | |||
