Сварка гнезда давления нержавеющей стали ASME B16.11 высокая & продетое нитку половинное соединение
Информация о продукте
| Название продукта | ASEM B16.11 выковало штуцер давления штуцеров высокий |
| Ряд размера | 1/8" до 4" |
| Стандарты |
ANSI/ASMEB B1.20.1 (тип потока) ASME B16.11 |
| Приспосабливая тип | Соединение Гнезд-заварки (SW) половинное, продетое нитку соединение половины (THD) |
| Класс давления |
Нарезанный конец: 3000LBS, 6000LBS Конец гнезда сваривая: 3000LBS, 6000LBS, 9000LBS |
| Финиш | Гальванизированный, черный (углерод), замариновал |
Соединение половины ASME B16.11 выкованный штуцер главным образом используемый для соединять привинченную небольш-скважину (THD) или трубу гнезд-сварки (SW) с трубой больш-скважины главной, который побежали (заголовком). Соединения SW половинные доступны в классе 3000, 6000 и 9000. Он обычно имеет более большую общую длину чем двойники SW полностью соединяя. Продетые нитку половинные соединения доступны в классе 3000 и 6000. Своя общая длина половина продетых нитку полностью соединяя двойников. И конструкция и функция половинного соединения отличают это из полного соединения. Только один конец поставлен с любые сваривать гнезда или внутренне продетая нитку структурой. 2 общих метода используемого для того чтобы наладить связи ветви с половинными соединениями: (1) половинное соединение отдыхает на внешней поверхности заголовка трубы и сварено от снаружи. (2) отверстие пробурено в заголовок трубы большой достаточно для принятия OD половинного соединения. Половинное соединение введено в отверстие и после этого сварено.
Размеры соединений SW ASME B16.11 половинных (mm)

| NPS | B максимальный. |
B MIN. |
J MIN. |
F минута |
| 1/8" | 11,2 | 10,8 | 9,5 | 16,0 |
| 1/4" | 14,6 | 14,2 | 9,5 | 16,0 |
| 3/8" | 18,0 | 17,6 | 9,5 | 17,5 |
| 1/2» | 22,2 | 21,8 | 9,5 | 22,5 |
| 3/4" | 27,6 | 27,2 | 12,5 | 24,0 |
| 1" | 34,3 | 33,9 | 12,5 | 28,5 |
| 1-1/4» | 43,1 | 42,7 | 12,5 | 30,0 |
| 1-1/2» | 49,2 | 48,8 | 12,5 | 32,0 |
| 2" | 61,7 | 61,2 | 16,0 | 41,0 |
| 2-1/2» | 74,4 | 73,9 | 16,0 | 43,0 |
| 3" | 90,3 | 89,8 | 16,0 | 44,5 |
| 4" | 115,7 | 115,2 | 19,0 | 48,0 |
| NPS | 3000# | 6000# | 9000# | |||
|
C максимальный. |
C MIN. |
C максимальный. |
C MIN. |
C максимальный. |
C MIN. |
|
| 1/8" | 3,18 | 3,18 | 3,96 | 3,43 | - | - |
| 1/4" | 3,78 | 3,30 | 4,60 | 4,01 | - | - |
| 3/8" | 4,01 | 3,50 | 5,03 | 4,37 | - | - |
| 1/2» | 4,67 | 4,09 | 5,97 | 5,18 | 9,35 | 8,18 |
| 3/4" | 4,90 | 4,27 | 6,96 | 6,04 | 9,78 | 8,56 |
| 1" | 5,69 | 4,98 | 7,92 | 6,93 | 11,38 | 9,96 |
| 1-1/4» | 6,07 | 5,28 | 7,92 | 6,93 | 12,14 | 10,62 |
| 1-1/2» | 6,35 | 5,54 | 8,92 | 7,80 | 12,70 | 11,12 |
| 2" | 6,93 | 6,04 | 10,92 | 9,50 | 13,84 | 12,12 |
| 2-1/2» | 8,76 | 7,67 | - | - | - | - |
| 3" | 9,52 | 8,30 | - | - | - | - |
| 4" | 10,69 | 9,53 | - | - | - | - |
| NPS | 3000# | 6000# | 9000# | |||
| D максимальный. |
D MIN. |
D максимальный. |
D MIN. |
D максимальный. |
D MIN. |
|
| 1/8" | 7,6 | 6,1 | 4,8 | 3,2 | - | - |
| 1/4" | 10,0 | 8,5 | 7,1 | 5,6 | - | - |
| 3/8" | 13,3 | 11,8 | 9,9 | 8,4 | - | - |
| 1/2» | 16,6 | 15,0 | 12,5 | 11,0 | 7,2 | 5,6 |
| 3/4" | 21,7 | 20,2 | 16,3 | 14,8 | 11,8 | 10,3 |
| 1" | 27,4 | 25,9 | 21,5 | 19,9 | 16,0 | 14,4 |
| 1-1/4» | 35,8 | 34,3 | 30,2 | 28,7 | 23,5 | 22,2 |
| 1-1/2» | 41,6 | 40,1 | 34,7 | 33,2 | 28,7 | 27,2 |
| 2" | 53,3 | 51,7 | 43,6 | 42,1 | 38,9 | 37,4 |
| 2-1/2» | 64,2 | 61,2 | - | - | - | - |
| 3" | 79,4 | 76,4 | - | - | - | - |
| 4" | 103,8 | 100,7 | - | - | - | - |
Общее примечание: все размеры в миллиметре
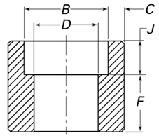
Примечания: B: Диаметр расточки гнезда; C: толщина стены гнезда; D: диаметр расточки соединения SW половинного; J: глубина гнезда; F: кладя длина соединения SW половинного
Размеры ASME B16.11 продели нитку половинные соединения (mm)

| NPS | B | L2 | D 3000# |
D 6000# |
W/2 |
| 1/8" | 6,4 | 6,7 | 16 | 22 | 16 |
| 1/4" | 8,1 | 10,2 | 19 | 25 | 17,5 |
| 3/8" | 9,1 | 10,4 | 22 | 32 | 24 |
| 1/2» | 10,9 | 13,6 | 28 | 38 | 24 |
| 3/4" | 12,7 | 13,9 | 35 | 44 | 25,5 |
| 1" | 14,7 | 17,3 | 44 | 57 | 30 |
| 1-1/4» | 17,0 | 18,0 | 57 | 64 | 33,5 |
| 1-1/2» | 17,8 | 18,4 | 64 | 76 | 39,5 |
| 2" | 19,0 | 19,2 | 76 | 92 | 43 |
| 2-1/2» | 23,6 | 28,9 | 92 | 108 | 46 |
| 3" | 25,9 | 30,5 | 108 | 127 | 54 |
| 4" | 27,7 | 33,0 | 140 | 159 | 60,5 |
Общее примечание: все размеры в миллиметре
Примечание: B: минимальная длина идеального потока; L2: действительная длина внешнего потока; D: вне диаметра; W/2: длина конца ot конца продетого нитку половинного соединения.