| Воспринимать ряд | 100… 1000 мм |
| Ряд регулировки | |
| Неиспользованная область | 0… 100 мм |
| Стандартная плита цели | 100 мм кс 100 мм |
| Частота датчика | аппрокс.220 КГц |
| Задержка ответа | госпожа приблизительно 50 |
| Синь СИД | включение питания |
|
Желтый цвет СИД |
индикация государства переключения проблескивать: обнаруженный объект функции программы |
|
Красный цвет СИД |
постоянно красный: Красный цвет ошибки, проблескивая: функция программы, возражает не обнаруженный |
| Рабочий потенциал УБ | ДК 15… 30 в, струится 10% СС |
| Поставка настоящее И0 нулевой нагрузки | мамы ≤ 45 |
| Тип входного сигнала | 1 УЧИТЬ-В входном сигнале |
|
рабочий диапазон А1: - УБ… +1 в, рабочий диапазон А2: +6 в… +УБ |
|
| входное комплексное сопротивление: > кΩ 4,7; УЧИТЬ-В ИМПе ульс программы: ≥ 1 с |
| Тип выхода | 1 выход Э4 переключателя, НПН НО/НК, программабле |
| Расклассифицированный Ие рабочего тока | 200 мам, короткое замыкание/защищенная перегрузка |
| Начальная установка | Пункт переключения А1: пункт переключения А2 70мм: 800мм |
| Падение напряжения тока | ≤ 2,5 в |
| Точность повторения | ≤ 1% |
| Частота ф переключения | ≤ 13 Хз |
| Гистерезис х ряда | 2% из установленного работая расстояния |
| Влияние температуры | ±1.5% из максимально считываемого значения |
| Температура окружающей среды | -25… 70℃ (248… 343К) |
| Температура хранения | -40… 85℃ (233… 358К) |
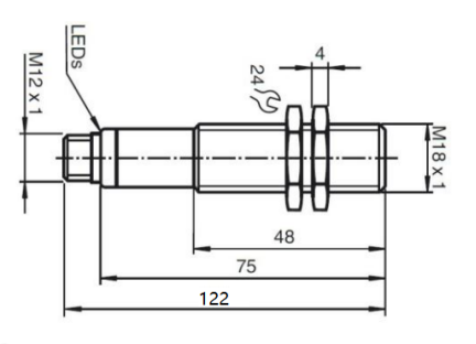
| Соединение | Соединитель В1 (М12×1), 4-пин |
| Степень защиты | ИП67 |
| Материальное снабжение жилищем | никел-покрытая латунь, |
| Датчик |
смесь сферы эпоксидной смолы/полости стеклянная; полиуретан пены, крышка ПБТ |



Ультразвуковой датчик отличает переключателем выведенным наружу с 2 теачабле пунктами переключения. Эти установлены путем придавать подачу напряжения - УБ или + УБ на УЧИТЬ-В входном сигнале. Подачу напряжения необходимо приложить к УЧИТЬ-В входном сигнале для по крайней мере 1 с.ЛЭДс показывает узнавал ли датчик цель во время УЧИТЬ-В процедуре. Пункт переключения А1 научен с - УБ, А2 с +УБ. 8 различных функций выхода можно установить.
Пункт переключения, расстояние установки только после силы дальше. Внутренние часы могут уверить нельзя изменить после 5 минут когда сила дальше. Если хотеть изменять пункт переключения, то потребитель может только устанавливающ расстояние запроса после того как рестарт силы.
УЧИТЬ-В режиме окна, нормальн-открытая функция
набор цель к близко пункту переключения
- УЧИТЬ-В пункте переключения А1 с - УБ
набор цель к далекому пункту переключения
- УЧИТЬ-В пункте переключения А2 с + УБ
УЧИТЬ-В режиме окна, нормальн-закрытая функция
набор цель к далекому пункту переключения
- УЧИТЬ-В пункте переключения А2 с - УБ
набор цель к близко пункту переключения
- УЧИТЬ-В пункте переключения А1 с + УБ
УЧИТЬ-В пункте переключения, нормальн-открытая функция
набор цель к близко пункту переключения
- УЧИТЬ-В пункте переключения А1 с - УБ
- Датчик крышки с рукой или извлекает все объекты
от воспринимать ряд
- УЧИТЬ-В пункте переключения А2 с + УБ
УЧИТЬ-В пункте переключения, нормальн-закрытая функция
- Датчик крышки с рукой или извлекает все
объекты от воспринимать ряд
- УЧИТЬ-В пункте переключения А2 с - УБ
набор цель к близко пункту переключения
- УЧИТЬ-В пункте переключения А1 с + УБ
Интервал гистерезиса ТЭАК-ИН большой, нормальн-открытый режим
набор цель к близко пункту переключения
- УЧИТЬ-В пункте переключения А1 с + УБ
набор цель к далекому пункту переключения
- УЧИТЬ-В пункте переключения А2 с - УБ
Интервал гистерезиса ТЭАК-ИН большой, нормальн-закрытый режим
набор цель к далекому пункту переключения
- УЧИТЬ-В пункте переключения А2 с + УБ
набор цель к близко пункту переключения
- УЧИТЬ-В пункте переключения А1 с - УБ
УЧИТЬ-В обнаружении режима присутсвия объектов нормально открытого
- Датчик крышки с рукой или извлекает все объекты из
воспринимать ряд
- УЧИТЬ-В пункте переключения А2 с - УБ
- Датчик крышки с рукой или извлекает все объекты из
воспринимать ряд
- УЧИТЬ-В пункте переключения А2 с + УБ
УЧИТЬ-В обнаружении присутсвия объектов нормально закрыл режим
- Предусматривайте датчик с рукой или извлеките все объекты от воспринимать ряд
- УЧИТЬ-В пункте переключения А2 с +УБ
- Датчик крышки с рукой или извлекает все объекты из воспринимать ряд
- УЧИТЬ-В пункте переключения А2 с - УБ
Начальная установка пункта переключения
Ряд А1=блинд, расстояние А2=номинал

| Дисплеи СИД | ||
| Дисплеи в зависимости на работающем режиме | Красное СИД | Желтое СИД |
|
УЧИТЬ-В пункте переключения Обнаруженный объект Отсутствие обнаруженного объекта Объект неуверенный (УЧИТЬ-В инвалидном) |
с вспышек дальше |
вспышки с |
| Нормальное функционирование | с | Переключая государство |
| Недостаток | на | Предыдущее государство |
5. условия установки
Если датчик установлен на падение температуры окружающей среды под 0℃, то он должен сделать хорошо на предохранительных мерах. В случае сразу установки датчика в а через отверстие используя стальные гайки, он должен быть фиксирован на середине потока снабжения жилищем.