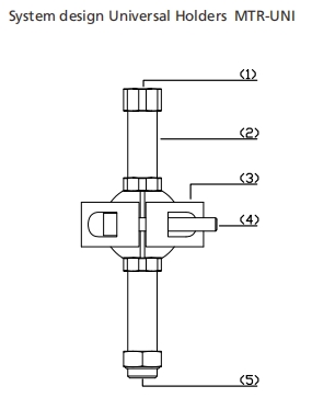
Материал алюминия держателей МТР-УНИ универсалии штуцеров чашки вакуума регулируемый
1. Введение и применение
- Всеобщие держатели позволяют быстрой установке компонентов вакуума на луч нагрузки с разнообразие соединителями
- Регулируемые высота и наклонение для гибкого приспособления к воркпьесес.
2.Структуре

- Держатель сделанный из высокопрочного анодированного алюминия, состоящ из трубки держателя (2), струбцины шарика (3) и различных переходников для устанавливать квадратных и круглых трубок;
- Продетая нитку трубка (5) имеет поток Г1/4 на дне для чашки всасывания и поток Г1/4 на верхнее (1) для соединения линии вакуума или встроенного выталкивателя;
- Пустите линию или установку по трубам линейного генератора вакуума;
- Включая обеспечивая винты (4);
данные 3.Десинь:


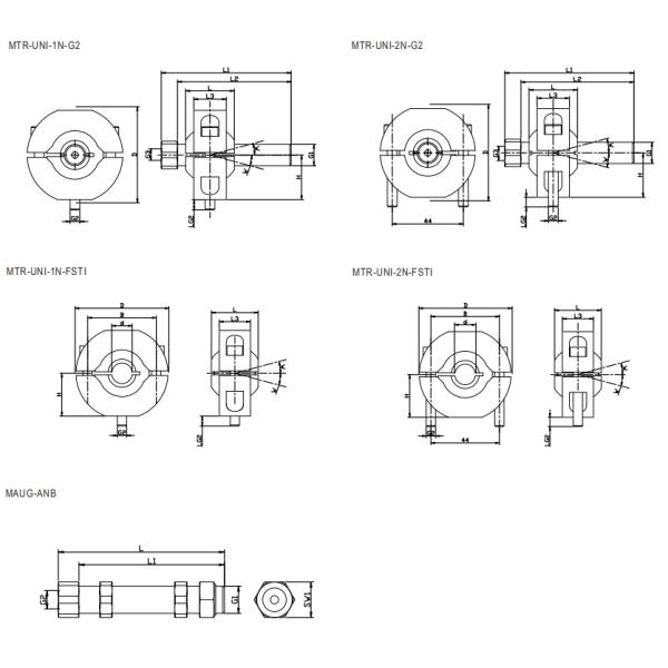
Примечание ***: 1Н (один слайдер) 2Н (2 слайдер) Г2 (поток соединения)