1A 2A 3A 5A 15A 75C до 250C Тепловые связки предохранители 10A 250V Тепловые предохранители
Описание теплового предохранителя 10A 20A 30A 40A 50A
Термозащитный отсек серии Y - это неперезагружаемый инструмент теплозащиты.Когда температура окружающей среды теплового предела повышается до ненормальной температурыЕго полностью герметизированная структура обеспечивает стабильность и надежность, и на него не влияет влажность окружающей среды и так далее.Его основные особенности:: чрезвычайно чувствительны к температуре окружающей среды; точная и стабильная температура работы; компактная, эпоксидная конструкция; надежный, одобренный различными международными стандартами безопасности.

СтруктураТермозащитный предохранитель квадратного типа
Тепловой предохранитель состоит из пластиковой оболочки, проволоки из сплава с низкой температурой плавления, специальной смолы, свинцового медного проволоки и уплотнительной смолы.

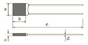
Размеры 250В радиального свинцового теплового предохранителя
![]() |
||||
| а) | b | c | d | e |
| 15±0.5 | 15±0.5 | 5±0.5 | 2.5±0.1 | 50±5 |
| Тип | Tf ((°C) | Tc(°C) | Tm ((°C) | Температура предохранителя ((°C) | Напряжение ((V) | В)) А) | |||||||||
| Y35 | 130 | 102 | 150 | 127±3 | 250 | 40 | |||||||||
10А
| Модель Нет, нет, нет. |
Tf (°C) | Фюзе-темп (°C) |
TH (°C) | TM (°C) | Ir (A) | Ur (V) | * В 8/20с (15 Время) |
*Imax 8/20с (1 раз) |
| Y102 | 102 | 98±2 | 72 | 200 | 10 | 250 AC | 5KA | 10KA |
| Y115 | 115 | 111±2 | 85 | |||||
| Y136 | 136 | 131±2 | 106 | |||||
| Y102 | 102 | 98±2 | 72 | 200 | 15/16 | 250 AC | 6KA | 12KA |
| Y115 | 115 | 111±2 | 85 | |||||
| Y136 | 136 | 131±2 | 106 | |||||
20А 25А
|
Модель
Нет, нет, нет. |
Tf (°C) | Фюзе-темп (°C) |
TH (°C) | TM (°C) | Ir (A) | Ur (V) | * В 8/20с (15 Время) |
*Imax 8/20с (1 раз) |
| 2Y115 | 115 | 111±2 | 82 | 200 | 20 | 250 AC | 15KA | 25KA |
| 2Y136 | 136 | 131±2 | 102 | |||||
| 2Y115 | 115 | 111±2 | 82 | 200 | 25 | 250 AC | 20KA | 30KA |
| 2Y136 | 136 | 131±2 | 102 | |||||
|
Модель
|
Tf (°C) | Время зажигания предохранителя (°C) | TH (°C) | TM (°C) | * В 8/20с (15 Время) |
*Imax 8/20с (1 раз) |
Ir (A) | Ur (VAC) |
| 3Y102 | 102 | 99±2 | 65 | 160 | 20KA | 40KA | 30 | 250 |
| 3Y115 | 115 | 112±2 | 78 | 160 | 20KA | 40KA | 30 | 250 |
| 3Y125 | 125 | 122±2 | 90 | 160 | 20KA | 40KA | 30 | 250 |
| 3Y130 | 130 | 126±2 | 96 | 160 | 20KA | 40KA | 30 | 250 |
| 3Y136 | 136 | 132±2 | 102 | 160 | 20KA | 40KA | 30 | 250 |
| 3Y150 | 150 | 146±2 | 116 | 160 | 20KA | 40KA | 30 | 250 |
| 4Y102 | 102 | 99±2 | 61 | 160 | 30KA | 60 КА | 40 | 250 |
| 4Y115 | 115 | 112±2 | 74 | 160 | 30KA | 60 КА | 40 | 250 |
| 4Y125 | 125 | 122±2 | 84 | 160 | 30KA | 60 КА | 40 | 250 |
| 4Y130 | 130 | 126±2 | 88 | 160 | 30KA | 60 КА | 40 | 250 |
| 4Y136 | 136 | 132±2 | 94 | 160 | 30KA | 60 КА | 40 | 250 |
| 4Y150 | 150 | 146±2 | 108 | 160 | 30KA | 60 КА | 40 | 250 |
Маркировка теплового предохранителя от молнии

