Двигатель экскаватора с мотором YN15V00036F3 YN32W00019F1 качания коробки передач SK200-8 SK210-8
| Название продукта: | Части Weiyou отбрасывают мотор с конечной передачей коробки передач |
| Применимые индустрии: | Промышленное предприятие, ремонтные мастерские машинного оборудования, другое |
| Место происхождения: | Гуандун, Китай |
| Зацеплять расположение: | Планетарный |
| Применение: | Экскаватор |
| Модель машины: | SK200-8, SK210D-8, SK215SRLC, SK235SR-2, SK260-9 |
| Номер детали: | YN15V00036F3 YN32W00019F1 |
| Совместимый бренд: | Kobelco, другие |
| Вес: | О 250KG |
| Размер случая: | см 42*42*54 |
| Качество: | Высококачественный |
| Номер WhatsApp: | +86 19867570553 |
| Срок поставки: | 5 дней с получать оплату, не подгонянный деталь |
ОПИСАНИЕ:
1. Все компоненты произведены нами.
2. Все новое, неповрежденный.
3. покрашенный или unpainted, зависите от требования
4. 1000 рабочих часов гарантии, звонка или электронной почты со всеми вопросами.
5. упаковка случая переклейки, освобождает окуривания
6. поставьте ко всемирно морским путем, воздух, или несущая.
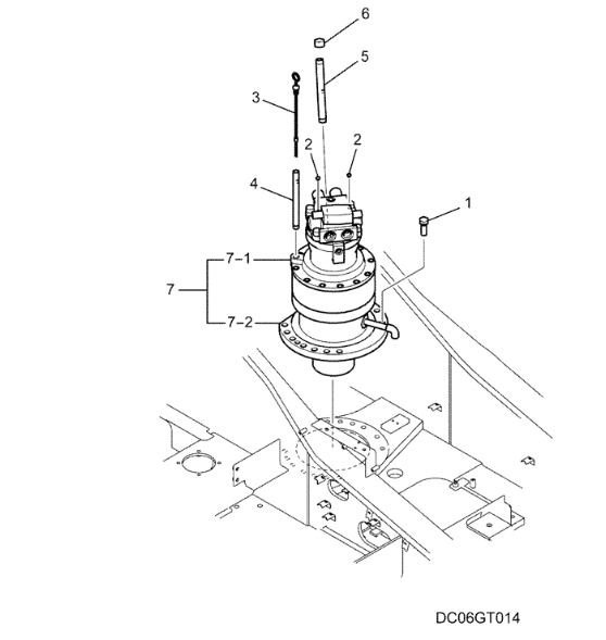
Мотор качания конечной передачи SK200-8 с изображением коробки передач:

Мы можем обеспечить другие части:

Части на приборе качания группы SK210-8:
| Pos. | Номер детали | Qty | Имя частей | Комментарии |
| 1 | ZS13C20055 | [13] | ВИНТ | Винт KOB -- M20x2.50x55mm |
| 2 | YN64H01391D1 | [2] | КРЫШКА | Пластиковое KOB 10.0mm прорезанное |
| 3 | YN32W01101D1 | [1] | ДАТЧИК УРОВНЯ | SM 385.5mm длинное (15-11/64 внутри) |
| 4 | YN32W01114D1 | [1] | ТВЕРДАЯ ТРУБКА | SM 262mm длинное (10-5/16 внутри) |
| 5 | YN32W01122D1 | [1] | ТВЕРДАЯ ТРУБКА | SM |
| 6 | ZE91T12000 | [1] | ШТЕПСЕЛЬНАЯ ВИЛКА | Крышка SM, 3/4" PT |
| 7 | YN15V00036F3 | [1] | МОТОР, 129.2CC | Собрание мотора качания KOB гидравлическое Superseded номером детали: YN15V00069F1 |
| 7-1. | YN15V00035F1 | [1] | ГИДРАВЛИЧЕСКИЙ МОТОР | Собрание SM - см. FIG. 07-001 [01] Superseded номером детали: YN15V00055F1 |
| 7-2. | YN32W00022F2 | [1] | БЛОК УМЕНЬШЕНИЯ ШЕСТЕРНИ | Блок уменьшения шестерни качания KOB - см. FIG. 07-002 |
ПОЧЕМУ США:
вопросы и ответы:
Q1. Что ваши условия платежа?
T/T, западное соединение, PayPal
Q2. Что ваши сроки поставок?
Море, воздух, срочный
Q3. Как о вашем сроке поставки?
Вообще, оно примет в течение 25 часов после получать вашу плату авансом. Специфический срок поставки зависит на деталях и количестве вашего заказа.
Q4. Можете вы произвести согласно образцам?
Да, мы можем произвести вашими образцами или техническими чертежами. Мы можем построить прессформы и приспособления.
Q5. Что ваша политика образца?
Мы можем поставить образец если мы имеем готовые части в запасе, то но клиенты должны оплатить цену образца и курьер стоил.