Соединять волокна очень важная часть техники связи оптического волокна.
2 метода обыкновенно используемого для того чтобы соединить оптическое волокно, они соединять волокна холодные и сплавлять волокна
соединять, оба эффективен но использованный в различных применениях, эта статья объяснит их внутри
детализируйте и уточните разницу между соединять волокна холодный и соединять волокна сплавляя.
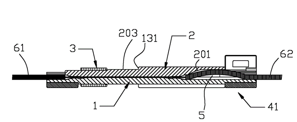
Соединитель волокна быстрый соединяя также вызван соединителем сборки на месте, значит только пользу простую
сплисер сплавливания соединяя инструментов не для того чтобы осуществить прекращенный кабель падения. Во время собрания, отсутствие клея потребности
распределять и блеск.
Стандартный соединяя пункт
Согласно теории механического соединения оптического волокна быстрого соединителя соединения, на этап соединения волокна пре-
меля сферически резинка сусла приспособленная с обработанной резанием поверхностью сцены, соответствуя жидкость/масло только поддерживая роль
компенсировать агент, быть использованным как постоянный агент иждивенца продолжения.
Стандарт пре-меля сферически поверхностная целостность, отсутствие неблагоприятных дефектов, и когда приобъектная поверхность вырезывания
пригонку резинки, соединяя зазор необходимо контролировать внутри микрон-масштаб, также с помощью соответствуя жидкости, оно
будет лучшим соединяя представлением и уменьшит потерю соединения.
| Функция: | Машина кабеля оптического волокна сокращения Колде соединяя |
| Тип Сплиттер: | подгонянный |
| Положение установки Сплиттер: | подгонянный |
| Тип переходника: | СК/ФК/ПК |
| цвет: | чернота |
| Тип волокна | Корнинг СМФ-28ТМ, 9/125µм |
| Количество подноса соединения: | 1пк |
| Кабель: | Кабель падения, на открытом воздухе кабель, стандартный крытый кабель |
| Размер | подгонянный |
| Опционный аксессуар: | Симплексные переходники СК/апк |
| Метод установки | Установленная стена или польза поляка установленная, на открытом воздухе или крытая |
| Аксессуары | пластиковый винт расширения, само-выстукивая винты, зажимы для резиновой трубы, мнущие рукави, етк. |

