Датчик температуры отслежывателя внешней антенны 3G GPS и отключенный двигатель
Обзор:
1. Тип: отслежыватель 3G GPS
2. Сеть: WCDMA ИЛИ CDMA2000
3. Частота: 1900MHz 2100MHz
4. Место происхождения: Шэньчжэнь Китай
5. Модельное имя: отслежыватель V1-3G 3G GPS
6. Funcitons: Отслеживать в реальном времени, SOS, датчик
7. Раковина: Раковина металла
8. Антенна: Внешняя антенна
9. Батарея: перезаряжаемые батарея Li-иона 500mAh
10. Широкий ввод напряжения: DC9V к 100V (опционному)
прибор отслежывателя 3G GPS

детали сети 3G GPS:
1. GSM: 850Mhz 900Mhz 1800Mhz 1900Mhz
2. CDMA: 800MHz
3. WCDMA: 2100MHz 1900MHz 850MHz 900MHz
4. FDD LTE: 800Mhz 850Mhz 900MHz 1800MHz 2100Mhz 2600MHz
Примечание: Этот терминал отслежывателя 3G GPS только поддерживает одну работая сеть, пожалуйста спросите нам перед заказом.
Другая спецификация:
Обломок GPS: Ublox 7
Чувствительность GPS: -160dBm
Точность GPS: 3-30 метров
Temp деятельности: -20 градусов к 70 degress
Temp хранения: -40 degress к 85 градусов
Влажность работы: 5 к 90%RH
Течение резервной работы: чем 50mA
Топлива сигнала напряжение тока вне: 0 к 6.6V
Команды Importand SMS:
1. IP APN и гаван установка для прибора онлайн
Формат команды SMS: *setup, APN, IP-адрес, порт IP, номер ID, на временах, с times#
APN имя APN SIM-карты 3G
IP-адрес IP вашего сервера платформы следа
Порт IP порт вашего сервера для этого модельного протокола
Номер ID номер мобильного телефона 11 байта
В срок промежуток времени загружать данные к серверу когда ACC дальше
Нерабочее время промежуток времени загружать данные к серверу когда ACC
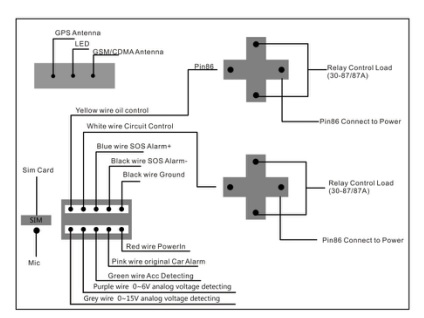
2. Масло контроля
Завершите работу с командой curcuit SMS топлива: Stopoil+password
контролировать curcuit топлива включено-выключено. Например: пароль: 123456, команда stopoil123456
Топливо поставки снова. supplyoil +password
Например: пароль 123456, команда supplyoil123456
3. Измените пароль прибора
Команда SMS: пароль password+old password+space+new
Например: password123456 168168
123456 старый пароль, и теперь новый пароль 168168
Функции:
1. Отслеживать в реальном времени

2. Отслеживайте маршруты истории

Диаграмма провода:

Применение:

Методы следа:

Контакт:
Имя: Джеймс zhao
Skype: gpstrackerzhao
Whatsapp: 008618665990450
Электронная почта: James@gpstrackinglocator.com