Высокопрочный утес минирования раковины расширения скрепляет болтами механический болт крыши
Техническая характеристика изделия
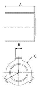
| Штемпелевать кронштейн | |||||||||||
| К | Рисовать никакой | Сертификат нет. | |||||||||
| Поставщик | PO НЕТ. | SBR003 | Погруженный QTY | 2100 | |||||||
| Контролер | Инспектор | Материал | |||||||||
![]() |
MIN. | Макс | Соответствие | ||||||||
| 49,0 | 48,7 | 49,3 | ОК | ||||||||
| B | 8,5 | 8,3 | 8,7 | ОК | |||||||
| C | Ø34 | 33,7 | 34,3 | ОК | |||||||
| Толщина | 1,2 | 1,1 | 1,3 | ОК | |||||||
| KS | Извлеките bur, защиту от коррозии | ОК | |||||||||
| Листья расширения | |||||||||
| К | Рисовать никакой | Сертификат нет. | |||||||
| Поставщик | PO НЕТ. | SBR003 | Погруженный QTY | 2100 | |||||
| Контролер | Инспектор | Материал | Q235 | ||||||
![]() |
MIN. | Макс | Соответствие | ||||||
| 76 | 75,7 | 76,3 | ОК | ||||||
| B | 29 | 28,8 | 29,2 | ОК | |||||
| C | 9 | 8,8 | 9,2 | ОК | |||||
| D | 12 | 11,8 | 12,2 | ОК | |||||
| E | 2 | 1,9 | 2,1 | ОК | |||||
| F | 25 | 24,8 | 25,2 | ОК | |||||
| G | 8,0 | 7,8 | 8,2 | ОК | |||||
| KS | Извлеките bur, защиту от коррозии | ОК | |||||||



Наше преимущество
вопросы и ответы
Сколько времени могу я рассчитывать получить подгонянный образец?
После того как вы оплачиваете обязанность образца и отправляете нас подтвердили файлы, и прессформа существующая в нашей фабрике, образцы будут готовы в 10-15 рабочих днях;
Если прессформа не существующая, то нам нужно раскрыть новую прессформу, образцы будем готовы в 15-18 рабочих днях; Образцы будут отправлены в вас через срочное и приезжают в 3-5 рабочие дни. Вы можете использовать ваш собственный срочный номер счета или предоплачивать нас если вы не имеете счет.
Как насчет времени выполнения для массового производства?
Честно, оно в большинстве зависит от количества заказа и сезона когда вы делаете заказ заказ. Как обычно, 20-35 рабочих дней будут ОК. Если вы очень срочны, то мы попробуем наше самое лучшее для того чтобы сделать его.