Особенный модельный теплообменный аппарат Фишер E-18 волнистого листового металла канала widegap химической промышленности
Введение теплообменного аппарата плиты E18
Теплообменные аппараты плиты E18 специфически развиты и оптимизированы для пищевой промышленности. Ery широкий диапазон v различных систем можно предложить. Поверхности плиты от 0,05㎡ к 1.5㎡ и ³ /hr объемов до 500m доступны.
Параметр набивкой и плитой теплообменного аппарата плиты E18
| Резиновый тип | NBR | EPDM | VITON/FKM | HNBR |
| Температура применения | -20°C- +130°C | -50°C-+150°C | -30°C-+251°C | -15°C- +160°C |
| Жидкие средства массовой информации |
Вода Морская вода Минеральномасляный Рассол соли |
Горячая вода Пар Кислота Алкали |
Высокотемпературное сопротивление Сильные оксиданты Масло Кислота и алкали |
Высокотемпературное минеральномасляное и вода |
| Особенность | Легкий для замены чем традиционное набивка, высокое давление, высокая температура, более длинная жизнь, быть протекаено | |||
| Материал плиты | Одетые жидкостные виды | |
| Нержавеющая сталь (SUS304,316 etc) | Чистая вода, нормальная вода, минеральномасляный etc | |
| Ti, Ti-pd | Морская вода, соленая вода, минеральная вода etc | |
| 20Cr, 18Ni 6Mo (254SMO) | Разбавьте серную кислоту, органическое решение etc воды | |
| Ni | Каустическая сода высокотемпературных и концентрации | |
| Сплав Hastelloy (C276, D205, B2G) | Сконцентрированная масляная серная кислота, хлористо-водородная кислота, фосфорная кислота | |
| Толщина плиты | 0.5mm/0.6mm/0.7mm/0.8mm/0.9mm/1.0mm | |
| Размер формы плиты | 978*232mm | |
| Размер центра плиты | 870*122mm | |
| Зона передачи | 0.18㎡ | |
| Диаметр отверстия угла | Φ65 | |
| Толщина набивкой | 4.4mm | |
| Давление деятельности | <> | |
| Тэта плиты | Низкая тэта и высокая тэта | |
| Отверстие плиты | Плита канала с 4 отверстиями, замыкающая плита без отверстий |
|
Преимущество теплообменного аппарата плиты E18
| Компактный дизайн | Высокая тепловая эффективность |
| Де-mountable для чистки и обслуживания | Смогите иметь дополнительные плиты передачи тепла добавил если требуется |
| Соответствующий для гигиенических и промышленных применений | Соответствующий для пользы с паром |
| Ед-безопасный материал | CIP систем-способный к адаптации |
| Простая чистка | Качественный продучт |
| Низкие расходы на техническое обслуживание | Длинный срок службы |
| Изменения профиля для сильно эффективных отношений подачи | Особенные плиты для конденсации пара |
| Выгодный коэффициент цены/представления | Вежливое обслуживание |
| Высокая рабочая безопасность | Сжатость |
| Высокая эффективность | Разнообразные возможности применения |
| Ед-защитные материалы | CIP-способный |
| Легкая чистка | Австрийское изделие высокого качества |
| Низкие расходы на техническое обслуживание | Длинная продолжительность жизни |
| Различные профили доступные | Различные технологии набивок |
| Поверхность плиты от 0.05㎡ к 1.5㎡ | ³ /hr объема до 500m |
| Особенные плиты для конденсаторов пара |
Как установить обслуживание теплообменного аппарата плиты E18 когда?
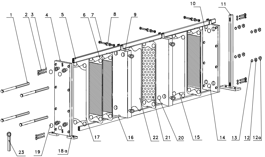
1 pipework разъединения от сжимающей плиты
• pipework разъединения от сжимающей плиты
Принимать из плит теплообменного аппарата
• извлеките гайки (12a) против по часовой стрелке
• losen все гайки на напрягая болт (12) crosswise
• вывинтите гайки на напрягая болт (12) от напрягая болта (1)
• извлеките шайбу на бар связи (13)
• извлеките напрягая болты (1)
• сжимающая плита (10) нажима далеко от пакета плиты
• отбросьте вне первое см плиты в основании 20 до 30 теплообменного аппарата в longitudal
направление [1]
• отбросьте вне плиту сбоку под углом
30 - 45° [2]
• примите плиту с рамки
• извлеките плиту плитой таким же образом
• наблюдайте последовательностью и положением стороны плит - после очищающ их быть
установленный назад такому же пути

Очищать 2 плит теплообменного аппарата
• прополощите каждую плиту с соответствующими данными по тензида (ни набивка ни плита нападения) о соответствующих тензидах смогите быть получено от изготовителя теплообменного аппарата
• чистые плиты с мягкой щеткой
• набивки, который нужно не обменять:
- избегите выдерживать плиты в очищая решении
• набивки, который нужно обменять:
- выдержите плиту в горячем очищая решении (приблизительно 100°C)
• на толстых слоях шкалирования:
- выдержите плиту в горячем очищая решении (приблизительно 100°C)
Не используйте:
- стальная щетка
- стальные шабер или подобный
3 Re-собирая
• заново устанавливайте снова очищенные плиты
наблюдайте
- первоначальные последовательность и положение каждой плиты (согласно номерам и чертежу расположения плиты)
- набивки установленные и в хорошем заказе
• подходящие индивидуальные плиты (боковой ввод вниз 30 - 40°inclination)

• сжимающая плита (10) нажима к plack плиты
• напрягать re-вставки скрепляет болтами (1) заднюю часть в боковых слотах
• шайбы пригонки на напрягая болт (13) к напрягая болтам (1)
• напрягите пакет плиты с гайками на напрягая болт (12)
- равномерно
- crosswise
- наблюдайте параллелизмом между сжимающей плитой (10) и плитой рамки (4)
• наблюдайте tesnioning пределом на именной табличке
• избегите:
- overtensioning (под минимальным напрягая пределом на именной табличке)
- слишком мало напрягая (над максимальным напрягая пределом на именной табличке)
• зафиксируйте гайки на напрягая болт (12) установкой гайки (12a)
• соединяйте pipework снова
• начните вверх теплообменный аппарат согласно разделу 6



