Электрическая печь MoSi2 Нагревательный элемент Печь для сцинтерирования до 1800 градусов
Электрический MoSi2 нагревательный элемент Введение:
1Нагревательные элементы MoSi2 представляют собой вид сопротивляющего нагревательного элемента, изготовленного из дизилицида молибдена.
2Нагревательные элементы MoSi2 в основном используются в высокотемпературных печах и печах в качестве нагревателей.
3Нагревательные элементы MoSi2 могут использоваться в воздухе и различных газовых средах.
4Рабочая температура нагревательного элемента MoSi2 от 1300C до 1800C.
5MoSi2 нагревательные элементы широко используются в промышленности металлургии, стекла, керамики, кристаллического электронного устройства, промышленного производства печей и т.д.
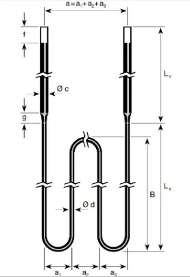
Характер электрического MoSi2 теплового элемента
* Форма: I, U, UL, W, WL, нерегулярная
* Диаметр: 3/6, 4/9, 6/12, 7/12, 7/14, 9/18, 12/24 мм)
* Температура: 1700°C, 1750°C, 1800°C
Нагревательный элемент MoSi2 обладает хорошими сопротивляющими характеристиками и является идеальным нагревательным материалом для замены традиционных нагревателей.
При комнатной температуре специфическое сопротивление нагревательного элемента MoSi2 очень низкое, и сопротивление резко увеличивается с повышением температуры,и преимущества быстрого повышения температуры и низкого энергопотребления очевидны.
При нормальных условиях работы сопротивление элемента постоянное, что позволяет смешивать старые и новые компоненты.
Физические свойства нагревательного элемента MoSi2 1800C:
| Плотность | Прочность на изгиб | Твердость | Видимое пористость | Поглощение воды | Удлинение | Прочность перелома | Сила сжатия |
| 50,8 г/см3 | 350 МПа | 12.0Gpa | ± 2% | 0 | 4% | 4.5Mpa.m1/2 | 650 МПа |
Рабочая температура нагревательного элемента MoSi2 в различной атмосфере
| Атмосфера | Тип 1700 | Тип 1800 |
| Воздух | 1700C | 1800C |
| N2 | 1600C | 1700C |
| Он... | 1600C | 1700C |
| -80°С Сухой H2 | 1150C | 1150C |
| -20°С Мокрый H2 | 1450C | 1450C |
| 10% CO2, 50% CO, 15% H2 | 1600C | 1700C |
| 40% CO2, 20% CO | 1400C | 1450C |
| Расколотый и частично сгоревший амниак | 1400C | 1450C |
В
Опаковка и транспортировка нагревательного элемента MoSi2
Упаковка: синтетический деревянный корпус с пеной
Мы также получили OEM-сервис; пакет может быть разработан в соответствии с вашими требованиями.
Отправка: судном или самолетом из любого китайского порта. Образцы могут быть доставлены международным экспрессом.


Наши услуги
1Своевременный ответ
Своевременный ответ на ваш запрос, рекомендации по множественному выбору на основе вашего спроса, быстрое реагирование на электронные письма и предоставление решений.
2Бесплатный образец
Для оценки качества принимаются заказы на образцы и испытания.
3Строгий контроль качества
Организуйте производство в срок и строго контролируйте качество.
4- Сокращение сроков доставки.
Бронируйте самое раннее судно или самолет, чтобы гарантировать время доставки.
5Профессиональные услуги
Предоставьте все подробные новости и фотографии от заказа до доставки;
Предложить соответствующие экспортные документы и оригинал сертификата, если это необходимо;
Теплый и значительный послепродажной сервис