Особенности:
Трансформатор для проверки типа масла, надежный, стабильный
Большой разряд стабильности напряжения,
small corona, and small partial discharge (небольшая корона, и небольшая частичная разрядка)
Используйте новый тип изоляционного материала, небольшой размер,легкий вес
| Модель | Мощность | напряжение HV | HV тока (mA) | Низкий | Повернитесь. | температура повышается °C | |||
| КВА | Кондиционер | DC | Кондиционер | DC | (V) | (А) | 30 мин. | ||
| YDJ(Z)-1.5/50 | 1.5 | 50 | 70 | 30 | 15 | 200 | 7.5 | 500 | 10 |
| YDJ(Z)-3/50 | 3 | 50 | 70 | 60 | 15 | 200 | 15 | 500 | 10 |
| YDJ(Z) -5/50 | 5 | 50 | 70 | 100 | 15 | 200 | 25 | 500 | 10 |
| YDJ(Z) - 10/50 | 10 | 50 | 70 | 200 | 50 | 200 | 50 | 500 | 10 |
| YDJ(Z) -20/50 | 20 | 50 | 70 | 400 | 100 | 380 | 53 | 500 | 10 |
| YDJ(Z) -30/50 | 30 | 50 | 70 | 600 | 100 | 380 | 79 | 500 | 10 |
| YDJ(Z) -40/50 | 40 | 50 | 70 | 800 | 100 | 380 | 105 | 500 | 10 |
| YDJ(Z) 50/50 | 50 | 50 | 70 | 1000 | 100 | 380 | 132 | 500 | 10 |
| YDJ(Z) - 10/100 | 10 | 100 | 140 | 100 | 50 | 200 | 50 | 1000 | 10 |
| YDJ(Z) - 20/100 | 20 | 100 | 140 | 200 | 100 | 380 | 53 | 1000 | 10 |
| YDJ(Z) - 30/100 | 30 | 100 | 140 | 300 | 100 | 380 | 79 | 1000 | 10 |
| YDJ(Z) -40/100 | 40 | 100 | 140 | 400 | 100 | 380 | 105 | 1000 | 10 |
| YDJ(Z) 50/100 | 50 | 100 | 140 | 500 | 100 | 380 | 130 | 1000 | 10 |
| YDJ(Z)-20/150 | 20 | 150 | 210 | 133 | 100 | 380 | 53 | 1000 | 10 |
| YDJ(Z)-30/150 | 30 | 150 | 210 | 200 | 100 | 380 | 79 | 1000 | 10 |
| YDJ(Z)-40/150 | 40 | 150 | 210 | 267 | 100 | 380 | 105 | 1000 | 10 |
| YDJ(Z) 50/150 | 50 | 150 | 210 | 333 | 100 | 380 | 132 | 1000 | 10 |
| YDJ(Z) - 100/150 | 100 | 150 | 210 | 667 | 150 | 380 | 263 | 1000 | 10 |

Структура продукции
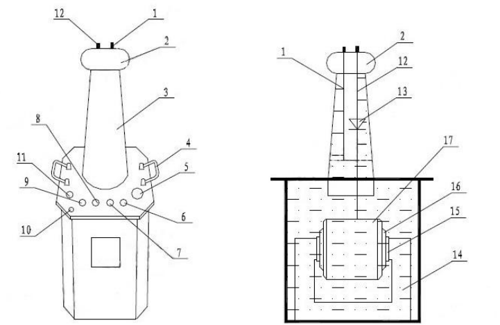
Трансформатор испытания напряжения мощности частоты серии YDJ (Z) использует железную структуру с однорамочным ядром.Коаксиальное устройство уменьшает поток утечки, тем самым увеличивая сцепление между обмотками. корпус плюс внутреннее ядро сделан в восьмиугольную структуру, с очень красивым внешним видом.внутренняя структура, показанная на рисунке 2.

Рисунок 1: Схема конструкции трансформатора
Рисунок 2: Внутренняя структура трансформатора
1. Краткое замыкание D 2.Электрод 3.Высоковольтный корпус 4.Трансформаторная ручка 5.Масляный клапан 6 ~ 7.Ввод а, х 8 ~ 9.Терминалы E, F 10.Трансформаторный корпус GND 11.HV хвост 12.HV выход 13.HV кремниевый стек 14.Масло трансформатора 15.Ядро 16.Вторичное натяжение напряжения 17.Измерение натяжения
В испытательном трансформаторе YDJZ, a, x - это входные терминалы LV, E F - измеряющие терминалы, A X - выход HV. Серия YDJ для выхода переменного напряжения только без кремниевого стека.

