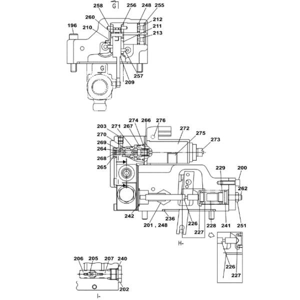
Штуцеры SH210/Shipping и регуляция Sumitomo гидравлические регулятора LL001090/LL001670 гидронасоса 240/CX210/CX240
| Название продукта | Регулятор гидронасоса |
| Применитесь к | 240A5/CX210B/CX240B SH210A5/Shipping и регуляции |
| Номер детали | LL001090/LL001670 |
| Адрес продукции | Гуандун, Китай |
| Упаковка | Коробка спецификации |


