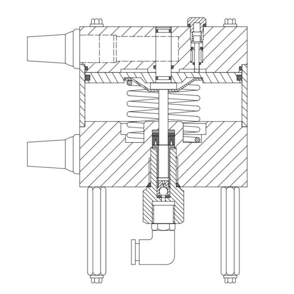
ВОЗДУХ HPV 150 УПРАВЛЯЕМЫЙ ВЫСОКО ДАВИТ ЖИДКОСТНЫЕ НАСОСЫ ДАВИТ 2250 АДВОКАТУР
Teature
| Тип | HPV250 |
|
Материал воздуха бортовой:
|
Анодированный алюминий
|
| Расклассифицированное максимальное давление | 2250bar |
| Коэффициент зоны | 1:282 |
|
Максимальное смещение |
Около. 0,45 8,0 Л/МИН подачи воздуха бара |
|
вес (Kg) |
6,5 |
|
Размеры (mm) |
128x128x180 |
|
Воздуховод: |
ISO228/1-G1/2» |
|
Выход масла давления: |
Подгонянное по требованию |
| Температурная амплитуда рабочей температуры |
0° к 140°F (- 18° к 60°C)
|

высокий насос напорной жидкости 2250bar