Аналоговые устройства IC RMS электронных блоков AD536ASD AD536ASD/883 К КОНВЕРТЕРУ 14CERDIP DC
Описание:
AD536A преобразование rms-к-dc полных монолитовых whichperforms интегральной схемаы истинное. Оно предлагает whichis представления соответствующие или главные к этому из гибридного или модульного unitscosting очень больше.
AD536A сразу вычисляет значение truerms любой сложной формы волны входного сигнала содержа ac и dccomponents. Оно имеет измерения whichallows схемы компенсации фактора гребня с ошибкой 1% на факторах гребня до 7. ширина полосы частот Thewide прибора расширяет возможность измерения до 300 КГц с ошибкой dB 3 для уровней сигнала над особенностью 100 mV.An важной inrms AD536A не ранее доступных конвертеры вспомогательный выход dB. Логарифм выходного сигнала therms принесен вне к отдельному штырю для того чтобы позволить преобразованию thedB, с полезным динамическим диапазоном dB 60. Используя anexternally поставленное течение ссылки, 0 уровней dB может быть удобно установленными потребителем соответствовать любому уровню входного сигнала от 0,1 до 2 вольта rms.
AD536A лазер уравновешенный на уровне вафли для смещения andoutput входного сигнала, положительной и отрицательной симметрии формы волны (ошибки реверсирования dc), и в натуральную величину точности на 7 v rms. В результате необходимы, что достигают отделки noexternal расклассифицированной точности блока.
Полная защита для обоих входов и выходов. Inputcircuitry может принять напряжения тока перегрузки хорошо вн е уровней поставки. Потеря подачи напряжения с соединенными входными сигналами не будет отказ causeunit. Выход защищенное короткое замыкание.
AD536A доступно в 2 рангах точности (j, k) для коммерчески применений диапазона температур (0°C к +70°C), и onegrade (s) расклассифицировало для – 55°C к расширенному диапазону +125°C. TheAD536AK предлагает максимальную общую ошибку ±2 mV ±0.2%
чтение, и AD536AJ и AD536AS имеют максимальное errorsof ±5 mV ±0.5% чтения.
|
Категория
|
|
|
PMIC - RMS к конвертерам DC
|
|
|
Mfr
|
Аналоговые устройства Inc.
|
|
Серия
|
-
|
|
Пакет
|
Трубка
|
|
Состояние продукта
|
Активный
|
|
Питание током
|
1,2 мамы
|
|
Напряжение тока - поставка
|
5V | 36V, ±3V | 18V
|
|
Устанавливать тип
|
Через отверстие
|
|
Пакет/случай
|
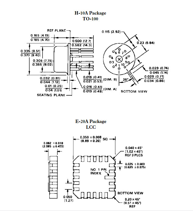
14-CDIP (0,300", 7.62mm)
|
|
Пакет прибора поставщика
|
14-CDIP
|
|
Низкопробный номер продукта
|
AD536
|
Тип пакета AD536A:


Более подобные продукты:
AD536AD AD536AJD AD536ATD AD536AKD AD536ASQ AD536AHD AD536ASH AD536SD AD536ASE AD536AH AD536AMH AD536ALH AD536AKQ AD536AKH AD536ATH AD536AJDZ AD536KD AD536A AD536SH AD536AJN AD536ASHZ AD536JD AD536AJQ AD536AJH AD536SE AD536AJG AD536AKDZ AD536AKN AD536ACH AD536AUH AD536BH AD536AJHZ AD536AKHZ AD536KH AD536JH AD536LH AD5360BST AD536CH AD536MH AD536TH AD536 AD536ASD883 AD536CJH AD536AJQZ AD536UH AD536H AD536JQ AD536BJH AD5361BST AD536AJD IC AD536ASH883 AD5363ACPZ AD536ASD/883 AD5360BSTZ AD5362BSTZ AD5363BSTZ AD536ASD883B AD5361BSTZ AD5363BCPZ AD536AJD/AKD AD536AJQ IC AD536SD/883 AD536ASH883B AD5362BCPZ AD536ASE/883 AD536ASH/883 AD536ASD/883B AD5361BCPZ AD536ASCHIPS AD5360BCPZ AD536ASD/883Q AD536ASE883B AD53604-03
О США
Электроника Co технологии ангела Шэньчжэня была основана в Гонконге с 2006, нашей ветви расположенной в Кремниевой долине Китая, Шэньчжэня.
Электроника Co технологии ангела Шэньчжэня имеет получала аттестацию системы управления качеством ISO9001.
Миссия электроники Co технологии ангела Шэньчжэня всегда снабдить качественные компоненты электроники изготовители идут зрению Worldwide.Angel-tech превосходным поставщиком электронных блоков с самым высоким удовлетворением между работниками и клиентами. Вскоре мы стали основным каналом для закрытия проекта и нарастаний инвентаря для главных раздатчиков как электроника стрелки и производителей по контракту. Электроника Co технологии ангела с тех пор добавляла поиск высококачественных компонентов от местных изготовителей в Китае.