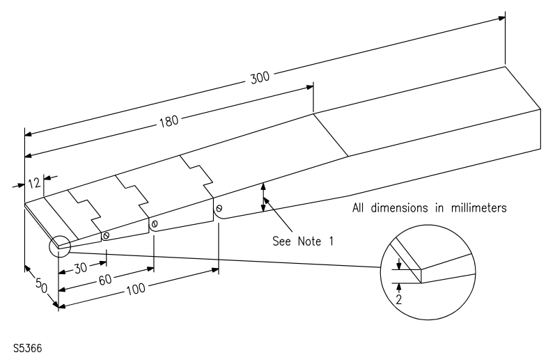
UL60950-1 диаграмма клин доступности NAF2-3, толщина 2mm подсказки зонда
Стандартное описание (UL60950-1 статья F.4.4):
Для ШРЕДЕРОВ ДОКУМЕНТА ДОМОЧАДЦА/ДОМАШНЕГО ОФИСА, предупреждающее заявление не будет использовано вместо особенностей конструкции которые предотвращают доступ к опасным двигающим частям. Зонд пальца теста
Для ШРЕДЕРОВ ДОКУМЕНТА ДОМОЧАДЦА/ДОМАШНЕГО ОФИСА, следующая дополнительная критеря по соответствия применяется:
Зонд/клин доступности проиллюстрировали в диаграммах NAF.2 и NAF.3 будет введено в каждое отверстие в МЕХАНИЧЕСКОМ ПРИЛОЖЕНИИ. Сила не превышая 45 n для типа ШРЕДЕРОВ раздевать-отрезка ДОМОЧАДЦА/ДОКУМЕНТА ДОМАШНЕГО ОФИСА и не превышая 90 n для кратчайшего пути
тип ШРЕДЕРЫ ДОМОЧАДЦА/ДОКУМЕНТА ДОМАШНЕГО ОФИСА будет приложен к зонду/клину в любом направлении по отношению к отверстию. Перед применением зонда/клина доступности, извлекутся все МЕХАНИЧЕСКИЕ ПРИЛОЖЕНИЯ или предохранители которые съемны без пользы инструмента. Зонд/клин не контактируют опасные двигающие части, включая shredding ролики/механизмы.
ЗАМЕТЬТЕ его допустимый для массы зонда/клина доступности, который нужно сфакторизовать в общую прикладную силу определенную выше.
Стандарт: Диаграмма V.4, UL60950-1 NAF.2 диаграммы IEC 62368-1 и NAF.3 и etc. Зонд пальца теста
Применение: Оно использован для того чтобы испытать ли опасные части шредера могут быть касаны людьми.
Образец теста: Бумажный шредер
Особенность: Она изготовлена согласно стандартной диаграмме.
Параметры: Зонд пальца теста


ЗАМЕТЬТЕ толщину зонда меняет линейно, с изменениями наклона на следующие этапы вдоль зонда:
| Расстояние от подсказки зонда mm | Толщина зонда mm |
| 0 | 2 |
| 12 | 4 |
| 180 | 24 |
Изображение для ссылки:
