Детандер I/O MHz 28-SOIC MCP23017T-E/SO обломока 1,7 IC шестнадцатиразрядный с последовательным интерфейсом
Характер продукции MCP23017T-E/SO
MCP23017T-E/SO детандер I/O 1,7 MHz шестнадцатиразрядный с последовательным интерфейсом, 28-SOIC Packaage.
Спецификация MCP23017T-E/SO
| Номер детали | MCP23017T-E/SO |
| Источник/раковина текущего объема производства | 25mA |
| Тактовая частота | 1,7 MHz |
| Напряжение тока - поставка | 1.8V | 5.5V |
| Рабочая температура | -40°C | 125°C |
| Устанавливать тип | Поверхностный держатель |
Особенности MCP23017T-E/SO
AEC-Q100 квалифицировало
шестнадцатиразрядный удаленный двухнаправленный порт I/O
I/O прикалывает дефолт к входному сигналу
Высокоскоростной интерфейс I2C
Высокоскоростной интерфейс SPI
Адрес оборудования 3 прикалывает для того чтобы позволить до 8 приборам на автобусе
Конфигурируемые штыри выхода прерывания
Конфигурируемый как высотой с активн, активн-низкий или открыт-сток
INTA и INTB можно установить для того чтобы работать независимо или совместно
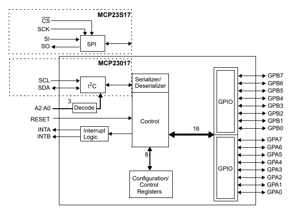
Функциональная блок-схема MCP23017T-E/SO

Другие электронные блоки в запасе
| Номер детали | Пакет |
| L9407F | ЗАСТЕЖКА-МОЛНИЯ |
| L9437 | TO-18 |
| L9820D | SOP8 |
| L9826TR | SOP |
| L9951XPTR | SSOP |
| L9952XPTR-S | SSOP36 |
вопросы и ответы
Q: Ваши продукты первоначальны?
: Да, все продукты первоначальный, новый первоначальный импорт наша цель.
Q: Которые сертификаты вы имеете?
: Мы компания ISO и член аттестованные 9001:2015 ERAI.
Q: Можете вы поддержать заказ или образец небольшого количества? Образец свободен?
: Да, мы поддерживаем заказ образца и небольшой заказ. Цена образца различна согласно вашим заказу или проекту.
Q: Как грузить мой заказ? Безопасно?
: Мы используем срочный для того чтобы грузить, как DHL, Federal Express, UPS, TNT, EMS.We можем также использовать вашего предложенного товароотправителя. Продукты находятся в хорош пакуя и обеспечить безопасность и нас ответственен к повреждению продукта к вашему заказу.
Q: Как насчет времени выполнения?
: Мы можем грузить части запаса не позднее 5 рабочих дней. Если без запаса, мы подтвердим время выполнения для вас основали на вашем количестве заказа.