Обзор машины:
Мощная капсулозаполняющая машина для фармацевтической фабрики Капсулозаполняющая фабрика
Технические параметры:
| Выпуск | 7500Капсулы/мин |
| Число пробок сегментов |
54 ((четыре ряда)
|
| Подходящая капсула | 00#-5# |
| Общая мощность | 18 КВт ((Стандартная конфигурация) |
| Общая масса | 4000 кг. |
| В целомРазмеры | 1884+(530) ммX1404+(275) ммX2148 мм |
| Шум | ≤ 80DB ((A) |
| Давление | 00,4 ~ 0,7 МПа |
| Потребление воздуха | ≤ 18 м3 |
| Вакуум | -0,03 ~ -0,06 МПа |
| Ошибка заполнения | ± 3% ~ ± 7% |
Машина может внести технические улучшения без предварительного уведомления, и на прилагаемом рисунке показаны возможные варианты.
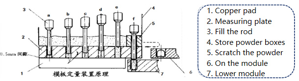
Процесс заполнения капсулы:

Диаграмма расширения рабочего принципа:

|
Принцип
Семенная трубка оснащена несколькими круговыми отверстиями, которые связываются с капсулой, а канал оснащен капсульными таблетками.
Когда трубка семена поднимается, часть капсулы забивает капсулу.Когда упадет трубка для семена, держатель капсулы вращается и заставляет капсулу выйти из отверстия, и капсула выпадает из отверстия.
|
![]() |
Ориентация пустой капсулы:

Отделение пустой капсулы от корпуса:


Станция отторжения:
|
Использование
Некоторые пустые капсулы могут по каким- то причинам держать крышку тела неподвижной и оставаться в верхнем отверстии модуля; чтобы предотвратить смешивание в готовый продукт, они удаляются до закрытия капсулы.
Принцип
Рука, которая может двигаться вверх и вниз, расположена между верхним модулем и нижним модулем, с помощью пальца.толкательная ручка останавливается в нижнем предельном положении, а пальчик отрывается от верхнего модуляКогда модуль останавливается на этой станции, ручка поднимается и пальчик, установленный на ручке, вставляется в верхнее отверстие модуля.
①Если в верхнем отверстии формы есть вытянутая крышка капсулы, верхняя часть не оказывает влияния на крышку капсулы.
②Если в верхнем отверстии формы находится открытая пустая капсула, верхний модуль выталкивается пальцем вверх и всасывается в воздушную камеру.
|
![]() |
Станция блокировки:
|
Использование
Закройте капсулу толкательного стержня, чтобы соответствовать требованиям готового продукта.
Принцип
Верхний и нижний модули вращаются к блокировке, когда ось верхнего и нижнего модулей перекрываются.Верхний баффл нажимает на капсулу, верхняя стержня поднимается, а корпус крышки капсулы закрывается и блокируется.
|
![]() |
Завершенная станция разгрузки капсул:
|
Использование
Готовые капсулы будут выдвинуты для сбора.
Принцип
Главный компонент устройства - это верхний ствол разряда, который может перемещаться вверх и вниз.капсула выталкивается из отверстия модуля.Затем капсулу вдували в выходной хоппер и вкладывали в бочку.
|
![]() |
Очистная станция:
|
Использование
Уборщик очищает модуль для доступа к следующему циклу.
Принцип
Когда верхний и нижний модули затягиваются под основную рабочую пластину и стоят на станции очистки, они помещаются в разрыв устройства для очистки.Сжатый воздух открывается., и порошок в отверстии формы и сломанная кожа выдуваются из отверстия формы из нижнего направления нижнего модуля.Вакуумная система всасывания, расположенная над отверстием формы, втягивает его в пылесос, чтобы сохранить отверстие формы чистым и облегчить следующую работу цикла.
|
![]() |