Тип высокой эффективности передачи системы шабера шуги мост Китая ZBGX периферийной полный используемый для очистки сточных вод
К нашим клиентам:
Главные продукты включают механические колосниковый грохот, прибор воздушной флотации, дозируя прибор, шабер грязи, стояк водяного охлаждения, графинчик, химический обсаливая прибор, гидравлический экран, разделитель воды песка, фильтр, транспортер, загустку, биологический фильтр, размякнутую воду, похороненное оборудование очистки сточных вод, etc.
Тип централь ZCX управлять одиночной (двойной) машиной всасывания трубы соответствующий для больших и среднего размера танков седиментирования с периферийным водозабором, периферийной разрядкой воды, и центральной разрядкой шуги. Он главным образом использован для всасывания и разрядки вторичных танков седиментирования городских заводов по обработке нечистот.
Параметры
| Номер модели/параметры | ZCX-25 | ZCX-30 | ZCX-35 | ZCX-40 | ZCX-45 | ZCX-50 | |
| Диаметр Φ бассейна (m) | 25 30 35 40 45 50 | ||||||
| Глубокая глубина h бассейна (m) | 4.0~5.5 (согласно требованиям к потребителя) | ||||||
| Глубина воды H1 стороны бассейна (m) | 3.5~5.0 (согласно требованиям к потребителя) | ||||||
| Наружная линейная скорость v края (m/min) | 2.0~3.0 | ||||||
| Сила мотора n (KW) | 0,5 | 0,55 | 0,75 | 1,1 | 1,1 | 1,1 | |
| Размер установки (mm) | B | 1000~1200 | |||||
| ①1 | 009 | 600 | 800 | 900 | 1000 | 1200 | |
| Φ2 | 006 | 900 | 1100 | 1200 | 1300 | 1500 | |
| 3 | 1500 | 1500 | 1700 | 1900 | 2000 | 2300 | |
| B1 | Согласно требованиям к потребителя | ||||||
| H3 | Согласно требованиям к потребителя | ||||||
| L | Согласно требованиям к потребителя | ||||||
| Вертикальная нагрузка центральной платформы P1 столбца (KN) | 65 | 70 | 90 | 98 | 120 | 155 | |
| Нагрузка работая моста P2 (KN) | 6,5 | 7,2 | 9,5 | 10,0 | 13,5 | 17 | |
| Максимальный работая вращающий момент m (N.m) | 140 | 168 | 268 | 448 | 505 | 560 | |
Основные особенности
1. Ринвы входа и выхода вокруг танка седиментирования конструированы со сторон-разделами для обеспечения равномерных водораспределения и оттока вокруг танка седиментирования.
2. Задающий усилитель принимает сочетание из редуктор винтовой зубчатой передачи и редуктор шестерни червя для обеспечения вращающего момента и скорости выхода, и влияние передачи высоко; редуктор оборудован с чрезмерным прибором предохранения от вращающего момента, который безопасен и надежен в деятельности.
3. Когда φ≤40m, который одно-встали на сторону солома использовано, и если φ>40m, то двухсторонняя солома использована.
4. Всасывающая труба шуги использует горизонтальную пефорированную трубу к разрядке шуга, которая не мешает с подачей плотности в танке и не обеспечивает стабильность воды.
5. всасывание шуги на конусовидной всасывающей трубе шуги уникально конструировано и принимает переменный тангаж отверстия, изнутри наружу, от небольшого к большой, для обеспечения сбалансированного всасывания шуги на дне всего пруда, концентрация всасывания шуги роста, и сохраняет силу противорота шуги.
6. 2 пути снимать: плита снимая и снимать трубки (бывшее обычно использовано).
7. Оборудование легко для того чтобы работать, и деятельность оборудования может быть непосредственно управлени по месту/удаленно.
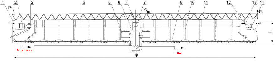
Принцип структуры и деятельности
Оборудование принимает центральную передачу и вертикальный тип рамки. Нечистоты входят в окружающие танк и подачи водораспределения равномерно в бассейн через отверстия водораспределения на дне танка. Под действием периферийной воды сохраняя юбку, подачи воды от дна бассейна к центру, и шуга зависят сама по себе вес. Шуга депозирована на дне бассейна для того чтобы сформировать разъединение шуг-воды. Задающий усилитель управляет центральной вертикальной рамкой для того чтобы вращать, и управляет рукой шабера и всасывающей трубой для того чтобы вращать. Под действием гидростатического давления, шуга равномерно входит во всасывающее окно аранжированное на всасывающей трубе, и после этого проходит через выгрузку через полную цапфу. Труба шуги discharged из бассейна через клапан рукава дренажного сборника шуги. Discharged количество шуги может быть проконтролировано поднимаясь степенью клапана рукава. Шлачка на поверхности воды снимана к краю бассейна прибором шумовки шлака, и после этого выскоблила в сток грабл шабера и discharged из бассейна; пока супернатант discharged в ринв выхода воды через триангулярную плиту плотины выхода воды.



Основные параметры и диаграмма размера установки
Диаграмма плана и установки





Моста 12 деятельности всасывающей трубы 11. грязи сборника 10. всасывания и грязи сборника 9. силы поддержки 8. танка 7. грязи цилиндра 6. подачи танка 5. собрания грязи хоппера 4. шлака очищая щетки 3. раковины прибора 2. привода луча конца стабилизируя центральных центральных. Грабл 13 шлака выскабливая. Дефлектор 14 шлачки. Плита 15 плотины выхода воды. Плита шумовки шлака
Упаковка и доставка

1. Водонепроницаемая упаковка с международным стандартом экспорта 20ft, 40ft, контейнер 40hp. Штуцеры оборудования, электрический двигатель и шкаф силы будут упакованы в деревянной коробке случая или утюга. Другое оборудование будет упаковано тканью Цвет-нашивок пластиковой.
2. Весь размер машинного оборудования завода большой как нормальный, поэтому мы будем использовать водоустойчивую ткань для того чтобы упаковать все них. Мотор, коробка передач или другие легко поврежденные части, мы положим их в коробку. Мы имеем профессиональный отдел отгрузки продукции, они попробуем их самое лучшее для сохранения вашего количества контейнера.
Почему выберите нас?
1. Longdai имеет больше чем 10 лет опыта в обработке отработанной воды и шуги.
2. Мы вводим Немецкий технология, таким образом наш продукт много лучший чем другие китайские изготовители.
3. Мы только используем самые лучшие части от самого лучшего поставщика.
4. Мы имеем наши собственные центр НИОКР и полную систему изготовления.
О нас
Размещенный в Исине, предварительный и красивый город провинции Цзянсу, Китая, CO. Longdai, Ltd поставщик обрабатывающего оборудования нефтехимической промышленности специализированный в экологических обрабатывая &integrating независимых научных исследованиях и разработки, дизайне, общем заключать контракт, производстве оборудования охраны окружающей среды, и уместной материальной поставке.
Главные продукты включают механические колосниковый грохот, прибор воздушной флотации, дозируя прибор, шабер грязи, стояк водяного охлаждения, графинчик, химический обсаливая прибор, гидравлический экран, разделитель воды песка, фильтр, транспортер, загустку, биологический фильтр, размякнутую воду, похороненное оборудование очистки сточных вод, etc.
вопросы и ответы:
Q: Вы торговая компания или изготовление?
: Мы оба изготовление и торговая компания. Мы имеем опыт сверх 30 лет профессиональный как предприятие изготовителя оборудования и инженерной службы обработки сточных водов.
Q: Что ваши главные продукты?
: Ключевые слова: Оборудование машины шуги Dewatering, тип шуги прессы винта, Dewatering винта шуги прессы шуги пресса винта машины Dewatering, оборудование очистки сточных вод, завод по обработке шуги, шуга прессы винта шуга Dewatering, Dewatering, Dewatering машина для пресса винта машины шуги шуги, Dewatering, колосниковые грохоты роторного барабанчика, оборудование DAF, цена DAF, растворенная цена системы воздушной флотации, транспортер винта Shaftless шуги, прибор дозирования химических реагентов, цена MBBR, средства массовой информации MBBR, отражетель диска, система дозирования химических реагентов подготовки полимера, и другие подгонянные машины.
Q: Как могу я найти соответствующая модель?
: Пожалуйста обеспечьте расход потока, содержание твердых тел и тип шуги, или непосредственный контакт мы нажимать на значок «контакта». Мы можем помочь вам в модельном выборе.
Q: Где ваша фабрика обнаружена местонахождение?
: Город Исина, мы в известном городе оборудования охраны окружающей среды, профессиональном для машины прессы винта шуги dewatering, которая очень близко к Шанхаю с только управлять более менее чем 3 часов. Добро пожаловать для вашего посещения.
Q: Вы обеспечиваете обслуживание OEM?
: Да. Мы можем сделать подгонянный дизайн согласно вашему различному запросу для Dewatering шуги.
Q: Как о производственной мощности вашей компании?
: Наша фабрика покрывает зону сверх ² 15,000m и производит машины 2000 наборов в год.