Безопасный и легкий деятельности грязи шабера системы силы тяжести сгущать танк используемый в больших заводах по обработке нечистот
К клиентам:
Все типы оборудований можно подгонять согласно вашему требованию. Пожалуйста чувствуйте, что свободно сказать параметры, графики течения или другие требования. Быстрый ответ будет поставлен в 12 часах электронной почтой или онлайн болтовней.
Принцип структуры и деятельности
Контроль шуги сгущать танка включает контроль количества шуги входя в и количества сконцентрированной discharged шуги. В нормальных условиях, никакой бак для хранения шуги перед сгущать танком, так, что шуга discharged от системы очистки сточных вод сразу войдет в сгущать танк. Поэтому, контроль сгущать танка главным образом ссылается на контроль разрядки сконцентрированной шуги. Методы контроля сконцентрированной разрядки шуги главным образом включают:
(1) польза таймер контролировать начало и останавливать насоса грязи;
(2) таймеры пользы и заранее поставленные счетчики для того чтобы контролировать ежедневную разрядку некоторое количество сконцентрированной шуги;
(3) польза таймер контролировать начало насоса шуги, и использовать метр концентрации шуги для того чтобы обнаружить когда концентрация шуги упадет к некоторой установленной концентрации и останавливать насос;
(4) польза таймер контролировать начало насоса, и использовать метр концентрации шуги, измеритель прокачки и заранее поставленный счетчик для того чтобы контролировать стоп насоса когда некоторое количество твердого дела (по отоношению к сухой массе шуги) discharged каждый раз
Описание
Структуры используемые для сгущать шуги. Вообще, она принимает вертикальной форму подачи или радиальной подачи. Ее можно разделить в прерывистую деятельность и работу в непрерывном режиме. Бывшее главным образом использовано в небольших заводах по обработке нечистот или заводах по обработке нечистот промышленных предприятий, и последнее использовано в больших и средних заводах по обработке нечистот. Форма непрерывного силы тяжести сгущать танка это же как танк седиментирования радиальной подачи. Ее можно разделить в 3 типа: прибор шабера и шуги смешивая, без шабера, и разнослоистой загустка (с шабером).
Параметры
| Номер модели/параметры | ZCX-25 | ZCX-30 | ZCX-35 | ZCX-40 | ZCX-45 | ZCX-50 | |
| Диаметр Φ бассейна (m) | 25 30 35 40 45 50 | ||||||
| Глубокая глубина h бассейна (m) | 4.0~5.5 (согласно требованиям к потребителя) | ||||||
| Глубина воды H1 стороны бассейна (m) | 3.5~5.0 (согласно требованиям к потребителя) | ||||||
| Наружная линейная скорость v края (m/min) | 2.0~3.0 | ||||||
| Сила мотора n (KW) | 0,5 | 0,55 | 0,75 | 1,1 | 1,1 | 1,1 | |
| Размер установки (mm) | B | 1000~1200 | |||||
| ①1 | 009 | 600 | 800 | 900 | 1000 | 1200 | |
| Φ2 | 006 | 900 | 1100 | 1200 | 1300 | 1500 | |
| 3 | 1500 | 1500 | 1700 | 1900 | 2000 | 2300 | |
| B1 | Согласно требованиям к потребителя | ||||||
| H3 | Согласно требованиям к потребителя | ||||||
| L | Согласно требованиям к потребителя | ||||||
| Вертикальная нагрузка центральной платформы P1 столбца (KN) | 65 | 70 | 90 | 98 | 120 | 155 | |
| Нагрузка работая моста P2 (KN) | 6,5 | 7,2 | 9,5 | 10,0 | 13,5 | 17 | |
| Максимальный работая вращающий момент m (N.m) | 140 | 168 | 268 | 448 | 505 | 560 | |
Основные особенности
1. Ринвы входа и выхода вокруг танка седиментирования конструированы со сторон-разделами для обеспечения равномерных водораспределения и оттока вокруг танка седиментирования.
2. Задающий усилитель принимает сочетание из редуктор винтовой зубчатой передачи и редуктор шестерни червя для обеспечения вращающего момента и скорости выхода, и влияние передачи высоко; редуктор оборудован с чрезмерным прибором предохранения от вращающего момента, который безопасен и надежен в деятельности.
3. Когда φ≤40m, который одно-встали на сторону солома использовано, и если φ>40m, то двухсторонняя солома использована.
4. Всасывающая труба шуги использует горизонтальную пефорированную трубу к разрядке шуга, которая не мешает с подачей плотности в танке и не обеспечивает стабильность воды.
5. всасывание шуги на конусовидной всасывающей трубе шуги уникально конструировано и принимает переменный тангаж отверстия, изнутри наружу, от небольшого к большой, для обеспечения сбалансированного всасывания шуги на дне всего пруда, концентрация всасывания шуги роста, и сохраняет силу противорота шуги.
6. 2 пути снимать: плита снимая и снимать трубки (бывшее обычно использовано).
7. Оборудование легко для того чтобы работать, и деятельность оборудования может быть непосредственно управлени по месту/удаленно.



Диаграмма плана и установки





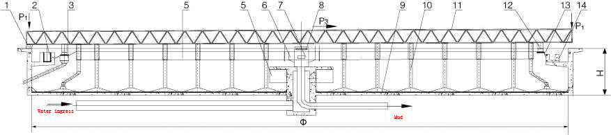
Моста 12 деятельности всасывающей трубы 11. грязи сборника 10. всасывания и грязи сборника 9. силы поддержки 8. танка 7. грязи цилиндра 6. подачи танка 5. собрания грязи хоппера 4. шлака очищая щетки 3. раковины прибора 2. привода луча конца стабилизируя центральных центральных. Грабл 13 шлака выскабливая. Дефлектор 14 шлачки. Плита 15 плотины выхода воды. Плита шумовки шлака
Упаковка и доставка

1. Водонепроницаемая упаковка с международным стандартом экспорта 20ft, 40ft, контейнер 40hp. Штуцеры оборудования, электрический двигатель и шкаф силы будут упакованы в деревянной коробке случая или утюга. Другое оборудование будет упаковано тканью Цвет-нашивок пластиковой.
2. Весь размер машинного оборудования завода большой как нормальный, поэтому мы будем использовать водоустойчивую ткань для того чтобы упаковать все них. Мотор, коробка передач или другие легко поврежденные части, мы положим их в коробку. Мы имеем профессиональный отдел отгрузки продукции, они попробуем их самое лучшее для сохранения вашего количества контейнера.
О нас
Размещенный в Исине, предварительный и красивый город провинции Цзянсу, Китая, CO. Longdai, Ltd поставщик обрабатывающего оборудования нефтехимической промышленности специализированный в экологических обрабатывая &integrating независимых научных исследованиях и разработки, дизайне, общем заключать контракт, производстве оборудования охраны окружающей среды, и уместной материальной поставке.
Главные продукты включают механические колосниковый грохот, прибор воздушной флотации, дозируя прибор, шабер грязи, стояк водяного охлаждения, графинчик, химический обсаливая прибор, гидравлический экран, разделитель воды песка, фильтр, транспортер, загустку, биологический фильтр, размякнутую воду, похороненное оборудование очистки сточных вод, etc.
вопросы и ответы:
Q: Вы торговая компания или изготовление?
: Мы оба изготовление и торговая компания. Мы имеем опыт сверх 30 лет профессиональный как предприятие изготовителя оборудования и инженерной службы обработки сточных водов.
Q: Как могу я найти соответствующая модель?
: Пожалуйста обеспечьте расход потока, содержание твердых тел и тип шуги, или непосредственный контакт мы нажимать на значок «контакта». Мы можем помочь вам в модельном выборе.
Q: Где ваша фабрика обнаружена местонахождение?
: Город Исина, мы в известном городе оборудования охраны окружающей среды, профессиональном для машины прессы винта шуги dewatering, которая очень близко к Шанхаю с только управлять более менее чем 3 часов. Добро пожаловать для вашего посещения.
Q: Сделайте вас обеспечьте обслуживание OEM?
: Да. Мы можем сделать подгонянный дизайн согласно вашему различному запросу для Dewatering шуги.
Q: Как о производственной мощности вашей компании?
: Наша фабрика покрывает зону сверх ² 15,000m и производит машины 2000 наборов в год.