ISO 5489-2008 Лестница для посадки на судно
Описание:
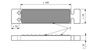
ISO5489-2008 Лестница для посадки на судно - это оборудование, используемое для посадки и высадки на судно.Все корабли оснащены множественным количеством того, что известно каклестница для посадкиЭто всего лишь складываемые лестницы, которые могут висеть на любой палубе (особенно на главной или открытой палубе) вдоль бока корпуса и позволяют человеку садиться и выходить на борт судна.Он также используется для экипажей, чтобы сесть на борт при якореЛегкий вес, удобный, широко используется для различных кораблей.
Основная техническая спецификация:
Испытание ISO5489-2008 "Лесочная лестница на борту судна"
| Испытание | Предмет, подлежащий испытанию | Процедура испытания | Критерии принятия |
| Визуальное обследование |
Полностью собранная лестница. | Сравните требования к конструкции, указанные в пункте 4, с чертежами производителя. | Лестница должна соответствовать требованиям конструкции, указанным в пункте 4, и быть изготовлена в соответствии с чертежами производителя. |
| Гибкость шага | шесть ступеней, которые должны включать по меньшей мере один из каждого различного типа, включая заменные ступени, если они отличаются от ступеней, используемых в первоначальной конструкции лестницы. | Поместите каждую ступеньку на пару опор, расположенных там, где боковые канаты обычно проходят через ступеньку.Применить статическую нагрузку равномерно в течение не менее 1 минуты на 100 мм широкой зоне контакта в центре ступени. Нагрузка должна быть 3,0 кН | Уклонение в центре ступени не должно превышать 25 мм при нагрузке После снятия нагрузки и восстановления ступени не должно быть остаточного отклонения. |
| Степ-фриктон | Каждый шаг отличается строительный материал и Проектирование поверхности ступеней Построена одна эталонная ступень из чистого дуба шириной 115 мн и длиной 480 мм Поверхность ступени должна иметь: Раздача 3 мм в ширину и 3 мм в глубину и 15 мм друг от друга; канавки должны проходить параллельно друг другу и параллельно длинному краю ступени Один металлический крюк массой от 1,5 до 3,0 кг Металлический блок должен иметь плоскую поверхность шириной не более 100 мм и длиной 135 мм. На плоской поверхности должен быть прикреплен кожаный или композиционный материал для подошвы обуви. |
Установка этапа отсчета в уровне Положите металлический блок в центре поверхности ступени эталонной ступени,и с более длинным краем металлического блока проходит через эталонный шаг по обеим краям Медленно поднять один край шага с металлическим блоком на немИзмерить угол, при котором блок начинает скользить. Повторить процедуру с стандартным этапом отсчета и блоком под водой. Процедуру повторяют как в сухом, так и в мокром состоянии, используя разные ступени лестницы. |
Угол, в котором блок Начинается слайд на сухом и ступени на мокрой лестнице для посадки должна быть больше или равна соответствующие углы, измеренные для стандартного этапа отсчета. |
| Поверхность ступени долговечность |
Каждый шаг отличается строительный материал и конструкция поверхности ступеней. Металлический блок типа, описанного в испытании на трение по ступеням, расположенный таким образом, чтобы на него могла быть нанесена вертикальная нагрузка 380 N при скольжении вперед и назад по испытываемой ступеньке |
Закрепите ступени в горизонтальном положении с загруженным блоком, опирающимся на него.в общей сложности 1500 циклов. Повторить испытание трения шага на изношенном шаге в сухом и влажном состоянии, убедившись, что скользящий блок полностью опирается на изношенную поверхность ступени |
Угол, в котором блок начинает скользить по сухому и ступени на мокрой лестнице для посадки должна быть больше или равна соответствующий угол измеряется по стандарту эталонный шаг. |
| Лестница и ступень присоединение прочность |
Изделие для изготовления пластмасс Наиболее длинная длина, которая должна быть одобрена |
Подвесить лестницу вертикально, висящей на всю длину, или расставить лестницу на всю длину на горизонтальной поверхности, при этом верхний конец лестницы должен быть закреплен собственными приспособлениями;Применить статическую нагрузку 8.8 Kn широко распределяется по нижней ступеньке в течение не менее 1 мин., так что нагрузка равномерно накладывается между боковыми веревками через крепежные фитинги.Повторить процедуру в пять разных шагов, за исключением того, что лестница не должна висеть по всей длине и только на испытываемой ступени,его боковые верёвки и боковые верёвки непосредственно над ступенчатыми фитингами должны подвергаться нагрузке | Шаги не должны ломаться или трескаться. Крепления между любой ступенью и ни одна из верёвок не ослабевает. или разорвать Боковые канаты не должны поддерживать наблюдаемые повреждения, удлинение или деформация, которая остается после удаления испытательных нагрузок |
| Развертывание | Полностью смонтированная лестница самой длинной, которая должна быть одобрена | Прикрепите закрученные лестничные крепления в место, отдалённое от любой стены или конструкции, которая не позволит свободно падать, и где они могут висеть вертикально.Позвольте лестнице свободно разворачиваться. | Шаги и приспособления должны: Не треснуло, сломалось, расслабилось. Лестница не должна быть повреждена таким образом, чтобы использовать ее было небезопасно. |

Подробности ISO5489-2008 "Лесочная лестница для посадки судна"

Продукты ISO5489-2008 "Лесочная лестница для посадки судна"

Часто задаваемые вопросы
Q0: Вы завод или торговая компания?
A0: Мы являемся профессиональным производителем синтетической веревки, веревочной сети, веревочных лестниц и т. Д. Мы также торгуем стальной проволокой и т. Д.
Q1: Каковы ваши условия упаковки?
A1: Мы используем синтетические пакеты для упаковки. Мы можем упаковать товары в вашем бренде после вашего одобрения.
Q2: Каковы ваши условия оплаты?
A2: T/T и LC.
Q3: Каковы ваши условия доставки?
A3: EXW, FOB, CFR, CIF, DDU.
Вопрос 4: Как насчет вашего срока доставки?
A4: Как правило, это займет от 1 до 7 дней после получения оплаты. Конкретное время доставки зависит от продукции и количества.
Q5: Вы можете производить по образцам?
A5: Да, мы можем производить как ваши образцы или чертежи.
Q6: Какова ваша политика в отношении образцов?
A6: Мы можем предоставить образец, он доступен на складе, в то время как курьерская стоимость и стоимость образца (зависит) должны быть покрыты покупателем. Он будет возвращен для следующего заказа.
Q7: Вы тестируете все свои товары перед доставкой?
A7: Мы тестируем наши готовые продукты и сырье в ваннах и по требованию третьей стороны в каждом конкретном случае