Поляк ET753070-P установил на открытом воздухе шкаф телекоммуникаций широко использован в базовой станции беспроводной связи, как система 4G, сообщение/комплексное обслуживание сети, переключение доступа/передачи станция, аварийное сообщение/передача, etc.
Соответствующий для на открытом воздухе окружающей среды, как обочина, парк, удаленная горная область, крыша здания. Шкаф может установить оборудование базовой станции, силовое оборудование, батарею, оборудование контроля температуры, оборудование для передачи и другой соответствуя космос оборудования или запаса и емкость теплообмена для вышеуказанных оборудований, могут обеспечить надежное механическое и охрану окружающей среды для нормального функционирования внутреннего оборудования.
2,1 шкаф пылезащитн, sunproof и rainproof, который использовано в на открытом воздухе окружающей среде.
2,2 план шкафа разумен, который облегчит доступ кабеля, фиксируя и заземляя. Отверстия входа индивидуально для силового кабеля, кабеля сигнала и оптического кабеля.
2,3 все кабели используемые в шкафе сделаны из пламени - retardant материалов.
2,4 идеальная защита
●Интегрированная обложка, хорошее уплотнение, доказательство воды
●Ранг защиты: NEMA 4X
●Высокая стабильность, анти--УЛЬТРАФИОЛЕТОВАЯ радиация
●Анти--корозия
2,5 доказательство похищения
●Внутри установки, внутри отладки, отсутствие наружных винтов
●замок пункта Анти--похищения 3
●Внутренние шарниры двери, множественная защита
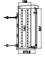
3. Чертеж размера
Размер шкафа внешний: 750×300×700mm (W×D×H),
Размер шкафа внутренний: 600×250×600mm (W×D×H)




| Деталь | Тип | Технический параметр |
| Структура | Размер |
Внешний размер: W×D×H 750×300×700mm |
| План | Один отсек | |
| Метод установки оборудования | 19" стандартный рельс | |
| Дверь | С одним парадным входом, и замком пункта анти--похищения 3 для на открытом воздухе шкафа (padlock поддержки) | |
| Материал | SPCC гальванизировало стальное | |
| Структура | Собранный | |
| Предохранение от входа | NEMA 4X | |
| Контроль температуры | Охлаждать | Вентилятор |
| Температура | Температура | Работая температура: -20°C | 55°C |
| Температура хранения: -40°C | + 70°C | ||
| Температура перехода: -50°C | +70°C | ||
| Влажность | Относительная влажность | 5% | 100% |
| Давление | Воздушное давление | 62kpa | 101kpa (подобное до 0m | высота 5000m) |
| Интенсивность радиации | Интенсивность солнечного излучения | × 1124 (1±5%) W/m2 |
(2) аксессуары перечисляют
| Нет. | Деталь | Количество | Блок | Спецификации |
| 1 | На открытом воздухе шкаф установленный поляком | 1 | Установите |
(1) внешний размер: |
| 2 | Вентилятор | 2 | Установите | AC110V, 60Hz; на двери |
| 3 | Пакет | 1 | Установите | Деревянный случай |
5. Диаграмм-поляк метода установки установил 
6. План шкафа



