Собрание клапана ASSY-MSN выдыхания GE первоначальное дыхательное, Аксессуар-мамы ASSY КЛАПАНА EXH 1505-8568-000
Откалибрируйте клапан выдыхания
1. Неспособный для того чтобы достигнуть давления 34 cmH2O
Тест показывает недостаток без показа предупредительного сообщения.
• Убеждайтесь что поставка газа соединена.
• Определите утечки, утечки ремонта. и повторите проверку
2. Если тесты клапана сброса и выдыхания давления терпят неудачу и норма утечки чем 2000, то самая правоподобная проблема в том, что датчик Pexp нет нул:
• Не будет использовать приложение обслуживания для того чтобы заполнить 34 cmH2O до стабилизации. Выдыхание или предохранительный клапан после этого использованы для того чтобы сбросить давление. Значение Pexp должно возвратить в меньше чем 2 внутри госпожа 250.
Если не, re-центр и дубликат или заменить датчик Pexp.
3. Если этот тест терпит неудачу:, то
A. Используйте приложение обслуживания для проверки что расход потока произведенный FCV по крайней мере 3 Л/МИН. В противном случае:
• Тарировка FCV.
• Изменение FCV.
B. Извлекать датчик воздушного потока выхлопного воздуха.
• Если проверено замените дыхательный датчик подачи.
C. Извлекать собрание клапана выдыхания. Убеждайтесь что ядр катушки голоса чисто и сухо. Двиньте свободно и без ограничений.
D. Замена собрание клапана выдыхания.
E. Замена модуль катушки голоса.
Если эта проверка терпит неудачу, то все режимы вентиляции все еще будут доступны.
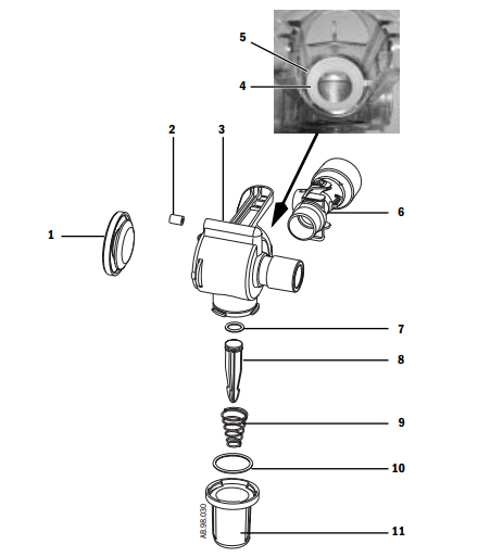
Собрание клапана выдыхания

| Деталь | Описание | Номер детали |
|
Собрание клапана выдыхания (с датчиком подачи)
|
1505-3848-000 | |
| Собрание клапана выдыхания (без датчика подачи) | 1505-8568-000 | |
| 1 | Диафрагма | 1505-3224-000 |
| 2 | Уплотнение | 1505-3223-000 |
| 3 | Снабжение жилищем | 1505-3222-000 |
| 4 | Уплотнение | 1505-3257-000 |
| 5 | Кольцо сохранения | 1505-3039-000 |
| 6 | Датчик подачи (включает задерживающий клапан и экран) | 1505-3231-000 |
| 7 | Колцеобразное уплотнение | 1503-3056-000 |
| 8 | Плунжер | 1505-3245-000 |
| 9 | Весна | 1505-3013-000 |
| 10 | Колцеобразное уплотнение | 1505-3009-000 |
| 11 | Ловушка воды | 1505-3244-000 |
ПРЕДУПРЕЖДЕНИЕ: Когда вы следовать контрольными измерениями безопасности и инфекции,
Сбросьте ловушки воды. Могут быть риск инфекции.
Извлечь собрание клапана выдыхания:
1. Отключите датчик подачи выдыхания от клапана выдыхания
часть.
2. Отожмите защелку как показано ниже и извлеките собрание клапана выдыхания вентилятора.
важный
Не извлеките собрание клапана выдыхания без сперва отжимать защелку отпуска. она может повредить случай
3. Извлеките сифон и стеките его. Уверен держать чашку к колцеобразному уплотнению.
4. Поднимите губу диафрагмы и извлеките ее из корпуса клапана выдыхания. Уверен сохранить буфер.
5. Перед собирать или использованием собрание клапана выдыхания, следовать этими шагами:
• Проверите для отказов, обесцвечивания, или другого повреждения
• Замените несенные части
• Выполните проверки системы
Соединяющ и извлекающ корпус клапана выдыхания
Корпус клапана выдыхания содержит датчик подачи выдыхания и коллектор воды.
1. Для установки крышки, введите крышку нашивает (2) в слоты (1), после этого пресса крышка в место.
• Вы услышите щелчок, тогда вытягиваете нежно на крышке для того чтобы убеждаться что оно щелкает в место.

2. Для того чтобы извлечь крышку, отожмите защелку для того чтобы выпустить крышку клапана выдыхания, тогда извлеките крышку вентилятора.

3. Вывинтите сифон для того чтобы извлечь его из снабжения жилищем для опорожнять или очищать.

Если вы заинтересованы в собрании клапана ASSY-MSN выдыхания GE 1505-8568-000 первоначальном дыхательном, то Аксессуар-мамы ASSY КЛАПАНА EXH, чувствуют свободными связаться мы. Спасибо.